TOP
|
特許
|
意匠
|
商標
特許ウォッチ
Twitter
他の特許を見る
10個以上の画像は省略されています。
公開番号
2025141359
公報種別
公開特許公報(A)
公開日
2025-09-29
出願番号
2024041254
出願日
2024-03-15
発明の名称
作業車両
出願人
株式会社クボタ
代理人
安田岡本弁理士法人
主分類
B60W
10/00 20060101AFI20250919BHJP(車両一般)
要約
【課題】作業車両の状態を適切に把握できること。
【解決手段】作業車両は、車両の状態を示す状態情報を表示する表示装置を備え、表示装置は、車両の形状と、状態情報と、を重畳して表示する。表示装置は、車両に含まれる機器の図形を表示し、且つ表示した機器の位置に、当該機器の状態を示す状態情報を重畳して表示する。
【選択図】図5
特許請求の範囲
【請求項1】
車両の状態を示す状態情報を表示する表示装置を備えている作業車両において、
前記表示装置は、前記車両の形状と、前記状態情報と、を重畳して表示する作業車両。
続きを表示(約 1,200 文字)
【請求項2】
前記表示装置は、前記車両に含まれる機器の図形を表示し、且つ表示した前記機器の位置に、当該機器の状態を示す状態情報を重畳して表示する請求項1に記載の作業車両。
【請求項3】
前記機器は、ガスを収容するタンクと、前記タンクからガスを供給される燃料電池と、前記燃料電池が発電した電力によって駆動する電動モータと、前記燃料電池が発電した電力を蓄電する蓄電装置の少なくとも一つである請求項2に記載の作業車両。
【請求項4】
前記車両の上部に配置され且つ、ガスを収容するタンクと、
前記タンクからガスを供給される燃料電池と、
を備え、
前記表示装置は、前記車両の形状を示す図形を表示し、且つ前記表示した図形において前記タンクが配置された位置に当該タンクを表示し、
前記タンクが表示された位置に、当該前記タンクの状態情報を表示する請求項1に記載の作業車両。
【請求項5】
ガスを収容するタンクと、
前記車両の前部に配置され且つ、前記タンクからガスを供給される燃料電池と、
を備え、
前記表示装置は、前記車両の形状を示す図形を表示し、且つ前記表示した図形において前記燃料電池が配置された位置に当該燃料電池を表示し、
前記燃料電池が表示された位置に、当該前記燃料電池の状態情報を表示する請求項1に記載の作業車両。
【請求項6】
燃料電池が発電した電力によって駆動する電動モータを備え、
前記表示装置は、前記車両の形状を示す図形を表示し、且つ前記表示した図形において前記電動モータが配置された位置に当該電動モータを表示し、
前記電動モータが表示された位置に、当該前記電動モータの状態情報を表示する請求項1に記載の作業車両。
【請求項7】
前記車両の形状は、二次元又は三次元で表される請求項1~6のいずれか1項に記載の作業車両。
【請求項8】
前記車両の傾斜角度を検出する傾斜角センサを備え、
前記表示装置は、前記車両の形状及び前記状態情報とともに、前記傾斜角センサが検出した前記傾斜角度に応じて回転する姿勢表示部を表示する請求項1に記載の作業車両。
【請求項9】
燃料電池と、
前記燃料電池が発電した電力によって駆動する電動モータと、
前記燃料電池が発電した電力を蓄電し且つ前記電動モータに電力を供給可能な蓄電装置と、
前記燃料電池が発電した第1電力と、前記蓄電装置に関する第2電力とを同一単位で表示する表示装置と、を備えている作業車両。
【請求項10】
前記表示装置は、前記電動モータの出力を前記同一単位で表示する請求項9に記載の作業車両。
(【請求項11】以降は省略されています)
発明の詳細な説明
【技術分野】
【0001】
本発明は、燃料電池を備える作業車両に関する。
続きを表示(約 1,100 文字)
【背景技術】
【0002】
例えば特許文献1には、燃料電池を備える作業機が開示されている。この作業機は、燃料電池と、駆動モータと、燃料電池の余剰電気を蓄積し且つ電動モータに電力を供給するバッテリとを備えている。
【先行技術文献】
【特許文献】
【0003】
特開2023-13186号公報
【発明の概要】
【発明が解決しようとする課題】
【0004】
しかしながら、特許文献1の発明では、燃料電池等で駆動する作業機の構成は開示されているが、作業機の状態を表示する構成は含まれていない。
【0005】
本発明は、このような従来技術の問題点を解決すべくなされたものであって、車両の状態を適切に把握できる作業車両の提供を目的とする。
【課題を解決するための手段】
【0006】
本発明の一態様に係る作業車両は、車両の状態を示す状態情報を表示する表示装置を備えている作業車両において、表示装置は、車両の形状と、前記状態情報と、を重畳して表示する。
【0007】
本発明の一態様に係る作業車両は、燃料電池と、燃料電池が発電した電力によって駆動する電動モータと、燃料電池が発電した電力を蓄電し且つ電動モータに電力を供給可能な蓄電装置と、燃料電池が発電した第1電力と、蓄電装置に関する第2電力とを同一単位で表示する表示装置と、を備えている。
【発明の効果】
【0008】
本発明によれば、作業者は、車両の状態を適切に把握できる。
【図面の簡単な説明】
【0009】
作業車両の全体側面図である。
作業車両の構成の概要を示すブロック図である。
起動画面の一例を示す図である。
主表示画面の一例を示す図である。
第1詳細表示画面の一例を示す図である。
管理画面の一例を示す図である。
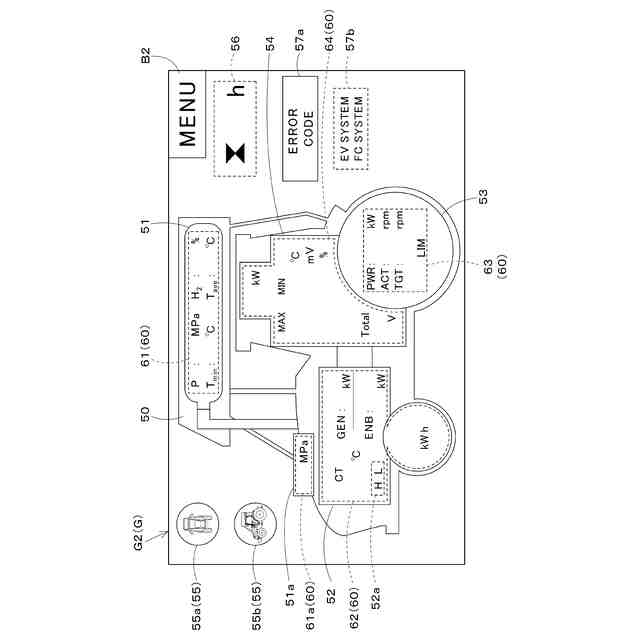
メニュー画面の一例を示す図である。
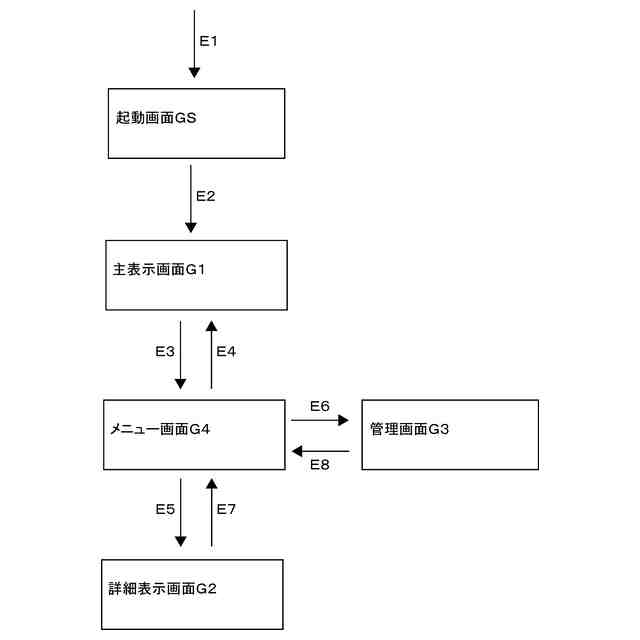
表示装置の画面遷移図である。
第1姿勢図形の表示の一例を示す図である。
第2姿勢図形の表示の一例を示す図である。
経路図形の表示の一例を示す図である。
経路図形の表示の他例を示す図である。
経路図形の表示の他例を示す図である。
蓄電装置図形の表示の一例を示す図である。
第2詳細管理画面の一例を示す図である。
【発明を実施するための形態】
【0010】
以下、本発明の一実施形態に係る作業車両1について、図面を参照しながら説明する。
(【0011】以降は省略されています)
この特許をJ-PlatPat(特許庁公式サイト)で参照する
関連特許
株式会社クボタ
田植機
25日前
株式会社クボタ
作業車
4日前
株式会社クボタ
田植機
25日前
株式会社クボタ
作業車
25日前
株式会社クボタ
作業機
24日前
株式会社クボタ
田植機
28日前
株式会社クボタ
作業車
2日前
株式会社クボタ
作業車
24日前
株式会社クボタ
作業車
25日前
株式会社クボタ
作業機
14日前
株式会社クボタ
作業車
1か月前
株式会社クボタ
作業車
2日前
株式会社クボタ
作業車両
4日前
株式会社クボタ
作業車両
4日前
株式会社クボタケミックス
伸縮継手
1か月前
株式会社クボタ
作業車両
4日前
株式会社クボタ
作業車両
4日前
株式会社クボタ
作業車両
4日前
株式会社クボタ
作業車両
4日前
株式会社クボタ
作業車両
4日前
株式会社クボタ
作業車両
4日前
株式会社クボタ
作業車両
4日前
株式会社クボタ
圃場作業車
25日前
株式会社クボタ
圃場作業車
23日前
株式会社クボタ
サトウキビ収穫機
24日前
株式会社クボタ
サトウキビ収穫機
24日前
株式会社クボタ
サトウキビ収穫機
24日前
株式会社クボタ
サトウキビ収穫機
24日前
株式会社クボタ
サトウキビ収穫機
24日前
株式会社クボタ
サトウキビ収穫機
24日前
株式会社クボタ
サトウキビ収穫機
24日前
株式会社クボタ
サトウキビ収穫機
24日前
株式会社クボタ
サトウキビ収穫機
24日前
株式会社クボタ
サトウキビ収穫機
24日前
株式会社クボタ
サトウキビ収穫機
24日前
株式会社クボタ
操作機構及び作業車
25日前
続きを見る
他の特許を見る