TOP
|
特許
|
意匠
|
商標
特許ウォッチ
Twitter
他の特許を見る
10個以上の画像は省略されています。
公開番号
2025141356
公報種別
公開特許公報(A)
公開日
2025-09-29
出願番号
2024041251
出願日
2024-03-15
発明の名称
作業車両
出願人
株式会社クボタ
代理人
安田岡本弁理士法人
主分類
B60K
15/07 20060101AFI20250919BHJP(車両一般)
要約
【課題】 本発明は、煩雑な作業を行うことなく、タンクに接続された配管を接続装置に接続できる作業車両を提供する。
【解決手段】 本発明は、ガスを収容するタンクと、タンクに接続された配管と、ガス充填口を含み且つ、配管と接続可能な接続装置と、配管を接続装置に接続していない状態で、接続装置の位置を調整可能に支持する支持構造と、を備えている。
【選択図】図18
特許請求の範囲
【請求項1】
ガスを収容するタンクと、
前記タンクに接続された配管と、
ガス充填口を含み且つ、前記配管と接続可能な接続装置と、
前記配管を前記接続装置に接続していない状態で、前記接続装置の位置を調整可能に支持する支持構造と、
を備えている作業車両。
続きを表示(約 790 文字)
【請求項2】
前記支持構造は、前記配管に接続される方向と直交する方向で前記接続装置の位置を調整可能である請求項1に記載の作業車両。
【請求項3】
前記接続装置は、上下方向と直交する第1方向で前記配管に接続され、
前記支持構造は、前記上下方向、及び前記第1方向と直交する第2方向の少なくとも何れか一方で前記接続装置の位置を調整可能である請求項2に記載の作業車両。
【請求項4】
走行可能な車体を備え、
前記車体は、前記タンクを直接的又は間接的に支持し、
前記第1方向は、前記車体の前後方向と直交する幅方向であり、
前記第2方向は、前記車体の前後方向であり、
前記支持構造は、前記上下方向及び前記第2方向のそれぞれで前記接続装置の位置を調整可能である請求項2に記載の作業車両。
【請求項5】
前記タンクを支持するフレームを備え、
前記支持構造は、前記接続装置を前記フレームに固定する請求項4に記載の作業車両。
【請求項6】
前記配管は、前記フレームに沿って配置される請求項5に記載の作業車両。
【請求項7】
前記フレームは、前記車体に支持されている請求項5に記載の作業車両。
【請求項8】
前記車体を走行可能に支持する前輪及び後輪を備え、
前記フレームは、前記後輪の上方に配置される請求項5に記載の作業車両。
【請求項9】
前記支持構造は、締結部材と、当該締結部材によって前記接続装置及び前記フレームが締結されるベース部材と、を含み、前記接続装置、前記フレーム、及び前記ベース部材にうちの少なくとも二つの相対位置を変更することで、前記接続装置の位置を調整可能である請求項1~8のいずれか1項に記載の作業車両。
発明の詳細な説明
【技術分野】
【0001】
本発明は、燃料電池を備えた作業車両に関する。
続きを表示(約 2,700 文字)
【背景技術】
【0002】
従来から、トラクタ等の作業車両には、車体上に載置された燃料電池と、燃料電池で発電した電力で駆動する電動モータとを備えたものがある(例えば、特許文献1参照)。この種の作業車両は、燃料電池に供給するガスを収容するタンクと、タンクに接続された配管と、配管に接続される接続装置と、を備える。接続装置は、ガス充填口に供給された外部からのガスを、配管を介してタンク内に供給(補充)可能である。
【先行技術文献】
【特許文献】
【0003】
特開2023-13186号公報
【発明の概要】
【発明が解決しようとする課題】
【0004】
ところで、タンクに収容される高圧ガスであるため、タンクに接続される配管には、耐圧性の高い剛性のある配管が採用される。これに伴い、配管が所定の経路上に配策された状態において、接続装置に接続される配管の端部の位置を容易に変更することができない。そのため、作業車両の製造時やメンテナンス時に接続装置を組み込む際、配策された配管の端部と接続装置の配管接続部位とが位置ずれすると、接続装置と配管との接続作業(位置合わせする作業)が煩雑になる。
【0005】
そこで、本発明は、煩雑な作業を行うことなく、タンクに接続された配管を接続装置に接続できる作業車両を提供する。
【課題を解決するための手段】
【0006】
本発明の作業車両は、ガスを収容するタンクと、前記タンクに接続された配管と、ガス充填口を含み且つ、前記配管と接続可能な接続装置と、前記配管を前記接続装置に接続していない状態で、前記接続装置の位置を調整可能に支持する支持構造と、を備えている。
【発明の効果】
【0007】
本発明は、煩雑な作業を行うことなく、タンクに接続された配管を接続装置に接続できる。
【図面の簡単な説明】
【0008】
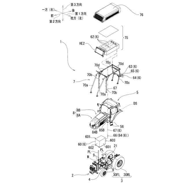
図1は、本発明の一実施形態に係る作業車両の全体斜視図である。
図2は、同実施形態に係る作業車両の正面図である。
図3は、同実施形態に係る作業車両の背面図である。
図4は、同実施形態に係る作業車両の一側面(右側面)図である。
図5は、同実施形態に係る作業車両の他側面(左側面)図である。
図6は、同実施形態に係る作業車両の分解斜視図である。
図7は、同実施形態に係る作業車両の車体とその周辺機器を含む平面図である。
図8は、同実施形態に係る作業車両の電気系統の概略ブロック図である。
図9は、同実施形態に係る作業車両の一部を分解した分解斜視図である。
図10は、図5のX-X断面図である。
図11は、同実施形態に係る作業車両の一部の分解斜視図である。
図12は、同実施形態に係る作業車両のボンネットを取り外した状態の一側面(右側面)図である。
図13は、同実施形態に係る作業車両のボンネットを取り外した状態の他側面(左側面)図である。
図14は、同実施形態に係る作業車両のタンクの斜視図である。
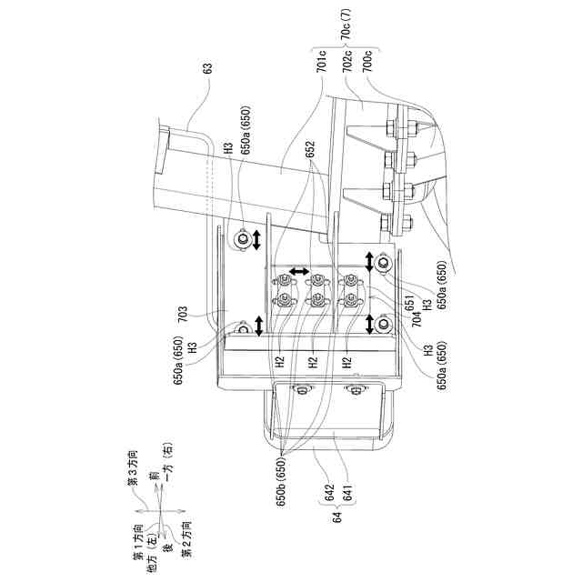
図15は、同実施形態に係る作業車両の接続装置とタンクとに繋がる配管の配置に関する説明図であって、フレームを中心とした部分拡大側面図である。
図16は、同実施形態に係る作業車両の接続装置及び支持構造の分解斜視図である。
図17は、同実施形態に係る作業車両の接続装置及び支持構造の部分断面を含む斜視図である。
図18は、同実施形態に係る作業車両の接続装置及び支持構造の背面側から見た斜視図である。
図19は、同実施形態に係る作業車両の減圧部周辺の部分斜視図であって、図13のXIX部の拡大斜視図である。
図20は、同実施形態に係る作業車両の減圧部の概略図である。
図21は、同実施形態に係る作業車両のタンクを支持するフレームの斜視図である。
図22は、同実施形態に係る作業車両の第1ボンネットを開放した状態の斜視図である。
図23は、同実施形態に係る作業車両のフレームと車体とを分解するとともに、第2ボンネットを構成するパーツ(部材)を分解した状態の斜視図である。
図24は、同実施形態に係る作業車両の第2ボンネット周辺の斜視図であって、第2ボンネットを構成するパーツ(部材)を分解した状態の左斜め上方から見た斜視図である。
図25は、同実施形態に係る作業車両の第2ボンネット周辺の斜視図であって、第2ボンネットを構成するパーツ(部材)を分解した状態の右斜め上方から見た斜視図である。
図26は、同実施形態に係る作業車両の燃料電池及び支持フレームを中心とした斜視図であって、左斜め上方から見た斜視図である。
図27は、同実施形態に係る作業車両の燃料電池及び支持フレームを中心とした斜視図であって、右斜め上方から見た斜視図である。
図28は、同実施形態に係る作業車両のボンネット、燃料電池及び支持フレームの配置を説明するため概略断面図であって、図5のXXVIII-XXVIII断面図である。
図29は、同実施形態に係る作業車両のボンネットと支持フレームの配置を説明するため部分拡大概要図であって、ボンネット周辺の部分のを中心とした部分拡大図である。
図30は、本発明の他実施形態に係る作業車両の背面図である。
【発明を実施するための形態】
【0009】
以下、本発明の一実施形態に係る作業車両について、図面を参照しつつ説明する。なお、以下の説明において、作業車両の直進方向(前進・後退する方向)及び上下方向と直交する方向(車幅方向)を第1方向ということとし、作業車両1の直進方向(前進・後退する方向:前後方向)を第2方向ということとする。また、第2方向において、作業車両の前進側を前方といい、作業車両の後退側を後方ということする。これらの定義に併せ、上下方向を第3方向ということとする。
【0010】
図1~図5に示すように、本実施形態の作業車両1は、農作業の目的や用途に応じた作業装置を連結して使用するトラクタである。作業車両1は、走行可能な車体2を備える。具体的には、作業車両1は、車体2と、車体2を走行可能に支持する走行装置3と、を備える。作業車両1は、走行装置3を操舵するステアリング装置4を備える。
(【0011】以降は省略されています)
この特許をJ-PlatPat(特許庁公式サイト)で参照する
関連特許
株式会社クボタ
作業車
4日前
株式会社クボタ
作業車
6日前
株式会社クボタ
作業車
27日前
株式会社クボタ
田植機
27日前
株式会社クボタ
田植機
27日前
株式会社クボタ
作業車
27日前
株式会社クボタ
田植機
1か月前
株式会社クボタ
作業車
1か月前
株式会社クボタ
作業車
26日前
株式会社クボタ
作業機
16日前
株式会社クボタ
作業機
1か月前
株式会社クボタ
作業機
26日前
株式会社クボタ
作業車
1か月前
株式会社クボタ
作業車
4日前
株式会社クボタ
作業車両
6日前
株式会社クボタ
作業車両
6日前
株式会社クボタ
トラクタ
1か月前
株式会社クボタ
作業車両
6日前
株式会社クボタ
作業車両
6日前
株式会社クボタ
作業車両
6日前
株式会社クボタ
トラクタ
1か月前
株式会社クボタケミックス
伸縮継手
1か月前
株式会社クボタ
作業車両
6日前
株式会社クボタ
作業車両
6日前
株式会社クボタ
作業車両
6日前
株式会社クボタ
作業車両
6日前
株式会社クボタ
圃場作業機
1か月前
株式会社クボタ
圃場作業車
25日前
株式会社クボタ
圃場作業車
27日前
株式会社クボタ
サトウキビ収穫機
26日前
株式会社クボタ
サトウキビ収穫機
26日前
株式会社クボタ
サトウキビ収穫機
26日前
株式会社クボタ
サトウキビ収穫機
26日前
株式会社クボタ
サトウキビ収穫機
26日前
株式会社クボタ
サトウキビ収穫機
26日前
株式会社クボタ
サトウキビ収穫機
26日前
続きを見る
他の特許を見る