TOP
|
特許
|
意匠
|
商標
特許ウォッチ
Twitter
他の特許を見る
10個以上の画像は省略されています。
公開番号
2025142629
公報種別
公開特許公報(A)
公開日
2025-10-01
出願番号
2024042091
出願日
2024-03-18
発明の名称
評価装置、および評価方法
出願人
株式会社バルカー
代理人
弁理士法人深見特許事務所
主分類
G01N
21/95 20060101AFI20250924BHJP(測定;試験)
要約
【課題】フランジ面に形成されたリングジョイント溝の状態に応じて、当該リングジョイント溝の修繕の要否を判断することが可能な評価装置を提供する。
【解決手段】評価装置は、リングジョイント型のフランジの第1の三次元形状データを取得する取得部と、第1の三次元形状データに基づいて、フランジのフランジ面に形成されたリングジョイント溝の状態を評価する評価部とを備える。評価部は、リングジョイント溝の形状に関する複数の第1形状パラメータを測定する形状測定部と、リングジョイント溝の対象領域に生じた傷を検出する検出部と、リングジョイントガスケットが接触するリングジョイント溝の第1接触面の第1歪み量を測定する歪み量測定部と、複数の第1形状パラメータ、傷および第1歪み量のうちの少なくとも1つに基づいて、リングジョイント溝の修繕の要否を判断する判断部とを含む。
【選択図】図19
特許請求の範囲
【請求項1】
リングジョイント型のフランジの第1の三次元形状データを取得する取得部と、
前記第1の三次元形状データに基づいて、前記フランジのフランジ面に形成されたリングジョイント溝の状態を評価する評価部とを備え、
前記評価部は、
前記リングジョイント溝の形状に関する複数の第1形状パラメータを測定する形状測定部と、
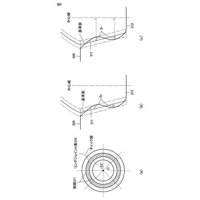
前記リングジョイント溝の対象領域に生じた傷を検出する検出部と、
リングジョイントガスケットが接触する前記リングジョイント溝の第1接触面の第1歪み量を測定する歪み量測定部と、
前記複数の第1形状パラメータ、前記傷および前記第1歪み量のうちの少なくとも1つに基づいて、前記リングジョイント溝の修繕の要否を判断する判断部とを含む、評価装置。
続きを表示(約 1,400 文字)
【請求項2】
前記複数の第1形状パラメータのうちの少なくとも1つが基準範囲外である場合、前記傷の長さが第1の長さ以上である場合、前記第1歪み量が第1閾値以上である場合、または前記傷の長さが前記第1の長さ未満であってかつ前記傷の深さが第1の深さ以上である場合、前記判断部は、前記リングジョイント溝が修繕を要する状態であると判断する、請求項1に記載の評価装置。
【請求項3】
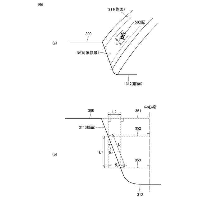
前記複数の第1形状パラメータは、前記リングジョイント溝の中心を示す中心線と前記第1接触面とのなす角度と、前記リングジョイント溝の幅および深さとを含む、請求項2に記載の評価装置。
【請求項4】
前記判断部の判断結果に基づいて、ユーザへのアドバイス情報を出力する出力制御部をさらに備え、
前記出力制御部は、前記リングジョイント溝が修繕を要する状態であるとの判断結果に基づいて、前記リングジョイント溝の切削または研磨を推奨する情報を前記アドバイス情報として出力する、請求項2または3に記載の評価装置。
【請求項5】
前記検出部は、前記対象領域において互いに近接する第1の傷および第2の傷を検出した場合、前記第1の傷および前記第2の傷を1つの傷として統合する、請求項1~3のいずれか1項に記載の評価装置。
【請求項6】
前記歪み量測定部は、前記フランジの径方向および周方向について、前記第1歪み量を測定する、請求項1~3のいずれか1項に記載の評価装置。
【請求項7】
前記対象領域は、前記リングジョイント溝の前記第1接触面における所定領域、または前記第1接触面の全領域である、請求項1~3のいずれか1項に記載の評価装置。
【請求項8】
前記取得部は、前記リングジョイントガスケットの第2の三次元形状データをさらに取得し、
前記評価部は、前記第2の三次元形状データに基づいて、前記リングジョイントガスケットの状態をさらに評価し、
前記形状測定部は、前記リングジョイントガスケットの形状に関する複数の第2形状パラメータをさらに測定し、
前記検出部は、前記リングジョイント溝が接触する前記リングジョイントガスケットの第2接触面の傷をさらに検出し、
前記歪み量測定部は、前記第2接触面の第2歪み量をさらに測定し、
前記判断部は、前記複数の第2形状パラメータ、前記第2接触面の傷および前記第2歪み量のうちの少なくとも1つに基づいて、前記リングジョイントガスケットの交換の要否をさらに判断する、請求項1~3のいずれか1項に記載の評価装置。
【請求項9】
前記複数の第2形状パラメータのうちの少なくとも1つが基準範囲外である場合、前記第2接触面の傷の長さが第2の長さ以上である場合、前記第2歪み量が第2閾値以上である場合、または前記第2接触面の傷の長さが前記第2の長さ未満であってかつ前記第2接触面の傷の深さが第2の深さ以上である場合、前記判断部は、前記リングジョイントガスケットの交換が必要であると判断する、請求項8に記載の評価装置。
【請求項10】
前記複数の第2形状パラメータは、前記リングジョイントガスケットの中心径、高さおよび幅を含む、請求項9に記載の評価装置。
(【請求項11】以降は省略されています)
発明の詳細な説明
【技術分野】
【0001】
本開示は、評価装置、および評価方法に関する。
続きを表示(約 1,600 文字)
【背景技術】
【0002】
従来、携帯型の非接触三次元座標測定装置を利用してフランジの歪みを測定する技術が知られている。例えば、特開2017-227459号公報(特許文献1)は、フランジ面の歪み測定において、測定に必要なスペースが少なく、振動が発生している現場においても測定精度が落ちることなく、うねりのデータだけでなくフランジ面の傾きのデータも測定する技術を開示している。
【先行技術文献】
【特許文献】
【0003】
特開2017-227459号公報
【発明の概要】
【発明が解決しようとする課題】
【0004】
フランジ部からの流体の漏れの原因の一つとしては、配管のつなぎ目に用いられるガスケットの劣化や損傷などが考えられるため、定期的に作業者はガスケットを交換する。このとき、作業者は、フランジのフランジ面の状態を目視や触診により確認し、フランジ面に修繕が必要と判断した場合には適切な作業(例えば、研磨等)を実施する。例えば、リングジョイントガスケットが用いられるリングジョイント型のフランジにおいて、リングジョイント溝が形成されたフランジ面の状態の確認および修繕の要否の判断は、作業者の技術的知識および経験に依存しており、人によってばらつきがあるという問題がある。また、知識や経験が乏しい作業者がフランジ面(リングジョイント溝)を確認しても、上記修繕の要否を判断できない場合も多い。
【0005】
本開示のある局面における目的は、フランジ面に形成されたリングジョイント溝の状態に応じて、当該リングジョイント溝の修繕の要否を判断することが可能な評価装置、および評価方法を提供することである。
【課題を解決するための手段】
【0006】
ある実施の形態に従う評価装置は、リングジョイント型のフランジの第1の三次元形状データを取得する取得部と、第1の三次元形状データに基づいて、フランジのフランジ面に形成されたリングジョイント溝の状態を評価する評価部とを備える。評価部は、リングジョイント溝の形状に関する複数の第1形状パラメータを測定する形状測定部と、リングジョイント溝の対象領域に生じた傷を検出する検出部と、リングジョイントガスケットが接触するリングジョイント溝の第1接触面の第1歪み量を測定する歪み量測定部と、複数の第1形状パラメータ、傷および第1歪み量のうちの少なくとも1つに基づいて、リングジョイント溝の修繕の要否を判断する判断部とを含む。
【0007】
好ましくは、複数の第1形状パラメータのうちの少なくとも1つが基準範囲外である場合、傷の長さが第1の長さ以上である場合、第1歪み量が第1閾値以上である場合、または傷の長さが第1の長さ未満であってかつ傷の深さが第1の深さ以上である場合、判断部は、リングジョイント溝が修繕を要する状態であると判断する。
【0008】
好ましくは、複数の第1形状パラメータは、リングジョイント溝の中心を示す中心線と第1接触面とのなす角度と、リングジョイント溝の幅および深さとを含む。
【0009】
好ましくは、評価装置は、判断部の判断結果に基づいて、ユーザへのアドバイス情報を出力する出力制御部をさらに備える。出力制御部は、リングジョイント溝が修繕を要する状態であるとの判断結果に基づいて、リングジョイント溝の切削または研磨を推奨する情報をアドバイス情報として出力する。
【0010】
好ましくは、検出部は、対象領域において互いに近接する第1の傷および第2の傷を検出した場合、第1の傷および第2の傷を1つの傷として統合する。
(【0011】以降は省略されています)
この特許をJ-PlatPat(特許庁公式サイト)で参照する
関連特許
株式会社バルカー
解析装置
19日前
株式会社バルカー
グランドパッキン
1日前
株式会社バルカー
シートガスケット
9日前
株式会社バルカー
評価装置、および評価方法
7日前
株式会社バルカー
解析システム、および解析方法
5日前
株式会社バルカー
ピペットチップ及びそれを用いる濃縮液の製造方法
19日前
個人
メジャー文具
1日前
日本精機株式会社
位置検出装置
7日前
日本精機株式会社
位置検出装置
7日前
日本精機株式会社
位置検出装置
7日前
ユニパルス株式会社
ロードセル
今日
大和製衡株式会社
組合せ秤
12日前
大和製衡株式会社
組合せ秤
12日前
アズビル株式会社
圧力センサ
6日前
株式会社チノー
放射光測温装置
今日
トヨタ自動車株式会社
検査装置
9日前
株式会社東芝
センサ
12日前
株式会社ユーシン
操作検出装置
9日前
株式会社東芝
センサ
12日前
エイブリック株式会社
磁気センサ回路
6日前
株式会社ヨコオ
ソケット
今日
東レエンジニアリング株式会社
計量装置
9日前
株式会社東芝
重量測定装置
5日前
TDK株式会社
ガスセンサ
6日前
TDK株式会社
ガスセンサ
今日
TDK株式会社
ガスセンサ
5日前
三菱マテリアル株式会社
温度センサ
1日前
TDK株式会社
電磁波センサ
今日
株式会社熊谷組
RI計測装置
7日前
富士電機株式会社
エンコーダ
6日前
株式会社精工技研
光電界センサヘッド
6日前
日鉄テックスエンジ株式会社
聴音装置
今日
アンリツ株式会社
物品検査装置
9日前
住友電気工業株式会社
分析方法
1日前
アズビル株式会社
動粘度測定システム
7日前
アンリツ株式会社
物品検査装置
12日前
続きを見る
他の特許を見る