TOP
|
特許
|
意匠
|
商標
特許ウォッチ
Twitter
他の特許を見る
公開番号
2025142923
公報種別
公開特許公報(A)
公開日
2025-10-01
出願番号
2024042548
出願日
2024-03-18
発明の名称
回転電機
出願人
株式会社TMEIC
代理人
弁理士法人酒井国際特許事務所
主分類
H02K
1/32 20060101AFI20250924BHJP(電力の発電,変換,配電)
要約
【課題】風損を低下させることができる新規な構成の回転電機を得る。
【解決手段】回転電機1は、回転子12を備える。回転子12は、回転子鉄心31を有し、第1の回転方向R1に回転する。回転子鉄心31は、複数の筒状部50と、複数の間隔片55と、を有する。複数の間隔片55は、第1の回転方向R1側の面であって少なくとも一部が回転中心軸の径方向の外方に向かうにつれて第1の回転方向R1の反対方向に向かう案内面55cを有する。複数の間隔片55は、軸方向に隣り合う二つの筒状部50間で回転中心軸の周方向に互いに間隔をあけて設けられ、間隔片55に対して回転中心軸の径方向の内側に導入された気体を案内面55cによって径方向の外方に案内する。
【選択図】図4
特許請求の範囲
【請求項1】
固定子と、
一部が前記固定子の内側に位置し回転中心軸まわりに回転可能なシャフトと、前記固定子の内側に位置し前記シャフトに固定された回転子鉄心と、を有し、第1の回転方向に回転する回転子と、
を備え、
前記回転子鉄心は、
それぞれが前記回転中心軸まわりの筒状であり、前記回転中心軸の軸方向に間隔をあけて並べられた複数の筒状部と、
前記第1の回転方向側の面であって少なくとも一部が前記回転中心軸の径方向の外方に向かうにつれて前記第1の回転方向の反対方向に向かう案内面を有し、前記軸方向に隣り合う二つの前記筒状部間で前記回転中心軸の周方向に互いに間隔をあけて設けられ、前記案内面に対して前記回転中心軸の径方向の内側に導入された気体を前記案内面によって前記径方向の外方に案内する複数の案内部と、
を有した、
回転電機。
続きを表示(約 300 文字)
【請求項2】
前記案内面における前記回転中心軸の径方向の外方に向かうにつれて前記第1の回転方向の反対方向に向かう領域である傾斜面は、前記径方向に対して傾斜した平面であり、
前記案内部における前記傾斜面の裏面は、平面である、
請求項1に記載の回転電機。
【請求項3】
前記案内面における前記回転中心軸の径方向の外方に向かうにつれて前記第1の回転方向の反対方向に向かう領域である傾斜面は、前記径方向に対して傾斜した平面であり、
前記案内部における前記傾斜面の裏面は、前記傾斜面から離れる方向に凸状の曲面である、
請求項1に記載の回転電機。
発明の詳細な説明
【技術分野】
【0001】
本発明は、回転電機に関する。
続きを表示(約 1,300 文字)
【背景技術】
【0002】
従来、回転子鉄心に、冷却用気体を径方向の外側の固定子に向けて案内する案内部が設けられた回転電機がある。
【先行技術文献】
【特許文献】
【0003】
特開2016-220395号公報
【発明の概要】
【発明が解決しようとする課題】
【0004】
この種の回転電機では、案内部において風による機械損失である所謂風損は、回転電機の効率が低下する要因の一つである。
【0005】
本発明の課題の一つは、風損を低下させることができる新規な構成の回転電機を得ることである。
【課題を解決するための手段】
【0006】
本発明の実施形態の回転電機は、固定子と、一部が前記固定子の内側に位置し回転中心軸まわりに回転可能なシャフトと、前記固定子の内側に位置し前記シャフトに固定された回転子鉄心と、を有し、第1の回転方向に回転する回転子と、を備え、前記回転子鉄心は、それぞれが前記回転中心軸まわりの筒状であり、前記回転中心軸の軸方向に間隔をあけて並べられた複数の筒状部と、前記第1の回転方向側の面であって少なくとも一部が前記回転中心軸の径方向の外方に向かうにつれて前記第1の回転方向の反対方向に向かう案内面を有し、前記軸方向に隣り合う二つの前記筒状部間で前記回転中心軸の周方向に互いに間隔をあけて設けられ、前記案内面に対して前記回転中心軸の径方向の内側に導入された気体を前記案内面によって前記径方向の外方に案内する複数の案内部と、を有する。
【発明の効果】
【0007】
本発明の実施形態によれば、風損を低下させることができる新規な構成の回転電機を得ることができる。
【図面の簡単な説明】
【0008】
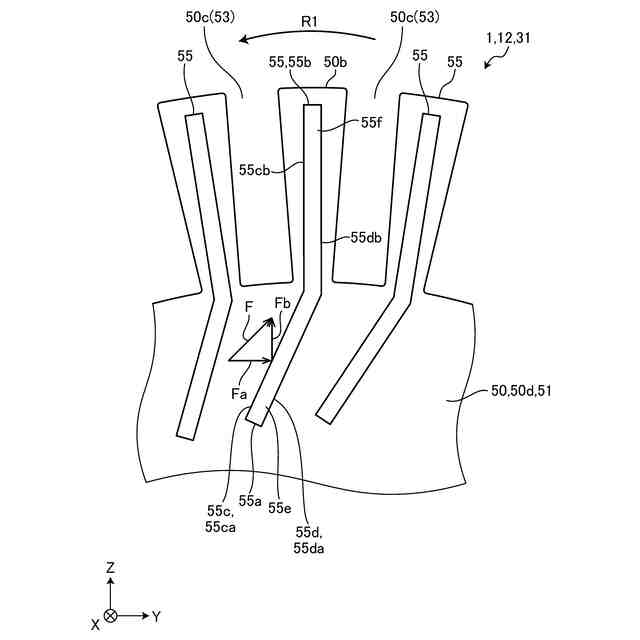
図1は、実施形態の回転電機の構成の例示的な断面図である。
図2は、実施形態の回転電機における回転電機本体の例示的な断面図である。
図3は、実施形態の回転電機本体の回転子鉄心の一部の例示的な正面図である。
図4は、実施形態の回転子鉄心の一部の例示的な正面図である。
図5は、比較例の回転電機の一部の例示的な正面図である。
図6は、実施形態の変形例の回転電機の回転子鉄心の一部の例示的な正面図である。
【発明を実施するための形態】
【0009】
以下、本発明の例示的な実施形態が開示される。以下に示される実施形態の構成、ならびに当該構成によってもたらされる作用および効果は、一例である。本発明は、以下の実施形態に開示される構成以外によっても実現可能である。また、本発明によれば、構成によって得られる種々の効果のうち少なくとも一つを得ることが可能である。
【0010】
また、図面は模式的なものであり、各要素の寸法の関係、各要素の比率等は、現実と異なる場合がある。また、図面の相互間においても、互いの寸法の関係や比率が異なる部分が含まれている場合がある。また、本明細書では、序数は、部品や、部材、部位、位置、方向等を区別するためだけに用いられており、順番や優先度を示すものではない。
(【0011】以降は省略されています)
この特許をJ-PlatPat(特許庁公式サイト)で参照する
関連特許
株式会社TMEIC
回転電機
13日前
株式会社TMEIC
電極昇降装置
6日前
株式会社TMEIC
電力変換装置
6日前
株式会社TMEIC
回転電機用端子箱
4日前
株式会社TMEIC
絶縁テープ及び回転電機
4日前
株式会社TMEIC
通信伝文データ照合装置
5日前
個人
単極モータ
今日
株式会社アイシン
ロータ
4日前
株式会社アイシン
ロータ
今日
株式会社FUJI
制御盤
15日前
西部電機株式会社
充電装置
7日前
西部電機株式会社
充電装置
7日前
日本精機株式会社
サージ保護回路
7日前
トヨタ自動車株式会社
固定子
5日前
トヨタ自動車株式会社
回転子
11日前
ミサワホーム株式会社
居住設備
15日前
トヨタ自動車株式会社
製造装置
5日前
東京応化工業株式会社
発電装置
19日前
個人
連続ガウス加速器形磁力増幅装置
7日前
東京瓦斯株式会社
通信装置
6日前
個人
太陽エネルギー収集システム
5日前
カヤバ株式会社
筒型リニアモータ
6日前
株式会社ダイヘン
充電装置
4日前
株式会社アイシン
ステータ
4日前
株式会社ダイヘン
充電装置
4日前
株式会社アイシン
ステータ
4日前
株式会社アイシン
ステータ
4日前
株式会社ダイヘン
充電装置
4日前
株式会社アイシン
ステータ
4日前
株式会社ミツバ
ブラシレスモータ
6日前
株式会社リコー
拡張アンテナ装置
18日前
株式会社ダイヘン
充電装置
4日前
トヨタ自動車株式会社
ロータ
13日前
トヨタ自動車株式会社
被膜形成装置
5日前
ユタカ電業株式会社
ケーブルダクト
15日前
ニチコン株式会社
AC入力検出回路
11日前
続きを見る
他の特許を見る