TOP
|
特許
|
意匠
|
商標
特許ウォッチ
Twitter
他の特許を見る
10個以上の画像は省略されています。
公開番号
2025152312
公報種別
公開特許公報(A)
公開日
2025-10-09
出願番号
2024054145
出願日
2024-03-28
発明の名称
通信伝文データ照合装置
出願人
株式会社TMEIC
代理人
弁理士法人iX
主分類
G05B
19/042 20060101AFI20251002BHJP(制御;調整)
要約
【課題】採取した通信伝文データを人手を介することなくリストと照合する通信伝文データ照合装置を提供する。
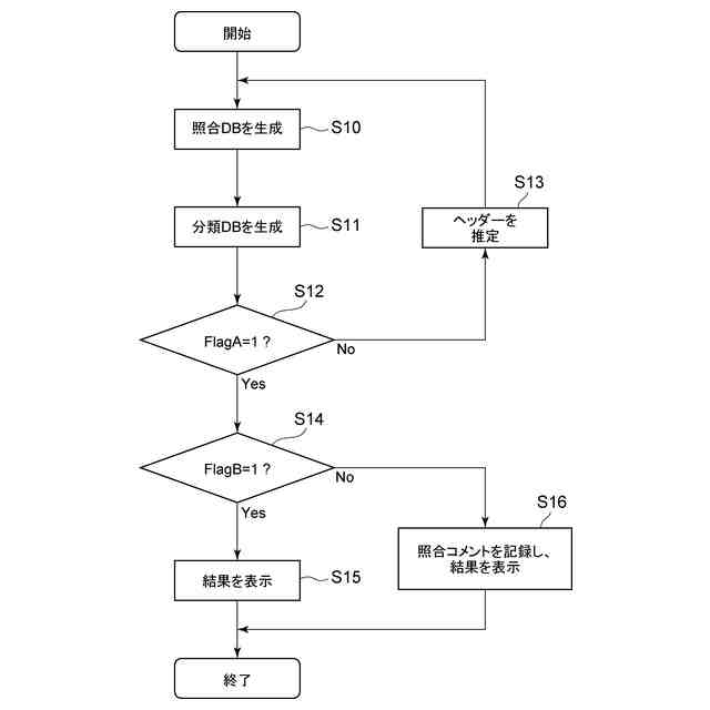
【解決手段】実施形態の通信伝文データ照合装置は、アドレスデータベースと構成情報データベースとを備え、照合データベースおよび分類データベースを生成する。前記アドレスデータベースは、制御システムの装置のアドレスデータを含む。前記構成情報データベースは、前記制御システムを流通する通信伝文データのユーザ領域の構成情報を含む。前記照合データベースは、通信伝文データの送受信アドレスおよび構成情報データを含む。分類データベースは、前記照合データベースから同一のヘッダーを抽出して生成される。採取した前記通信伝文データにヘッダーが存在しない場合には、ヘッダーを推定して、推定した前記ヘッダーに前記構成情報データを関連付ける。
【選択図】図1
特許請求の範囲
【請求項1】
プラントに設置された機器を制御する制御システムを構成する装置と、前記装置に関連付けられ、前記装置の前記制御システムにおけるアドレスデータと、を含むアドレスデータベースと、
前記制御システムを流通し、受信先アドレス、受信時刻、送信元アドレス、送信時刻およびユーザ領域を含むパケット形式の通信伝文データの前記ユーザ領域における構成情報を含む構成情報データベースと、
を備え、
前記アドレスデータベースにもとづいて、採取された前記通信伝文データの前記受信先アドレスを抽出し、
前記アドレスデータベースにもとづいて、採取された前記通信伝文データの前記送信元アドレスを抽出し、
前記構成情報データベースの前記構成情報と、前記ユーザ領域中に格納された構成情報データとを照合して、照合データベースを生成し、
前記ユーザ領域の先頭の格納位置に前記ヘッダーのデータが存在する場合には、前記ヘッダーのデータに前記受信先アドレス、前記送信元アドレスおよび前記構成情報データを関連付けて、分類データベースを生成し、
前記ユーザ領域の先頭の格納位置にヘッダーのデータが存在しない場合には、前記受信先アドレス、前記受信時刻、前記送信元アドレス、前記送信時刻および前記構成情報データのうち前記ヘッダーの以外のデータにもとづいて、存在しないヘッダーのデータを推定して、前記推定されたヘッダーのデータに前記受信先アドレス、前記送信元アドレスおよび前記構成情報データを関連付けて、分類データベースを生成する通信伝文データ照合装置。
続きを表示(約 250 文字)
【請求項2】
前記存在しないヘッダーのデータを推定することは、前記ヘッダーのデータが存在する場合に前記ヘッダーのデータに関連付けられた前記受信先アドレス、前記送信元アドレスおよび前記構成情報データにもとづいて学習された学習モデルによって推定することを含む請求項1記載の通信伝文データ照合装置。
【請求項3】
前記構成情報と前記構成情報データとを対象した場合に、相違がある場合に相違がある前記構成情報データにフラグを関連付ける請求項1または2に記載の通信伝文データ照合装置。
発明の詳細な説明
【技術分野】
【0001】
本発明の実施形態は、産業用プラントの制御システムで用いられる通信伝文データを所与の構成情報のリストと照合する通信伝文データ照合装置に関する。
続きを表示(約 1,700 文字)
【背景技術】
【0002】
産業用プラントでは、設備更新を行う場合がある。設備更新では、プラントの各種装置や機器等を制御する制御システムの更新をともなうことがある。
【0003】
このような設備更新では、更新前後の制御システムで同等の機能を実現するために、制御システムにおける通信伝文データの送受信状況を把握する必要がある。送受信された通信伝文データの内容は、既設の制御システムの仕様書、通信伝文データの構成、通信伝文データのリストに記録されている。しかしながら、設備や制御システムの構成内容は、プラントの所有者側で変更、修正等行われる場合があり、実際に稼働している設備や制御システムの状況と異なることがある。
【0004】
そのため、実際に稼働している制御システムにおいて、通信伝文データを採取し、通信伝文データの構成情報のリストと照合する必要がある。採取した通信伝文データとリストとの照合を人手で行うと、多大な時間がかかり、見落としや照合ミスを生じる場合もある。
【0005】
通信伝文データを解析する技術として、たとえば特許文献1に開示されたものが知られている。特許文献1では、構成情報データのフォーマットを決め、通信伝文データと構成情報データの自動的な照合手法を定義し、伝文の解析処理を自動化している。構成情報を事前入力すれば、採取した通信伝文データから、ヘッダー、アドレス、データ数値などの情報を得られる。
【0006】
しかし、通信伝文データと構成情報とが一部でも一致しない場合には、制御システムの設計者が、採取した通信伝文データの対応する構成情報データをマニュアルで修正する必要がある。そのため、依然として余分な工数の発生や人為的ミスの発生を防止することが困難となっている。
【先行技術文献】
【特許文献】
【0007】
特開2004-172747号公報
【発明の概要】
【発明が解決しようとする課題】
【0008】
本発明の実施形態は、採取した通信伝文データを人手を介することなく構成情報と照合する通信伝文データ照合装置を提供することを目的とする。
【課題を解決するための手段】
【0009】
本発明の実施形態に係る通信伝文データ照合装置は、プラントに設置された機器を制御する制御システムを構成する装置と、前記装置に関連付けられ、前記装置の前記制御システムにおけるアドレスデータと、を含むアドレスデータベースと、前記制御システムを流通し、受信先アドレス、受信時刻、送信元アドレス、送信時刻およびユーザ領域を含むパケット形式の通信伝文データの前記ユーザ領域における構成情報を含む構成情報データベースと、を備える。前記アドレスデータベースにもとづいて、採取された前記通信伝文データの前記受信先アドレスを抽出し、前記アドレスデータベースにもとづいて、採取された前記通信伝文データの前記送信元アドレスを抽出し、前記構成情報データベースの前記構成情報と、前記ユーザ領域中に格納された構成情報データとを照合して、照合データベースを生成する。前記ユーザ領域の先頭の格納位置に前記ヘッダーのデータが存在する場合には、前記ヘッダーのデータに前記受信先アドレス、前記送信元アドレスおよび前記構成情報データを関連付けて、分類データベースを生成し、前記ユーザ領域の先頭の格納位置にヘッダーのデータが存在しない場合には、前記受信先アドレス、前記受信時刻、前記送信元アドレス、前記送信時刻および前記構成情報データのうち前記ヘッダーの以外のデータにもとづいて、存在しないヘッダーのデータを推定して、前記推定されたヘッダーのデータに前記受信先アドレス、前記送信元アドレスおよび前記構成情報データを関連付けて、分類データベースを生成する。
【発明の効果】
【0010】
本発明の実施形態によれば、採取した通信伝文データを人手を介することなく構成情報と照合する通信伝文データ照合装置を提供することができる。
【図面の簡単な説明】
(【0011】以降は省略されています)
この特許をJ-PlatPat(特許庁公式サイト)で参照する
関連特許
個人
生産早送り装置
2か月前
株式会社豊田自動織機
産業車両
1か月前
株式会社カネカ
製造システム
1か月前
オムロン株式会社
スレーブ装置
14日前
ローム株式会社
基準電圧源
1か月前
株式会社熊谷組
障害物の検出方法
5日前
株式会社FUJI
加工機械ライン
2か月前
愛知製鋼株式会社
車両用システム
1か月前
新電元工業株式会社
作業用ロボット
3日前
個人
作業車両自動化システム
2か月前
愛知製鋼株式会社
目標軌跡の設定方法
2か月前
豊田合成株式会社
機器制御装置
10日前
株式会社ダイフク
搬送設備
1か月前
トヨタ自動車株式会社
移動制御システム
2か月前
株式会社ダイフク
搬送設備
24日前
株式会社ダイフク
搬送設備
2か月前
トヨタ自動車株式会社
生産管理システム
2か月前
トヨタ自動車株式会社
減圧弁
2か月前
キヤノン電子株式会社
加工装置、及び、制御方法
3か月前
トヨタ自動車株式会社
制御装置
14日前
株式会社ダイフク
物品搬送設備
24日前
マーク ヘイリー
消防ロボット
2か月前
トヨタ自動車株式会社
クラッチペダル
1か月前
キヤノン株式会社
配送システム
1か月前
カヤバ株式会社
減圧弁
12日前
株式会社テイエルブイ
減圧弁の制御装置
2か月前
株式会社TMEIC
安全性診断装置
18日前
キヤノン電子株式会社
加工システム、及び、加工装置
2か月前
キヤノン電子株式会社
加工システム、及び、加工装置
2か月前
アズビル株式会社
制御システムおよび制御方法
2か月前
アズビル株式会社
制御システムおよび制御方法
2か月前
愛知製鋼株式会社
マーカシステム及び制御方法
1か月前
株式会社アマダ
工作機械制御装置
4日前
村田機械株式会社
搬送車システム
4日前
ルネサスエレクトロニクス株式会社
半導体装置
1か月前
株式会社CAOS
移動体の制御システム
1か月前
続きを見る
他の特許を見る