TOP
|
特許
|
意匠
|
商標
特許ウォッチ
Twitter
他の特許を見る
公開番号
2025142953
公報種別
公開特許公報(A)
公開日
2025-10-01
出願番号
2024042604
出願日
2024-03-18
発明の名称
シクロオレフィンフィルム用粘着フィルム
出願人
ZACROS株式会社
代理人
個人
,
個人
,
個人
主分類
C09J
7/38 20180101AFI20250924BHJP(染料;ペイント;つや出し剤;天然樹脂;接着剤;他に分類されない組成物;他に分類されない材料の応用)
要約
【課題】両面が高い粘着力を有し、残留接着率が低い離型フィルムを用いてもシクロオレフィンフィルムに対して粘着力が低下しないシクロオレフィンフィルム用粘着フィルムを提供する。
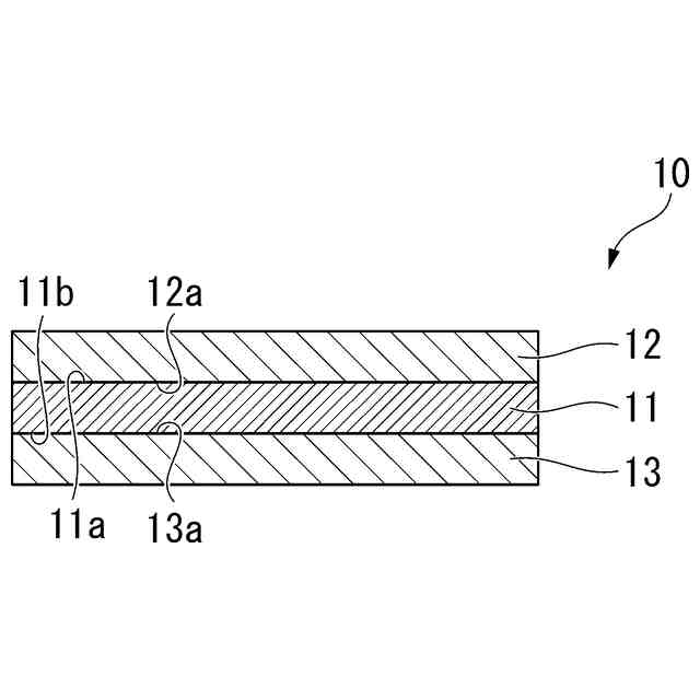
【解決手段】(メタ)アクリル系ポリマーと、架橋剤とを含有する粘着組成物を架橋してなる粘着剤層11の両面に、離型フィルム12,13が貼り合わされたシクロオレフィンフィルム用粘着フィルム10であって、一方の離型フィルム12の剥離処理面12aの残留接着率が70~90%であり、他方の離型フィルム13の剥離処理面13aの残留接着率が90~110%であり、粘着剤層11における一方の離型フィルム12が貼り合わされていた面11aのシクロオレフィンフィルムに対する粘着力が10N/25mm以上、かつ、粘着剤層11における他方の離型フィルム13が貼り合わされていた面11bのシクロオレフィンフィルムに対する粘着力に対して90%以上である。
【選択図】図1
特許請求の範囲
【請求項1】
(メタ)アクリル系ポリマーと、架橋剤とを含有する粘着組成物を架橋してなる粘着剤層を備え、前記粘着剤層の両面に、片面にシリコーン剥離処理された離型フィルムのシリコーン剥離処理面が貼り合わされたシクロオレフィンフィルム用粘着フィルムであって、
前記(メタ)アクリル系ポリマーは、A成分100重量部と、B成分として架橋剤と反応する官能基を含有した(メタ)アクリレートを0.1~10重量部を共重合させた、ガラス転移点温度は-18℃以下の粘着組成物であり、
前記A成分は、少なくとも、
a1成分としてC10以上の直鎖状または分枝鎖状のアルキル基を有する(メタ)アクリレートを50~90重量部、
a2成分として脂環式炭化水素基を有する(メタ)アクリレートを10~50重量部、
を含有し、且つ、前記a1成分と前記a2成分の合計が75重量部以上であり、
前記離型フィルムのうち、一方の離型フィルムの剥離処理面の残留接着率が70~90%であり、
前記離型フィルムのうち、他方の離型フィルムの剥離処理面の残留接着率が90~110%であり、
前記粘着剤層における前記一方の離型フィルムが貼り合わされていた面のシクロオレフィンフィルムに対する粘着力が、前記粘着剤層における前記他方の離型フィルムが貼り合わされていた面のシクロオレフィンフィルムに対する粘着力に対して90%以上であり、
前記粘着剤層における前記一方の離型フィルムが貼り合わされていた面のシクロオレフィンフィルムに対する粘着力が、10N/25mm以上であることを特徴とするシクロオレフィンフィルム用粘着フィルム。
発明の詳細な説明
【技術分野】
【0001】
本発明は、シクロオレフィンフィルム用粘着フィルムに関する。
続きを表示(約 2,200 文字)
【背景技術】
【0002】
近年、ディスプレイにおいて、偏光板や位相差板にノルボルネン樹脂フィルム(COP)やポリカーボネートフィルム(PC)といった低極性樹脂フィルムが用いられている。これら光学系機能性フィルムは、粘着剤を用いて積層され、ディスプレイに組み込まれる。従来の一般的な粘着剤を用いた場合、十分な粘着力が発現せず、剥がれやウキといった不具合が発生する。このような低極性樹脂フィルムに対して高粘着力を発現させる粘着フィルムとして、ロジン系粘着付与剤を併用したアクリル系粘着フィルムが提案されているが、ロジン系粘着付与剤は黄色に着色しているものが多く、光学系への利用には課題がある(例えば特許文献1~3参照)。
【0003】
また、低極性樹脂フィルムに対し高粘着力を発現させる別の手法としては、脂環式モノマー又は芳香族含有モノマーを共重合成分として用い、樹脂の極性を低下させたアクリル系粘着フィルムが有効であることが知られている(例えば特許文献4~5参照)。
【先行技術文献】
【特許文献】
【0004】
特許第7131723号公報
特開2006-213808号公報
特開2018-158990号公報
特開2005-53976号公報
特開2010-180283号公報
【発明の概要】
【発明が解決しようとする課題】
【0005】
しかしながら、脂環式モノマー又は芳香族含有モノマーのみで極性を低下させたアクリル系粘着フィルムは、残留接着率が低いシリコーン剥離処理離型フィルムを用いた場合、残留接着率が高いシリコーン剥離処理離型フィルムを用いた際と比較して、低極性樹脂フィルムに対する粘着フィルムの粘着力が大きく低下する課題がある。
【0006】
特に、離型フィルム/粘着剤層/離型フィルムの構成においては、離型フィルムを剥離したときの粘着層の泣き別れを抑制する手法として、両方の離型フィルムの剥離力の差を十分に発生させる必要がある。一方の離型フィルムとして残留接着力が低いシリコーン剥離処理離型フィルム(軽剥離側離型フィルム)を用いることで、重軽の剥離力の差を設定しやすく、他方のシリコーン剥離処理離型フィルム(重剥離側離型フィルム)の剥離力も低下でき、重剥離側離型フィルム剥離時の剥離作業性、ジッピング、ストップラインといった不具合に有利である。しかし、上記課題から、離型フィルムの選定に制限がある。
【0007】
このため、低極性被着体向けで、粘着フィルムの両面が高い粘着力を有し、残留接着率が低いシリコーン剥離処理離型フィルムを用いても低極性被着体に対し、もう一方の面と比較して粘着力が低下しない粘着フィルムが求められている。
【0008】
本発明は、上記事情に鑑みてなされたものであり、粘着フィルムの両面が高い粘着力を有し、残留接着率が低いシリコーン剥離処理離型フィルムを用いても、シクロオレフィンフィルムのような低極性被着体に対し、もう一方の面と比較して粘着力が低下しないシクロオレフィンフィルム用粘着フィルムを提供することを課題とする。
【課題を解決するための手段】
【0009】
本発明は、(メタ)アクリル系ポリマーと、架橋剤とを含有する粘着組成物を架橋してなる粘着剤層を備え、前記粘着剤層の両面に、片面にシリコーン剥離処理された離型フィルムのシリコーン剥離処理面が貼り合わされたシクロオレフィンフィルム用粘着フィルムであって、前記(メタ)アクリル系ポリマーは、A成分100重量部と、B成分として架橋剤と反応する官能基を含有した(メタ)アクリレートを0.1~10重量部を共重合させた、ガラス転移点温度は-18℃以下の粘着組成物であり、前記A成分は、少なくとも、a1成分としてC10以上の直鎖状または分枝鎖状のアルキル基を有する(メタ)アクリレートを50~90重量部、a2成分として脂環式炭化水素基を有する(メタ)アクリレートを10~50重量部、を含有し、且つ、前記a1成分と前記a2成分の合計が75重量部以上であり、前記離型フィルムのうち、一方の離型フィルムの剥離処理面の残留接着率が70~90%であり、前記離型フィルムのうち、他方の離型フィルムの剥離処理面の残留接着率が90~110%であり、前記粘着剤層における前記一方の離型フィルムが貼り合わされていた面のシクロオレフィンフィルムに対する粘着力が、前記粘着剤層における前記他方の離型フィルムが貼り合わされていた面のシクロオレフィンフィルムに対する粘着力に対して90%以上であり、前記粘着剤層における前記一方の離型フィルムが貼り合わされていた面のシクロオレフィンフィルムに対する粘着力が、10N/25mm以上である。
【発明の効果】
【0010】
本発明によれば、粘着フィルムの両面が高い粘着力を有し、残留接着率が低いシリコーン剥離処理離型フィルムを用いてもシクロオレフィンフィルムのような低極性被着体に対し、もう一方の面と比較して粘着力が低下しない。
【図面の簡単な説明】
(【0011】以降は省略されています)
この特許をJ-PlatPat(特許庁公式サイト)で参照する
関連特許
ベック株式会社
被覆材
3か月前
日本化薬株式会社
インク
11日前
ベック株式会社
被膜形成方法
2か月前
日本化薬株式会社
インク組成物
11日前
株式会社日本触媒
インクセット
20日前
関西ペイント株式会社
塗料組成物
2か月前
ぺんてる株式会社
水性インキ組成物
3か月前
株式会社リコー
インクセット
3か月前
東ソー株式会社
ゴム用接着性改質剤
3か月前
シヤチハタ株式会社
油性インキ組成物
1か月前
東ソー株式会社
土木用注入薬液組成物
12日前
東亞合成株式会社
硬化型接着剤組成物
3か月前
東亞合成株式会社
硬化型接着剤組成物
3か月前
AGC株式会社
液状組成物
2か月前
アイカ工業株式会社
光硬化型圧着組成物
1か月前
大日精化工業株式会社
顔料分散液
29日前
東ソー株式会社
土質安定化注入薬液組成物
1か月前
マクセル株式会社
粘着テープ
2か月前
東ソー株式会社
土質安定化注入薬液組成物
1か月前
株式会社フェクト
透明防錆塗料
3か月前
ハニー化成株式会社
防反射処理剤
3か月前
ユニチカ株式会社
易接着フィルム、および積層体
1か月前
東洋アルミニウム株式会社
複合顔料
11日前
artience株式会社
粘着剤及び粘着シート
3か月前
ダイキン工業株式会社
耐油剤
2か月前
ダイキン工業株式会社
組成物
1か月前
ダイキン工業株式会社
組成物
1か月前
ダイキン工業株式会社
耐油剤
2か月前
株式会社呉竹
絵具
2か月前
ハニー化成株式会社
親水防汚処理剤
3か月前
アイカ工業株式会社
ポリマー被覆粒子の製造方法
2か月前
リンテック株式会社
粘着シート
3か月前
artience株式会社
印刷インキおよび印刷物
3か月前
三洋化成工業株式会社
粘着剤主剤及び粘着剤組成物
3か月前
ウォールボンド工業株式会社
壁紙の剥離方法
3か月前
ニッタ・デュポン株式会社
研磨用組成物
1か月前
続きを見る
他の特許を見る