TOP
|
特許
|
意匠
|
商標
特許ウォッチ
Twitter
他の特許を見る
10個以上の画像は省略されています。
公開番号
2025143798
公報種別
公開特許公報(A)
公開日
2025-10-02
出願番号
2024043237
出願日
2024-03-19
発明の名称
印刷装置
出願人
セイコーエプソン株式会社
代理人
個人
,
個人
,
個人
主分類
B41J
29/377 20060101AFI20250925BHJP(印刷;線画機;タイプライター;スタンプ)
要約
【課題】高い品質で構成することが可能な印刷装置を提供する。
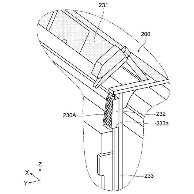
【解決手段】第2隔壁220に固定され、吸引部と連通する外側ダクト231と、筐体100に固定され、外側ダクト231と連通可能な内側ダクト232と、を備え、内側ダクト232は、正面側Aを向いて開口し、外側ダクト231と接続される内側接続開口部230Aを有し、外側ダクト231は、開閉カバー200の開閉に伴い、内側接続開口部230Aと接離可能に構成される外側接続開口部230Bを有し、内側接続開口部230Aは、天面100aに近い第1端部230A1の方が、天面100aから離れた第2端部230A2よりも、回動軸250に近い。
【選択図】図11
特許請求の範囲
【請求項1】
筐体に収容され、媒体に液体を吐出するヘッドと、
前記筐体の天面の一部を構成する第1隔壁と、前記筐体の正面の一部を構成する第2隔壁と、を有し、回動軸を中心に前記筐体を開閉する開閉カバーと、
前記筐体の内側の気体を吸引する吸引部と、
前記第2隔壁に固定され、前記吸引部と連通する外側ダクトと、
前記筐体に固定され、前記外側ダクトと連通可能な内側ダクトと、
を備え、
前記内側ダクトは、前記正面を向いて開口し、前記外側ダクトと接続される内側接続開口部を有し、
前記外側ダクトは、前記開閉カバーの開閉に伴い、前記内側接続開口部と接離可能に構成される外側接続開口部を有し、
前記内側接続開口部は、前記天面に近い第1端部の方が、前記天面から離れた第2端部よりも、前記回動軸に近い、印刷装置。
続きを表示(約 570 文字)
【請求項2】
請求項1に記載の印刷装置であって、
前記内側接続開口部は、前記正面及び上方を向くように傾斜している、印刷装置。
【請求項3】
請求項1に記載の印刷装置であって、
前記内側ダクトと連通し、気流を発生する気流発生部を備え、前記内側ダクトは、前記内側接続開口部よりも前記気流発生部の側に、縦型ダクトを有する、印刷装置。
【請求項4】
請求項3に記載の印刷装置であって、
前記縦型ダクトは、前記筐体を構成するフレームである、印刷装置。
【請求項5】
請求項3に記載の印刷装置であって、
前記縦型ダクトは、中空の角状部材からなる、印刷装置。
【請求項6】
請求項5に記載の印刷装置であって、
前記角状部材は、複数の面に亘って開口する上部開口と、前記上部開口よりも下方に形成され、複数の面に亘って開口する下部開口と、を有し、
前記上部開口は、前記内側接続開口部から流れてくる前記気体を流入し、
前記下部開口は、前記気流発生部へ向けて前記気体を流出する、印刷装置。
【請求項7】
請求項6に記載の印刷装置であって、
前記下部開口は、前記角状部材の下方端よりも上方に形成される、印刷装置。
発明の詳細な説明
【技術分野】
【0001】
本発明は、印刷装置に関する。
続きを表示(約 1,600 文字)
【背景技術】
【0002】
特許文献1には、装置本体に固定されている換気側ダクトと、支点を中心に取り付け固定されている外部側ダクトと、を連結して、装置内換気経路を形成する画像形成装置の構成が開示されている。
【先行技術文献】
【特許文献】
【0003】
特開平11-167322号公報
【発明の概要】
【発明が解決しようとする課題】
【0004】
しかしながら、特許文献1に記載の方法では、換気側ダクトに対して外部側ダクトが連結及び離間する際に擦れ合い、互いのダクトの開口部が摩耗することにより、気体の排気性能が低下するという課題がある。
【課題を解決するための手段】
【0005】
印刷装置は、筐体に収容され、媒体に液体を吐出するヘッドと、前記筐体の天面の一部を構成する第1隔壁と、前記筐体の正面の一部を構成する第2隔壁と、を有し、回動軸を中心に前記筐体を開閉する開閉カバーと、前記筐体の内側の気体を吸引する吸引部と、前記第2隔壁に固定され、前記吸引部と連通する外側ダクトと、前記筐体に固定され、前記外側ダクトと連通可能な内側ダクトと、を備え、前記内側ダクトは、前記正面を向いて開口し、前記外側ダクトと接続される内側接続開口部を有し、前記外側ダクトは、前記開閉カバーの開閉に伴い、前記内側接続開口部と接離可能に構成される外側接続開口部を有し、前記内側接続開口部は、前記天面に近い第1端部の方が、前記天面から離れた第2端部よりも、前記回動軸に近い。
【図面の簡単な説明】
【0006】
印刷装置の構成を示す概略図。
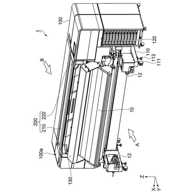
印刷装置の外観を示す斜視図。
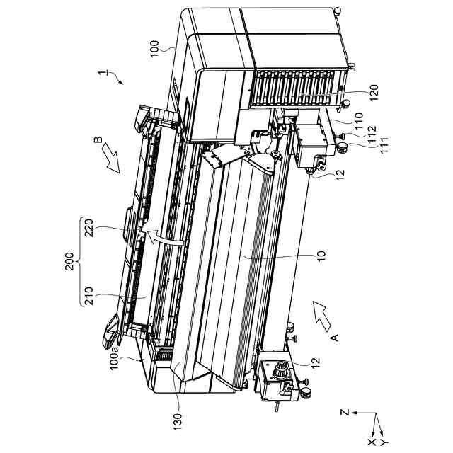
図2に示す印刷装置の開閉カバーを開けた状態を示す斜視図。
開閉カバーを閉じたときの構成を示す斜視図。
開閉カバーを開けたときの構成を示す斜視図。
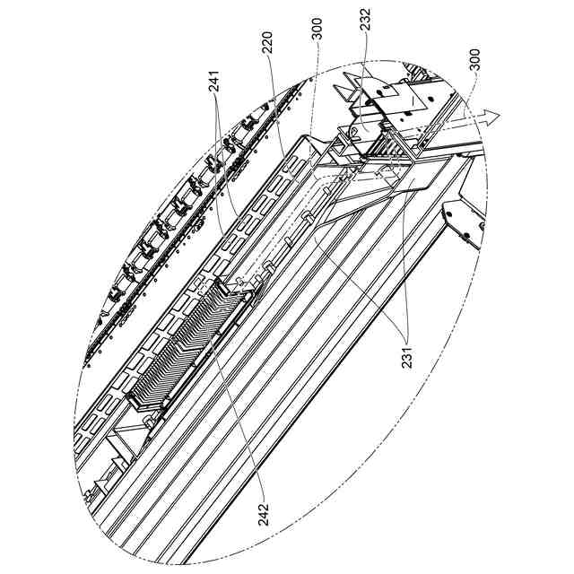
内側ダクト及び縦型ダクトの構成を示す斜視図。
開閉カバーを正面側から見た斜視図。
開閉カバーを背面側から見た斜視図。
吸引部及び外側ダクトの構成を示す斜視図。
内側ダクト及び縦型ダクトの構成を示す断面図。
開閉カバーの開閉の様子を示す側面図。
【発明を実施するための形態】
【0007】
以下、図面を参照しながら、印刷装置1の構成を説明する。以下の各図においては、互いに直交する3つの軸をX軸、Y軸、及びZ軸として説明する。X軸に沿う方向を「X方向」、Y軸に沿う方向を「Y方向」、Z軸に沿う方向を「Z方向」とし、矢印の方向が+方向であり、+方向と反対の方向を-方向とする。なお、+Z方向または-Z方向から見ることを平面視あるいは平面的ともいう。
【0008】
まず、図1を参照しながら、印刷装置1の構成を説明する。
【0009】
図1に示すように、印刷装置1は、印刷部3と、制御ユニット13と、を備えている。印刷部3は、媒体2にインクを付着させることによって印刷を行う。制御ユニット13は、印刷装置1を制御するコントローラーである。印刷装置1は、搬送される用紙等の媒体2に対して、液体の一例であるインクを吐出することにより、媒体2に文字や写真等の画像を印刷するインクジェット式のプリンターである。印刷部3は、媒体2の幅方向に往復移動しながら印刷を行うシリアルタイプである。印刷部3は、媒体2の幅方向に亘って設けられるラインタイプとして構成されてもよい。
【0010】
印刷装置1は、印刷部3と、繰出軸5と、上流支持部6と、上流搬送部7と、プラテン8と、下流搬送部9と、下流支持部10と、巻取軸12と、制御ユニット13と、を備える。媒体2が搬送される搬送経路には、上流支持部6と、上流搬送部7と、プラテン8と、下流搬送部9と、下流支持部10が位置している。
(【0011】以降は省略されています)
この特許をJ-PlatPat(特許庁公式サイト)で参照する
関連特許
個人
箔熱転写装置
24日前
シヤチハタ株式会社
印判
4か月前
東レ株式会社
凸版印刷版原版
9か月前
シヤチハタ株式会社
反転式印判
8か月前
三菱製紙株式会社
感熱記録材料
10か月前
キヤノン株式会社
記録装置
17日前
独立行政法人 国立印刷局
印刷物
6か月前
三光株式会社
感熱記録材料
6か月前
株式会社リコー
液体吐出装置
8か月前
株式会社リコー
液体吐出装置
4か月前
株式会社リコー
液体吐出装置
4か月前
株式会社リコー
液体吐出装置
7か月前
独立行政法人 国立印刷局
記録媒体
8か月前
株式会社リコー
画像形成装置
1日前
株式会社リコー
液体吐出装置
3か月前
独立行政法人 国立印刷局
貼付機構
1か月前
日本製紙株式会社
感熱記録体
7か月前
株式会社リコー
画像形成装置
24日前
株式会社リコー
液体吐出装置
1か月前
株式会社リコー
印刷システム
5日前
独立行政法人 国立印刷局
貼付装置
1か月前
株式会社リコー
液体吐出装置
7か月前
株式会社リコー
画像形成装置
5日前
株式会社リコー
液体吐出装置
5か月前
キヤノン株式会社
画像形成装置
8か月前
独立行政法人 国立印刷局
潜像形成体
1日前
キヤノン株式会社
画像処理装置
4か月前
キヤノン株式会社
画像形成装置
8か月前
キヤノン株式会社
画像形成装置
5か月前
フジコピアン株式会社
中間転写シート
9か月前
キヤノン株式会社
印刷制御装置
9か月前
キヤノン株式会社
画像形成装置
10か月前
キヤノン株式会社
情報処理装置
8か月前
ブラザー工業株式会社
プリンタ
5か月前
独立行政法人 国立印刷局
潜像印刷物
1か月前
キヤノン株式会社
画像形成装置
4か月前
続きを見る
他の特許を見る