TOP
|
特許
|
意匠
|
商標
特許ウォッチ
Twitter
他の特許を見る
公開番号
2025144175
公報種別
公開特許公報(A)
公開日
2025-10-02
出願番号
2024043831
出願日
2024-03-19
発明の名称
リヤシートクッション及び車両用リヤシート
出願人
日本発條株式会社
代理人
弁理士法人太陽国際特許事務所
主分類
B60N
2/90 20180101AFI20250925BHJP(車両一般)
要約
【課題】車両の急減速時等に後部が上昇してフロアから外れることを防止でき且つ梱包や運搬等が容易になるリヤシートクッションを得る。
【解決手段】リヤシートクッション12は、発泡体からなり、車両のフロア16上に載置されるクッションパッドと、ワイヤからなり、クッションパッド内に埋設されたワイヤフレーム28とを備えている。ワイヤフレーム28は、フロア16に係止される係止部40A、42Aを有しており、後端部がリヤシートバック14の車両下方に配置される。このワイヤフレーム28は、クロスメンバ20に対して車両後方から近接して対向する変位抑制部32A、34A、36A、38Aを有している。
【選択図】図1
特許請求の範囲
【請求項1】
発泡体からなり、車両のフロア上に載置されるクッションパッドと、
ワイヤからなり、前記クッションパッド内に埋設され、前記フロアに係止される係止部を有し、後端部がリヤシートバックの車両下方に配置され、前記フロアに設けられたクロスメンバに対して車両後方から近接して対向する変位抑制部を有するワイヤフレームと、
を備えたリヤシートクッション。
続きを表示(約 250 文字)
【請求項2】
前記ワイヤフレームは、
車両平面視で略枠状をなす枠状部と、
車両左右方向に間隔をあけて並び、前記枠状部の前部と後部との間に架け渡された複数の架渡部と、
を有し、
複数の前記架渡部に前記変位抑制部が設けられている請求項1に記載のリヤシートクッション。
【請求項3】
乗員が着座する請求項1又は請求項2に記載のリヤシートクッションと、
前記乗員の背部を支持するリヤシートバックと、
を備えた車両用リヤシート。
発明の詳細な説明
【技術分野】
【0001】
本発明は、車両用リヤシートに関し、特にリヤシートクッションに関する。
続きを表示(約 1,700 文字)
【背景技術】
【0002】
下記特許文献1に開示されたリヤシートクッションの取付構造では、曲げ加工された複数のワイヤからなるリヤシートクッションフレームの後部に、略U字状に曲げられた左右二つのワイヤが設けられている。このワイヤがリヤシートバックの下部に挿入されることで、車両の急減速時にリヤシートクッションの後部が上昇し、車両のフロアからリヤシートクッションが外れることを防止するようにしている。
【先行技術文献】
【特許文献】
【0003】
特開平7-61264号公報
【発明の概要】
【発明が解決しようとする課題】
【0004】
上記の先行技術では、略U字状に曲げられた左右のワイヤがリヤシートクッションの後方に突出する構成であるため、リヤシートクッションの梱包や運搬等を容易にする観点で改善の余地がある。
【0005】
本発明は、車両の急減速時等に後部が上昇してフロアから外れることを防止でき且つ梱包や運搬等が容易になるリヤシートクッション及び該リヤシートクッションを備えた車両用リヤシートを得ることを目的とする。
【課題を解決するための手段】
【0006】
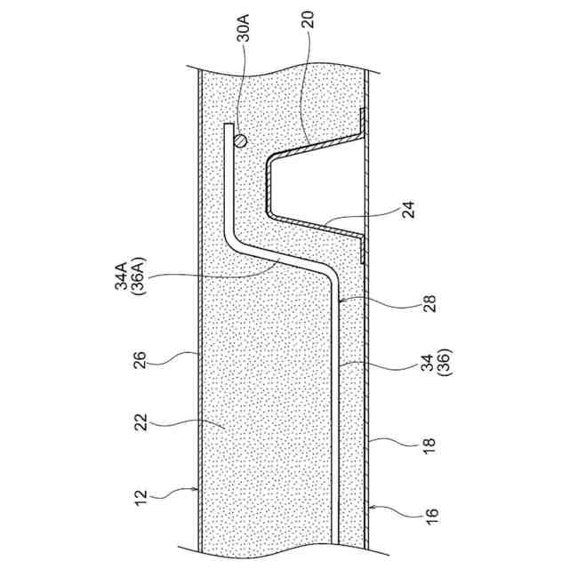
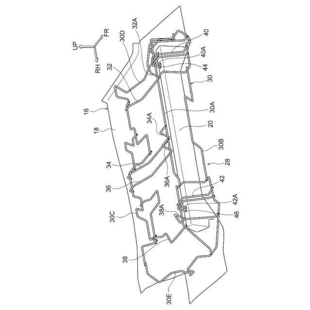
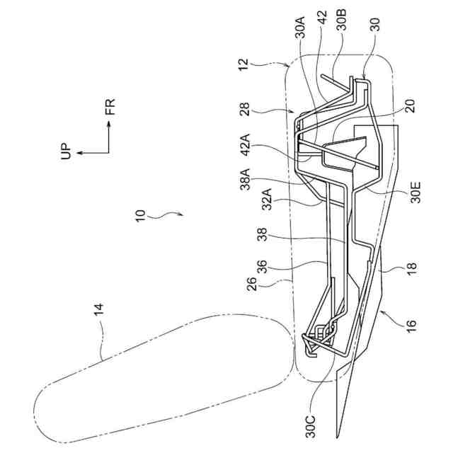
第1の態様のリヤシートクッションは、発泡体からなり、車両のフロア上に載置されるクッションパッドと、ワイヤからなり、前記クッションパッド内に埋設され、前記フロアに係止される係止部を有し、後端部がリヤシートバックの車両下方に配置され、前記フロアに設けられたクロスメンバに対して車両後方から近接して対向する変位抑制部を有するワイヤフレームと、を備えている。
【0007】
第1の態様のリヤシートクッションでは、発泡体からなるクッションパッドが車両のフロア上に載置される。クッションパッドには、ワイヤからなるワイヤフレームが埋設されている。ワイヤフレームは、フロアに係止される係止部を有しており、後端部がリヤシートバックの車両下方に配置される。このワイヤフレームは、フロアに設けられたクロスメンバに対して車両後方から近接して対向する変位抑制部を有している。
【0008】
ここで、車両急減速時や車両停車時に追突があった際等には、衝撃による慣性力でリヤシートクッションが車両前方に変位し、リヤシートクッションの後部が上昇しようとする。この際、ワイヤフレームの変位抑制部がクッションパッドを介してクロスメンバに押し当てられることで、クッションパッドの車両前方への変位が抑制される。これにより、ワイヤフレームの後端部がリヤシートバックの車両下方に配置された状態が維持されるので、リヤシートクッションの後部が上昇することをリヤシートバックとの干渉によって防止することができる。その結果、リヤシートクッションがフロアから外れることを防止可能となる。しかも、略U字状に曲げられた左右のワイヤがリヤシートクッションの後方に突出する構成ではないため、リヤシートクッションの梱包や運搬等が容易である。
【0009】
第2の態様のリヤシートクッションは、第1の態様において、前記ワイヤフレームは、
車両平面視で略枠状をなす枠状部と、車両左右方向に間隔をあけて並び、前記枠状部の前部と後部との間に架け渡された複数の架渡部と、を有し、複数の前記架渡部に前記変位抑制部が設けられている。
【0010】
第2の態様のリヤシートクッションでは、ワイヤフレームが枠状部と複数の架渡部とを有している。枠状部は、車両平面視で略枠状をなしている。複数の架渡部は、車両左右方向に間隔をあけて並び、枠状部の前部と後部との間に架け渡されている。このように、車両左右方向に間隔をあけて並ぶ複数の架渡部が、クロスメンバに対して車両後方から近接して対向する変位抑制部を有している。これにより、車両急減速時等におけるリヤシートクッションの車両前方への変位を良好に抑制することができる。
(【0011】以降は省略されています)
この特許をJ-PlatPat(特許庁公式サイト)で参照する
関連特許
日本発條株式会社
記録装置
9日前
日本発條株式会社
支持構造物
8日前
日本発條株式会社
支持構造物
8日前
日本発條株式会社
車両用シート
9日前
日本発條株式会社
車両用シート
14日前
日本発條株式会社
車両用シート
14日前
日本発條株式会社
車両用シート
8日前
日本発條株式会社
車両用シート
8日前
日本発條株式会社
車両用シート
8日前
日本発條株式会社
車両用立寝装置
8日前
日本発條株式会社
シート用操作装置
14日前
日本発條株式会社
車両用シート装置
8日前
日本発條株式会社
車両用シート装置
8日前
日本発條株式会社
コンタクトプローブ
8日前
日本発條株式会社
コンタクトプローブ
8日前
日本発條株式会社
シートカバーの固定方法
8日前
日本発條株式会社
ハーネス固定位置の識別構造
3日前
日本発條株式会社
シートカバー及び車両用シート
14日前
日本発條株式会社
車両用シートの操作アシスト構造
8日前
日本発條株式会社
介在物評価方法及び試験片の製造方法
7日前
日本発條株式会社
制御装置、制御方法、及び、プログラム
8日前
日本発條株式会社
駐車用パレット及びこれを有する駐車装置
8日前
日本発條株式会社
記録装置、カバー、及びカバーの製造方法
8日前
日本発條株式会社
リヤシートクッション及び車両用リヤシート
15日前
日本発條株式会社
チェーン、チェーン収容装置、及び、駐車装置
7日前
日本発條株式会社
面状ヒータの製造方法、面状ヒータ及び加熱装置
8日前
日本発條株式会社
設計探査方法、設計探査プログラムおよび設計探査装置
8日前
日本発條株式会社
サスペンション装置のロック機構及びサスペンション装置
9日前
日本発條株式会社
設計探査方法、設計探査プログラム、設計探査装置および学習済みモデルの生成方法
8日前
日本発條株式会社
研磨装置及び研磨方法、並びに機械部品
11日前
日本発條株式会社
モータの製造装置及びモータの製造方法
3日前
個人
タイヤレバー
2か月前
個人
前輪キャスター
1か月前
個人
上部一体型自動車
14日前
個人
タイヤ脱落防止構造
1か月前
個人
ルーフ付きトライク
2か月前
続きを見る
他の特許を見る