TOP
|
特許
|
意匠
|
商標
特許ウォッチ
Twitter
他の特許を見る
10個以上の画像は省略されています。
公開番号
2025152477
公報種別
公開特許公報(A)
公開日
2025-10-09
出願番号
2024054391
出願日
2024-03-28
発明の名称
車両用シート
出願人
日本発條株式会社
代理人
弁理士法人太陽国際特許事務所
主分類
B60N
2/70 20060101AFI20251002BHJP(車両一般)
要約
【課題】駆動モータ等のアクチュエータを用いることなく安定した着座感を得ることができる車両用シートを得る。
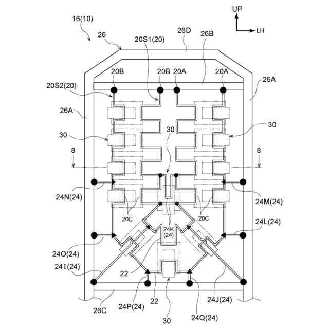
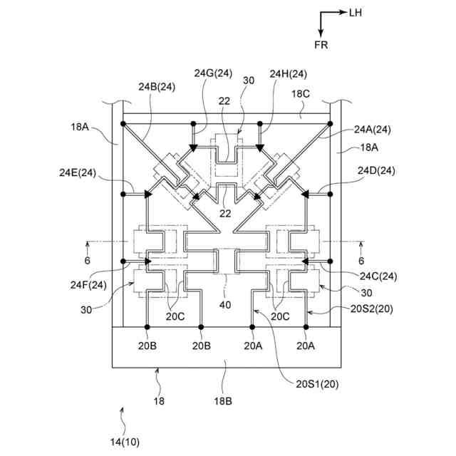
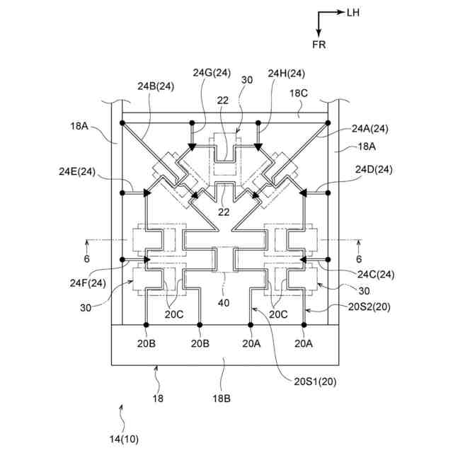
【解決手段】車両用シート10は、シートクッション14又はシートバック16の骨格部を構成する矩形枠状のフレーム部と、フレーム部に取付けられるクッションパッドと、当該クッションパッドの下方側かつフレーム部の内側に配置された第1のシートスプリング20S1と、第1のシートスプリング20S1を外側から囲う第2のシートスプリングS2と、第1のシートスプリング20S1及び第2のシートスプリング20S2のそれぞれをフレーム部に連結する複数の支持スプリング24と、を備えている。ここで、第1のシートスプリング20S1及び第2のシートスプリング20S2は、フレーム部の4辺のうち、シート幅方向の2辺を含む少なくとも3辺に沿うように配策された周回部22を有している。
【選択図】図2
特許請求の範囲
【請求項1】
矩形枠状のフレーム部と、
前記フレーム部に取付けられるとともに着座乗員の身体を支持する支持面を形成するクッションパッドと、
前記クッションパッドの下方側かつ前記フレーム部の内側に配置された第1のシートスプリングと、
前記クッションパッドの下方側かつ前記フレーム部の内側に配置され、前記第1のシートスプリングを外側から囲う第2のシートスプリングと、
前記第1のシートスプリング及び前記第2のシートスプリングのそれぞれを前記フレーム部に連結し、前記クッションパッドを押圧する着座乗員の自重により前記第1のシートスプリング及び前記第2のシートスプリングを撓み変形させるように支持する複数の支持スプリングと、を備え、
前記第1のシートスプリング及び前記第2のシートスプリングは、前記フレーム部の4辺のうち、シート幅方向の2辺を含む少なくとも3辺に沿うように配策された周回部を有するように構成されている、
車両用シート。
続きを表示(約 1,500 文字)
【請求項2】
前記支持スプリングは、前記第1のシートスプリングと前記フレーム部とを連結する第1の支持スプリングと、前記第2のシートスプリングと前記フレーム部とを連結する第2の支持スプリングと、を備え、
前記第2の支持スプリングの弾性率は、前記第1の支持スプリングの弾性率よりも大きくなるように設定されている、
請求項1に記載の車両用シート。
【請求項3】
前記フレーム部は、着座乗員の腰部及び背部を支持するシートバックの骨格部を構成し、
前記第1のシートスプリング及び前記第2のシートスプリングは、延在方向の両端が前記フレーム部のシート上方側の1辺に固定され、シート下方側に向かって湾曲した略U字状に配策されるとともに、シート幅方向の2辺とシート下方側の1辺に沿うように配策された前記周回部を有するように構成されている、
請求項1又は請求項2に記載の車両用シート。
【請求項4】
前記フレーム部は、着座臀部及び大腿部を支持するシートクッションの骨格部を構成し、
前記第1のシートスプリング及び前記第2のシートスプリングは、延在方向の両端が前記フレーム部のシート前方側の1辺に固定され、シート後方側に向かって湾曲した略U字状に配策されるとともに、シート幅方向の2辺とシート後方側の1辺に沿うように配策された前記周回部を有するように構成されている、
請求項1又は請求項2に記載の車両用シート。
【請求項5】
前記第1のシートスプリング及び前記第2のシートスプリングは、前記クッションパッドの支持面に沿って蛇行するフォームドワイヤで構成されている、
請求項1又は請求項2に記載の車両用シート。
【請求項6】
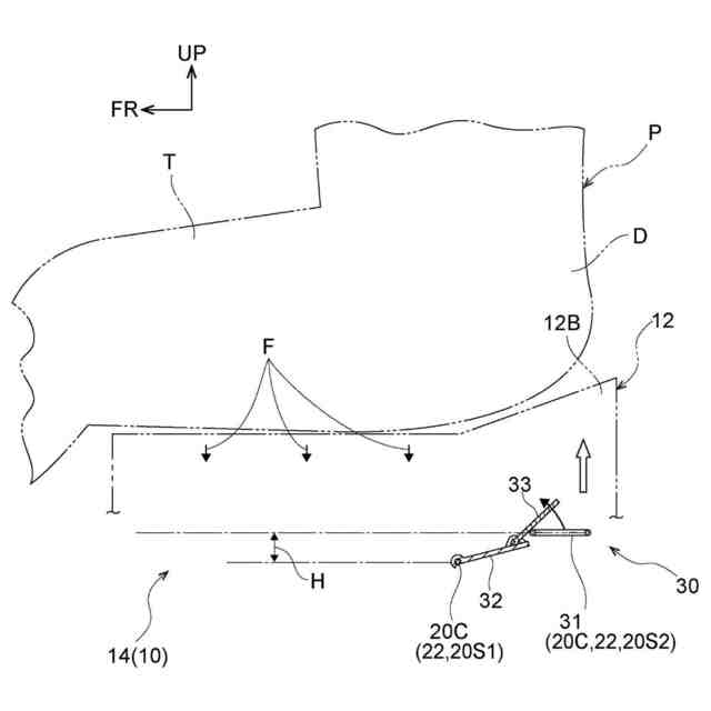
前記第2のシートスプリングに設けられた第1押上部と、前記第1のシートスプリングと前記第2のシートスプリングとの間に架け渡して設けられた第2押上部と、前記第2押上部に傾動可能に支持され、前記第1押上部に対向して配置された第3押上部と、を有し、前記第1のシートスプリングが撓み変形して前記第2押上部が変位した際に、前記第3押上部が前記第1押上部に接触した状態で前記第2押上部に対して傾動して前記クッションパッドの外周側の部分の少なくとも一部を押し上げる押上装置と、を更に備える、
請求項1又は請求項2に記載の車両用シート。
【請求項7】
前記第1のシートスプリング及び前記第2のシートスプリングは、前記クッションパッドの支持面に沿って蛇行するフォームドワイヤで構成されており、
前記第1押上部は、前記第2のシートスプリングの撓み部で構成されている、
請求項6に記載の車両用シート。
【請求項8】
前記第1のシートスプリングと前記第2のシートスプリングとの間に架け渡して設けられ、記第1のシートスプリングに支持される第1の端部と前記第2のシートスプリングに支持される第2の端部とを有し、
前記第1のシートスプリングが撓み変形して前記第1の端部が変位した際に、前記第2の端部が前記クッションパッドの外周側の部分の少なくとも一部を押し上げる押上プレートと、を更に備える、
請求項1又は請求項2に記載の車両用シート。
【請求項9】
前記押上プレートは、前記第2の端部の幅が前記第1の端部の幅よりも大きくなるように設定されている、
請求項8に記載の車両用シート。
【請求項10】
前記押上プレートは、前記第2の端部の先端が前記第2のシートスプリングよりも外側に突出している、
請求項8に記載の車両用シート。
発明の詳細な説明
【技術分野】
【0001】
本発明は、車両用シートに関する。
続きを表示(約 1,800 文字)
【背景技術】
【0002】
下記特許文献1には、安定した着座感を得ることができる車両用シートが開示されている。この文献に記載された車両用シートでは、ステアリングの舵角及び操舵方向が検出されると、その舵角及び操舵方向に応じて駆動モータが駆動される。これにより、シートクッションのアッパフレームが左方向又は右方向に傾動され、車両用シートが遠心力と反対方向に傾斜する。これにより、車両のコーナリング時において安定した着座感を得ることが可能となっている。
【先行技術文献】
【特許文献】
【0003】
実開平7-24629号公報
【発明の概要】
【発明が解決しようとする課題】
【0004】
しかしながら、上記特許文献1に記載された車両用シートでは、安定した着座感を得るためには駆動モータ等のアクチュエータが必要になり、車両用シートの低コスト化が妨げられる。
【0005】
本発明は上記事実を考慮し、駆動モータ等のアクチュエータを用いることなく安定した着座感を得ることができる車両用シートを得ることが目的である。
【課題を解決するための手段】
【0006】
請求項1に記載の本発明に係る車両用シートは、矩形枠状のフレーム部と、前記フレーム部に取付けられるとともに着座乗員の身体を支持する支持面を形成するクッションパッドと、前記クッションパッドの下方側かつ前記フレーム部の内側に配置された第1のシートスプリングと、前記クッションパッドの下方側かつ前記フレーム部の内側に配置され、前記第1のシートスプリングを外側から囲う第2のシートスプリングと、前記第1のシートスプリング及び前記第2のシートスプリングのそれぞれを前記フレーム部に連結し、前記クッションパッドを押圧する着座乗員の自重により前記第1のシートスプリング及び前記第2のシートスプリングを撓み変形させるように支持する複数の支持スプリングと、を備え、前記第1のシートスプリング及び前記第2のシートスプリングは、前記フレーム部の4辺のうち、シート幅方向の2辺を含む少なくとも3辺に沿うように配策された周回部を有するように構成されている。
【0007】
請求項1に記載の本発明に係る車両用シートでは、着座乗員の自重によりクッションパッドに入力される荷重が高まることで、支持スプリングを介してフレーム部に支持された第1のシートスプリング及び第2のシートスプリングが撓む。これにより、クッションパッドの支持面が着座乗員の身体に沿って変形し、着座乗員の身体を拘束する。
【0008】
ここで、第1のシートスプリング及び第2のシートスプリングは、フレーム部の4辺のうち、シート幅方向の2辺を含む少なくとも3辺に沿うように配策された周回部を有している。このため、着座した乗員の自重によりクッションパッドを介して入力される荷重が、2本のシートスプリングの周回部を介してシート幅方向に分散される。これにより、クッションパッドとの接触部位から着座乗員に作用する体圧の偏りが抑制されるため、支持面が安定し、着座時の不快感や疲労感を抑制することができる。その結果、駆動モータ等のアクチュエータを用いることなく安定した着座感を得ることができる。
【0009】
請求項2に記載の本発明に係る車両用シートは、請求項1に記載の構成において、前記支持スプリングは、前記第1のシートスプリングと前記フレーム部とを連結する第1の支持スプリングと、前記第2のシートスプリングと前記フレーム部とを連結する第2の支持スプリングと、を備え、前記第2の支持スプリングの弾性率は、前記第1の支持スプリングの弾性率よりも大きくなるように設定されている。
【0010】
請求項2に記載の本発明に係る車両用シートでは、第2の支持スプリングの弾性率は、第1の支持スプリングの弾性率よりも大きくなるように設定されているため、着座した乗員の自重により、内側に配置された第1のシートスプリングの方が、外側に配置された第2のシートスプリングよりも撓みやすくなっている。これにより、フレーム部の中央部の沈み込みを外側の部位よりも深くすることができるため、クッションパッドの支持面が着座乗員の身体に沿って変形し易くなり、効果的に安定した着座感を得ることができる。
(【0011】以降は省略されています)
この特許をJ-PlatPat(特許庁公式サイト)で参照する
関連特許
日本発條株式会社
ハーネス固定位置の識別構造
4日前
日本発條株式会社
モータの製造装置及びモータの製造方法
4日前
個人
タイヤレバー
2か月前
個人
前輪キャスター
1か月前
個人
上部一体型自動車
15日前
個人
ルーフ付きトライク
2か月前
個人
タイヤ脱落防止構造
1か月前
日本精機株式会社
表示装置
2か月前
日本精機株式会社
表示装置
2か月前
日本精機株式会社
表示装置
2か月前
個人
車両通過構造物
2か月前
日本精機株式会社
表示装置
2か月前
個人
マスタシリンダ
22日前
個人
乗合路線バスの客室装置
3か月前
個人
車載小物入れ兼雨傘収納具
3か月前
株式会社豊田自動織機
産業車両
2か月前
個人
音声ガイド、音声サービス
2か月前
日本精機株式会社
車載表示装置
1か月前
日本精機株式会社
画像投映装置
11日前
個人
円湾曲ホイール及び球体輪
3か月前
日本精機株式会社
車室演出装置
1か月前
株式会社ニフコ
収納装置
1か月前
株式会社ニフコ
照明装置
1か月前
日本精機株式会社
車両用投影装置
29日前
日本精機株式会社
車両用表示装置
11日前
日本無線株式会社
取付金具
2か月前
日本精機株式会社
車両用投射装置
16日前
井関農機株式会社
作業車両
29日前
日本精機株式会社
車両用表示装置
2か月前
株式会社SUBARU
車両
9日前
極東開発工業株式会社
車両
2か月前
個人
段差通過を容易にする車輪構造
1か月前
日本化薬株式会社
ガス発生器
9日前
日産自動車株式会社
伝動部材
16日前
日本化薬株式会社
ガス発生器
1か月前
スズキ株式会社
運転支援装置
2か月前
続きを見る
他の特許を見る