TOP
|
特許
|
意匠
|
商標
特許ウォッチ
Twitter
他の特許を見る
公開番号
2025151198
公報種別
公開特許公報(A)
公開日
2025-10-09
出願番号
2024052504
出願日
2024-03-27
発明の名称
車両用シート
出願人
日本発條株式会社
代理人
弁理士法人太陽国際特許事務所
主分類
B60N
2/427 20060101AFI20251002BHJP(車両一般)
要約
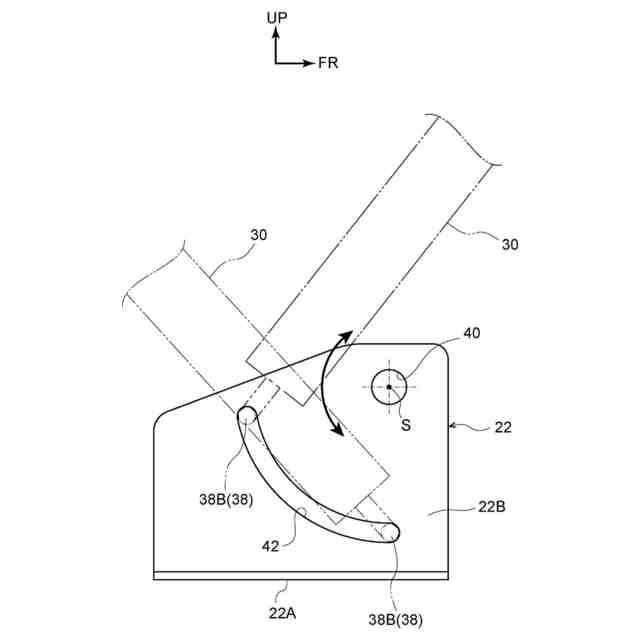
【課題】シートバックに付勢力を付与しつつ構成の簡略化を図ることができる車両用シートを得る。
【解決手段】車両用シート10は、乗員の背部を支持するシートバック16の骨格の一部を構成すると共にシートバック16の側部に沿って延在しかつパイプ材で構成されたシートバックサイドフレーム30と、シートバック16を乗員の臀部及び大腿部を支持可能なシートクッションに対してシート幅方向周りに回動可能に支持すると共にシート幅方向に貫通された長孔部42が形成された支持ブラケット22と、シートバックサイドフレーム30に挿入された挿入部38Aと、長孔部42に挿通されると共にシートバック16の傾倒時において長孔部42と当接する挿通部38Bと、シートバック16の傾倒時においてシートバック16に付勢力を付与する付勢力発生部38Cとを備えた付勢部材38とを有している。
【選択図】図1
特許請求の範囲
【請求項1】
乗員の背部を支持するシートバックの骨格の一部を構成すると共に当該シートバックの側部に沿って延在しかつパイプ材で構成されたシートバックサイドフレームと、
前記シートバックを乗員の臀部及び大腿部を支持可能なシートクッションに対してシート幅方向周りに回動可能に支持すると共にシート幅方向に貫通された貫通部が形成された支持部と、
前記シートバックサイドフレームに挿入された挿入部と、前記貫通部に挿通されると共に前記シートバックの傾倒時において当該支持部と当接する挿通部と、当該挿入部と当該挿通部との間に介在しかつ当該シートバックの傾倒時において当該シートバックに付勢力を付与する付勢力発生部と、を備えた付勢部材と、
を有する車両用シート。
続きを表示(約 390 文字)
【請求項2】
前記付勢力発生部は、シート幅方向を軸方向とされたコイルばねとされている、
請求項1に記載の車両用シート。
【請求項3】
前記付勢力発生部は、シート幅方向に延在するトーションバーとされている、
請求項1に記載の車両用シート。
【請求項4】
前記シートバックサイドフレームのシート上方側の部分に当該シートバックサイドフレームが内周側に潰された潰れ部が形成されており、当該潰れ部の内周側に前記挿入部の先端部が曲げられた係止部が係止されている、
請求項3に記載の車両用シート。
【請求項5】
前記貫通部は、シート幅方向から見て前記シートバックの前記シートクッションに対する回動軸を中心とする円弧に沿うように形成されている、
請求項1~請求項4の何れか1項に記載の車両用シート。
発明の詳細な説明
【技術分野】
【0001】
本発明は、車両用シートに関する。
続きを表示(約 1,100 文字)
【背景技術】
【0002】
下記特許文献1には、車両用シートに関する発明が開示されている。この車両用シートでは、スパイラルスプリングによってシートバックが付勢されている。
【先行技術文献】
【特許文献】
【0003】
特開2023-130261号公報
【発明の概要】
【発明が解決しようとする課題】
【0004】
しかしながら、上記特許文献1に係る先行技術では、スパイラルスプリングの取り付けにブラケットや軸受等の複数の部品が用いられており、シートバックに付勢力を付与しつつ構成の簡略化を図るという点においては改善の余地がある。
【0005】
本発明は上記事実を考慮し、シートバックに付勢力を付与しつつ構成の簡略化を図ることができる車両用シートを得ることが目的である。
【課題を解決するための手段】
【0006】
第1の態様に係る車両用シートは、乗員の背部を支持するシートバックの骨格の一部を構成すると共に当該シートバックの側部に沿って延在しかつパイプ材で構成されたシートバックサイドフレームと、前記シートバックを乗員の臀部及び大腿部を支持可能なシートクッションに対してシート幅方向周りに回動可能に支持すると共にシート幅方向に貫通された貫通部が形成された支持部と、前記シートバックサイドフレームに挿入された挿入部と、前記貫通部に挿通されると共に前記シートバックの傾倒時において当該支持部と当接する挿通部と、当該挿入部と当該挿通部との間に介在しかつ当該シートバックの傾倒時において当該シートバックに付勢力を付与する付勢力発生部と、を備えた付勢部材と、を有している。
【0007】
第1の態様に係る車両用シートによれば、乗員の背部を支持するシートバックの骨格の一部がシートバックサイドフレームで構成されている。このシートバックサイドフレームは、シートバックの側部に沿って延在すると共にパイプ材で構成されている。
【0008】
また、本態様では、シートバックが、支持部によって、乗員の臀部及び大腿部を支持可能なシートクッションに対してシート幅方向周りに回動可能に支持されている。
【0009】
ところで、シートバックをシートクッションに対して付勢するにあたって、シートバックとシートクッションとの間にスパイラルスプリングを介在させるような構成を採用することが考えられる。
【0010】
しかしながら、このような構成を採用すると、スパイラルスプリングの取り付けに軸受等の複数の部品を用いる必要がある。
(【0011】以降は省略されています)
この特許をJ-PlatPat(特許庁公式サイト)で参照する
関連特許
日本発條株式会社
積層体
15日前
日本発條株式会社
積層体
15日前
日本発條株式会社
駐車装置
1か月前
日本発條株式会社
記録装置
6日前
日本発條株式会社
支持構造物
5日前
日本発條株式会社
支持構造物
5日前
日本発條株式会社
放熱構造体
26日前
日本発條株式会社
空調シート
1か月前
日本発條株式会社
ヒータ装置
15日前
日本発條株式会社
車両用シート
5日前
日本発條株式会社
車両用シート
25日前
日本発條株式会社
車両用シート
11日前
日本発條株式会社
車両用シート
25日前
日本発條株式会社
車両用シート
11日前
日本発條株式会社
車両用シート
25日前
日本発條株式会社
クリップ部材
19日前
日本発條株式会社
車両用シート
1か月前
日本発條株式会社
車両用シート
6日前
日本発條株式会社
車両用シート
1か月前
日本発條株式会社
車両用シート
1か月前
日本発條株式会社
車両用シート
1か月前
日本発條株式会社
車両用シート
1か月前
日本発條株式会社
車両用シート
5日前
日本発條株式会社
車両用シート
5日前
日本発條株式会社
車両用支持装置
15日前
日本発條株式会社
車両用立寝装置
5日前
日本発條株式会社
車両用リアシート
15日前
日本発條株式会社
車両用シート装置
5日前
日本発條株式会社
車両用リアシート
13日前
日本発條株式会社
シート用操作装置
11日前
日本発條株式会社
車両用シート装置
5日前
日本発條株式会社
車両用リアシート
15日前
日本発條株式会社
コンタクトプローブ
5日前
日本発條株式会社
インサート成形部品
19日前
日本発條株式会社
コンタクトプローブ
5日前
日本発條株式会社
車両用ハンモック装置
13日前
続きを見る
他の特許を見る