TOP
|
特許
|
意匠
|
商標
特許ウォッチ
Twitter
他の特許を見る
10個以上の画像は省略されています。
公開番号
2025152266
公報種別
公開特許公報(A)
公開日
2025-10-09
出願番号
2024054086
出願日
2024-03-28
発明の名称
コンタクトプローブ
出願人
日本発條株式会社
代理人
弁理士法人酒井国際特許事務所
主分類
G01R
1/067 20060101AFI20251002BHJP(測定;試験)
要約
【課題】安定した電気的導通を確保することができるコンタクトプローブを提供すること。
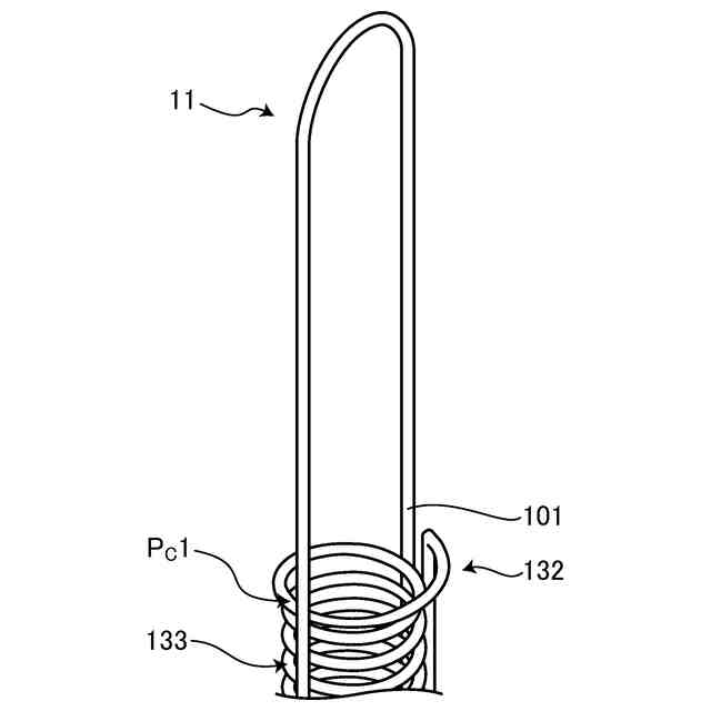
【解決手段】本発明に係るコンタクトプローブは、第1端子部と、第2端子部と、第1および第2端子部を進退自在に連結するばね部とを備え、当該コンタクトプローブは、ひと続きの線材を屈曲させてなり、ばね部は、巻回部と、巻回部の第2端子部側の端部である第1端部と、巻回部の第1端子部側の端部である第2端部と、第1端部から第2端部に向かって、当該コンタクトプローブの軸線方向に沿って延び、第1端子部に連なる第1延在部と、第2端部から第1端部に向かって軸線方向に沿って延び、第2端子部に連なる第2延在部と、を有し、第1延在部は、第2端部に接触し、第2延在部は、第1端部に接触する。
【選択図】図1
特許請求の範囲
【請求項1】
長手方向の両端部側で接触対象とそれぞれ接触するコンタクトプローブであって、
一方の接触対象に接触する第1端子部と、
他方の接触対象に接触する第2端子部と、
前記第1および第2端子部の間に設けられて、該第1および第2端子部を進退自在に連結するばね部と、
を備え、
当該コンタクトプローブは、ひと続きの線材を屈曲させてなり、
前記ばね部は、
所定の間隔をもって巻回される巻回部と、
前記巻回部の前記第2端子部側の端部である第1端部と、
前記巻回部の前記第1端子部側の端部である第2端部と、
前記第1端部から前記第2端部に向かって、当該コンタクトプローブの軸線方向に沿って延び、前記第1端子部に連なる第1延在部と、
前記第2端部から前記第1端部に向かって前記軸線方向に沿って延び、前記第2端子部に連なる第2延在部と、
を有し、
前記第1延在部は、前記第2端部に接触し、
前記第2延在部は、前記第1端部に接触する、
ことを特徴とするコンタクトプローブ。
続きを表示(約 770 文字)
【請求項2】
前記第1および第2端部は、前記ばね部と比して、前記線材のなす径が大きく、
前記第1端部と前記第2延在部とが接触し、
前記第2端部と前記第1延在部とが接触する、
ことを特徴とする請求項1に記載のコンタクトプローブ。
【請求項3】
前記第1端子部は、前記第1延在部から軸線方向に沿って延びた後、前記ばね部側に折り返してなり、
前記第2端子部は、前記第2延在部から軸線方向に沿って延びた後、前記ばね部側に折り返してなる、
ことを特徴とする請求項1に記載のコンタクトプローブ。
【請求項4】
前記第1および/または第2端子部の屈曲部分は、弧状をなしている、
ことを特徴とする請求項3に記載のコンタクトプローブ。
【請求項5】
前記第1および/または第2端子部の屈曲部分は、鋭利な先端形状をなす頭頂部を有している、
ことを特徴とする請求項3に記載のコンタクトプローブ。
【請求項6】
前記第1および/または第2端子部の屈曲部分は、平坦な形状をなす頭頂部を有している、
ことを特徴とする請求項3に記載のコンタクトプローブ。
【請求項7】
前記第1および/または第2端子部の屈曲部分は、先細な頭頂部を複数有するジグザグ形状をなしている、
ことを特徴とする請求項3に記載のコンタクトプローブ。
【請求項8】
前記第1端子部は、前記第1延在部から軸線方向に沿って延びた後、前記軸線側に傾斜してなり、
前記第2端子部は、前記第2延在部から軸線方向に沿って延びた後、前記軸線側に傾斜してなる、
ことを特徴とする請求項1に記載のコンタクトプローブ。
発明の詳細な説明
【技術分野】
【0001】
本発明は、コンタクトプローブに関するものである。
続きを表示(約 1,500 文字)
【背景技術】
【0002】
従来、半導体集積回路や液晶表示装置などの検査対象物の導通状態検査や動作特性検査を行う際には、検査対象と検査用信号を出力する回路基板を有する信号処理装置との間の電気的な接続を図る導電性のコンタクトプローブが用いられる(例えば、特許文献1を参照)。特許文献1に記載のコンタクトプローブは、平板状に延びる第1および第2部分と、ジグザグ状をなして延び、第1および第2部分を連結する第3部分とを備え、使用時は折り畳むことによって、第1部分および第3部分、第2部分および第3部分を接触させて導通経路を短くしている。
【先行技術文献】
【特許文献】
【0003】
特表2020-502513号公報
【発明の概要】
【発明が解決しようとする課題】
【0004】
しかしながら、特許文献1に記載のコンタクトプローブでは、折り畳んで信号を導通させる際に、平面的な構造であるため、摩擦が大きく、荷重ヒステリシスが大きい。このため、特許文献1に記載のような構成のコンタクトプローブでは、電気信号の導通が不安定となるおそれがあった。
【0005】
本発明は、上記に鑑みてなされたものであって、安定した電気的導通を確保することができるコンタクトプローブを提供することを目的とする。
【課題を解決するための手段】
【0006】
上述した課題を解決し、目的を達成するために、本発明にかかるコンタクトプローブは、長手方向の両端部側で接触対象とそれぞれ接触するコンタクトプローブであって、一方の接触対象に接触する第1端子部と、他方の接触対象に接触する第2端子部と、前記第1および第2端子部の間に設けられて、該第1および第2端子部を進退自在に連結するばね部と、を備え、当該コンタクトプローブは、ひと続きの線材を屈曲させてなり、前記ばね部は、所定の間隔をもって巻回される巻回部と、前記巻回部の前記第2端子部側の端部である第1端部と、前記巻回部の前記第1端子部側の端部である第2端部と、前記第1端部から前記第2端部に向かって、当該コンタクトプローブの軸線方向に沿って延び、前記第1端子部に連なる第1延在部と、前記第2端部から前記第1端部に向かって前記軸線方向に沿って延び、前記第2端子部に連なる第2延在部と、を有し、前記第1延在部は、前記第2端部に接触し、前記第2延在部は、前記第1端部に接触する、ことを特徴とする。
【0007】
また、本発明にかかるコンタクトプローブは、上記の発明において、前記第1および第2端部は、前記ばね部と比して、前記線材のなす径が大きく、前記第1端部と前記第2延在部とが接触し、前記第2端部と前記第1延在部とが接触する、ことを特徴とする。
【0008】
また、本発明にかかるコンタクトプローブは、上記の発明において、前記第1端子部は、前記第1延在部から軸線方向に沿って延びた後、前記ばね部側に折り返してなり、
前記第2端子部は、前記第2延在部から軸線方向に沿って延びた後、前記ばね部側に折り返してなる、ことを特徴とする。
【0009】
また、本発明にかかるコンタクトプローブは、上記の発明において、前記第1および/または第2端子部の屈曲部分は、弧状をなしている、ことを特徴とする。
【0010】
また、本発明にかかるコンタクトプローブは、上記の発明において、前記第1および/または第2端子部の屈曲部分は、鋭利な先端形状をなす頭頂部を有している、ことを特徴とする。
(【0011】以降は省略されています)
この特許をJ-PlatPat(特許庁公式サイト)で参照する
関連特許
日本発條株式会社
積層体
15日前
日本発條株式会社
積層体
15日前
日本発條株式会社
記録装置
6日前
日本発條株式会社
駐車装置
1か月前
日本発條株式会社
ヒータ装置
15日前
日本発條株式会社
空調シート
1か月前
日本発條株式会社
支持構造物
5日前
日本発條株式会社
支持構造物
5日前
日本発條株式会社
放熱構造体
26日前
日本発條株式会社
車両用シート
5日前
日本発條株式会社
車両用シート
5日前
日本発條株式会社
クリップ部材
19日前
日本発條株式会社
車両用シート
11日前
日本発條株式会社
車両用シート
11日前
日本発條株式会社
車両用シート
25日前
日本発條株式会社
車両用シート
25日前
日本発條株式会社
車両用シート
25日前
日本発條株式会社
車両用シート
6日前
日本発條株式会社
車両用シート
1か月前
日本発條株式会社
車両用シート
1か月前
日本発條株式会社
車両用シート
1か月前
日本発條株式会社
車両用シート
5日前
日本発條株式会社
車両用シート
1か月前
日本発條株式会社
車両用立寝装置
5日前
日本発條株式会社
車両用支持装置
15日前
日本発條株式会社
車両用リアシート
13日前
日本発條株式会社
車両用シート装置
5日前
日本発條株式会社
シート用操作装置
11日前
日本発條株式会社
車両用シート装置
5日前
日本発條株式会社
車両用リアシート
15日前
日本発條株式会社
車両用リアシート
15日前
日本発條株式会社
インサート成形部品
19日前
日本発條株式会社
コンタクトプローブ
5日前
日本発條株式会社
コンタクトプローブ
5日前
日本発條株式会社
車両用ハンモック装置
13日前
日本発條株式会社
接合体および接合方法
15日前
続きを見る
他の特許を見る