TOP
|
特許
|
意匠
|
商標
特許ウォッチ
Twitter
他の特許を見る
10個以上の画像は省略されています。
公開番号
2025149477
公報種別
公開特許公報(A)
公開日
2025-10-08
出願番号
2024050150
出願日
2024-03-26
発明の名称
記録装置
出願人
日本発條株式会社
代理人
個人
,
個人
主分類
G11B
33/12 20060101AFI20251001BHJP(情報記憶)
要約
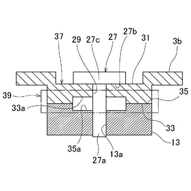
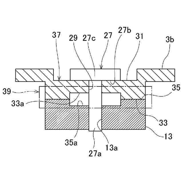
【課題】より確実に記録装置の固定軸のすべりを抑制することが可能な記録装置を提供する。
【解決手段】ハウジングベース3aに設けられ端部に締結用の固定面45を備えた固定軸13と、カバー3bに設けられ固定面35に締結される締結部37と、締結部37の厚み方向での表面及び裏面の受面31及び当面33と、受面31に厚み方向で当接する締結面27bを備えた締結具27と、相互に当接する当面33と固定面35との間に設けられ固定軸13の軸心周りで周方向に係合する複数の係合部39とを備えた。
【選択図】図4
特許請求の範囲
【請求項1】
ハウジングベースの開口がカバーによって閉止されたハウジング内に記録媒体を収容する記録装置であって、
前記ハウジングベースに設けられ端部に締結用の固定面を有する固定軸と、
前記カバーに設けられ前記固定面に締結される締結部と、
前記締結部の厚み方向での表面の受面と、
前記固定面に当接する前記締結部の前記厚み方向での裏面の当面と、
前記受面に前記厚み方向で当接する締結面を有する締結具と、
相互に当接する面である前記当面と前記固定面との間又は前記締結面と前記受面との間に設けられ前記固定軸の軸心周りで周方向に係合する複数の係合部と、
を備えた、
記録装置。
続きを表示(約 750 文字)
【請求項2】
請求項1の記録装置であって、
前記固定軸は、前記記録媒体を回転自在に支持するためのシャフトである、
記録装置。
【請求項3】
請求項1又は2の記録装置であって、
前記複数の係合部は、前記軸心周りに一定間隔で配置された、
記録装置。
【請求項4】
請求項1又は2の記録装置であって、
前記複数の係合部のそれぞれは、前記相互に当接する面の一方から前記軸心の方向に突出した山部と、前記相互に当接する面の他方に設けられ前記山部を前記軸心の方向で受けて嵌合させる谷部とを備える、
記録装置。
【請求項5】
請求項4の記録装置であって、
前記複数の係合部の前記山部及び前記谷部は楔形状である、
記録装置。
【請求項6】
請求項4の記録装置であって、
前記山部及び前記谷部は、前記周方向の一側に他側よりも前記周方向に対して立ち上がった係合面を備える、
記録装置。
【請求項7】
請求項4の記録装置であって、
前記複数の係合部は、前記山部及び前記谷部の一方を径方向に複数列備え、
前記複数列の前記山部及び前記谷部の一方は、前記周方向の位相が異なり、
前記山部及び前記谷部の他方は、前記複数列の前記山部及び前記谷部の前記一方の前記周方向での配置間隔に対応した間隔で配置される、
記録装置。
【請求項8】
請求項1又は2の記録装置であって、
前記複数の係合部は、前記締結面と前記受面との間に備えられ、
前記締結部は、前記軸心の方向で変位可能な弾性を有する、
記録装置。
発明の詳細な説明
【技術分野】
【0001】
本発明は、ハウジングベースの開口がカバーによって閉止されたハウジング内に記録媒体を収容するハードディスクドライブ等の記録装置に関する。
続きを表示(約 960 文字)
【背景技術】
【0002】
従来の記録装置としては、特許文献1に記載の磁気ディスク装置がある。
【0003】
この磁気ディスク装置では、ハウジングベースのスピンドルシャフトにカバーを接触させて締結している。スピンドルシャフトに対するカバーの接触面には、面粗しが施されている。
【0004】
従って、外部から衝撃が印加された場合、面粗しによりスピンドルシャフトのカバーに対するすべりが抑えられ、スピンドルシャフトの傾きを防止することができるようになっている。
【0005】
しかし、単純な面粗しのみではすべりの抑制に限界があった。
【0006】
こうしたすべりの抑制に関する課題は、スピンドルシャフトの傾き以外にも記録装置の耐衝撃性等に影響する他の固定軸、例えばヘッドを支持するキャリッジにおいても同様に生じ得る。
【先行技術文献】
【特許文献】
【0007】
特開2006-172671号公報
【発明の概要】
【発明が解決しようとする課題】
【0008】
解決しようとする問題点は、記録装置の固定軸のカバーに対するすべりの抑制に限界があった点である。
【課題を解決するための手段】
【0009】
本発明は、ハウジングベースの開口がカバーによって閉止されたハウジング内に記録媒体を収容する記録装置であって、前記ハウジングベースに設けられ端部に締結用の固定面を有する固定軸と、前記カバーに設けられ前記固定面に締結される締結部と、前記締結部の厚み方向での表面の受面と、前記固定面に当接する前記締結部の前記厚み方向での裏面の当面と、前記受面に前記厚み方向で当接する締結面を有する締結具と、相互に当接する面である前記当面と前記固定面との間又は前記締結面と前記受面との間に設けられ前記固定軸の軸心周りで周方向に係合する複数の係合部と、を備えた、記録装置を提供する。
【発明の効果】
【0010】
本発明は、より確実に記録装置の固定軸のカバーに対するすべりを抑制できる。
【図面の簡単な説明】
(【0011】以降は省略されています)
この特許をJ-PlatPat(特許庁公式サイト)で参照する
関連特許
日本発條株式会社
積層体
14日前
日本発條株式会社
積層体
14日前
日本発條株式会社
駐車装置
1か月前
日本発條株式会社
記録装置
5日前
日本発條株式会社
ヒータ装置
14日前
日本発條株式会社
空調シート
1か月前
日本発條株式会社
支持構造物
4日前
日本発條株式会社
放熱構造体
25日前
日本発條株式会社
支持構造物
4日前
日本発條株式会社
車両用シート
10日前
日本発條株式会社
車両用シート
1か月前
日本発條株式会社
車両用シート
10日前
日本発條株式会社
車両用シート
24日前
日本発條株式会社
車両用シート
1か月前
日本発條株式会社
車両用シート
24日前
日本発條株式会社
車両用シート
24日前
日本発條株式会社
クリップ部材
18日前
日本発條株式会社
車両用シート
5日前
日本発條株式会社
車両用シート
1か月前
日本発條株式会社
車両用シート
1か月前
日本発條株式会社
車両用シート
1か月前
日本発條株式会社
車両用シート
4日前
日本発條株式会社
車両用シート
4日前
日本発條株式会社
車両用シート
4日前
日本発條株式会社
車両用立寝装置
4日前
日本発條株式会社
車両用支持装置
14日前
日本発條株式会社
車両用リアシート
14日前
日本発條株式会社
車両用リアシート
12日前
日本発條株式会社
シート用操作装置
10日前
日本発條株式会社
車両用シート装置
4日前
日本発條株式会社
車両用シート装置
4日前
日本発條株式会社
車両用リアシート
14日前
日本発條株式会社
コンタクトプローブ
4日前
日本発條株式会社
コンタクトプローブ
4日前
日本発條株式会社
インサート成形部品
18日前
日本発條株式会社
車両用ハンモック装置
12日前
続きを見る
他の特許を見る