TOP
|
特許
|
意匠
|
商標
特許ウォッチ
Twitter
他の特許を見る
公開番号
2025152476
公報種別
公開特許公報(A)
公開日
2025-10-09
出願番号
2024054390
出願日
2024-03-28
発明の名称
シートカバーの固定方法
出願人
日本発條株式会社
代理人
弁理士法人太陽国際特許事務所
主分類
A47C
27/14 20060101AFI20251002BHJP(家具;家庭用品または家庭用設備;コーヒーひき;香辛料ひき;真空掃除機一般)
要約
【課題】シートパッドにシートカバーを取り付ける作業を簡略化することができるシートカバーの固定方法を得る。
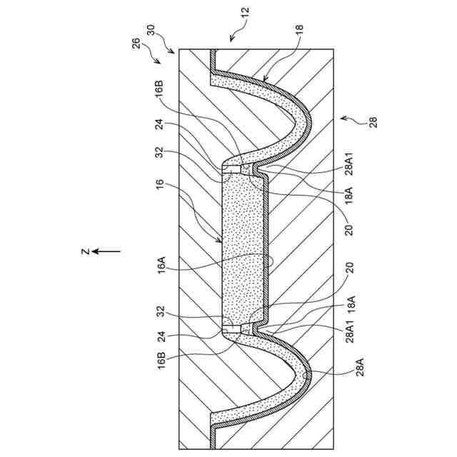
【解決手段】シートバックカバー18に設けられた溝部18Aに下型28の固定面28Aに設けられた突条部28A1が係止されるようにシートバックカバー18を固定面28Aに対して固定し、下型28と型合わせ可能とされた上型30の固定面に対して下型28と上型30との型合わせ方向から見てシートバックパッド16におけるシートバックカバー18の取付面16Aに設けられた溝部16Bが突条部28A1と重なるようにシートバックパッド16を固定し、上型30と下型28とを型合わせしてシートバックカバー18とシートバックパッド16とが密着した状態でシートバックパッド16に設けられると共に溝部16Bと連通された貫通部24に上型30側から挿入された注入ノズル32から発泡原液を溝部16Bに注入する。
【選択図】図2
特許請求の範囲
【請求項1】
シートカバーに設けられた第1溝部に下型の第1固定面に設けられた突条部が係止されるように当該シートカバーを当該第1固定面に対して固定し、
前記下型と型合わせ可能とされた上型の第2固定面に対して当該下型と当該上型との型合わせ方向から見てシートパッドにおける前記シートカバーの取付面に設けられた第2溝部が前記突条部と重なるように当該シートパッドを固定し、
前記上型と前記下型とを型合わせして前記シートカバーと前記シートパッドとが密着した状態で当該シートパッドに設けられると共に前記第2溝部と連通された貫通部に当該上型側から挿入された注入ノズルから発泡原液を当該第2溝部に注入する、
シートカバーの固定方法。
発明の詳細な説明
【技術分野】
【0001】
本発明は、シートカバーの固定方法に関する。
続きを表示(約 1,400 文字)
【背景技術】
【0002】
下記特許文献1には、車両用シートの製造方法に関する発明が開示されている。この車両用シートの製造方法では、モールドパッド(シートパッド)に設けられた溝内に接着剤を付加して、この溝内にトリムカバー(シートカバー)を押し込み、モールドパッドのトリムカバーで覆う反対面からモールドパッドに蒸気ノズルを挿入して、蒸気ノズルからの加熱によって溝内の接着剤を溶融させて溝にトリムカバーを接着させている。
【先行技術文献】
【特許文献】
【0003】
特許第6552826号
【発明の概要】
【発明が解決しようとする課題】
【0004】
しかしながら、上記特許文献1に記載された先行技術による場合、作業者が特殊な治具を用いてトリムカバーの一部をモールドパッドの溝に押し込む必要がある。このため、シートパッドにトリムカバーを取り付ける作業が煩雑なものとなることが考えられる。
【0005】
本発明は上記事実を考慮し、シートパッドにシートカバーを取り付ける作業を簡略化することができるシートカバーの固定方法を得ることが目的である。
【課題を解決するための手段】
【0006】
第1の態様に係るシートカバーの固定方法は、シートカバーに設けられた第1溝部に下型の第1固定面に設けられた突条部が係止されるように当該シートカバーを当該第1固定面に対して固定し、前記下型と型合わせ可能とされた上型の第2固定面に対し当該下型と当該上型との型合わせ方向から見てシートパッドにおける前記シートカバーの取付面に設けられた第2溝部が前記突条部と重なるように当該シートパッドを固定し、前記上型と前記下型とを型合わせして前記シートカバーと前記シートパッドとが密着した状態で当該シートパッドに設けられると共に前記第2溝部と連通された貫通部に当該上型側から挿入された注入ノズルから発泡原液を当該第2溝部に注入する。
【0007】
第1の態様に係るシートカバーの固定方法によれば、シートカバーに設けられた第1溝部に下型の第1固定面に設けられた突条部が係止されるように、シートカバーを第1固定面に対して固定する。また、下型と型合わせ可能とされた上型の第2固定面に対して、下型と上型との型合わせ方向から見てシートパッドにおけるシートカバーの取付面に設けられた第2溝部が第1固定面の突条部と重なるように、シートパッドを固定する。
【0008】
ところで、シートカバーとシートパッドとを固定するには、シートパッドの第2溝部に接着剤を流し込み、シートカバーの第1溝部を第2溝部側に押し込んでシートカバーとシートパッドとを接着するような方法が考えられる。
【0009】
しかしながら、このような方法を採用すると、作業者が特殊な治具を用いてシートカバーの第1溝部をシートパッドの第2溝部に押し込む必要があり、シートパッドにシートカバーを取り付ける作業が煩雑なものとなることが考えられる。
【0010】
ここで、本態様では、上型と下型とを型合わせしてシートカバーとシートパッドとが密着した状態で、シートパッドに設けられると共に第2溝部と連通された貫通部に上型側から挿入された注入ノズルから発泡原液を第2溝部に注入する。
(【0011】以降は省略されています)
この特許をJ-PlatPat(特許庁公式サイト)で参照する
関連特許
日本発條株式会社
積層体
20日前
日本発條株式会社
積層体
20日前
日本発條株式会社
駐車装置
1か月前
日本発條株式会社
駐車装置
1か月前
日本発條株式会社
記録装置
11日前
日本発條株式会社
支持構造物
10日前
日本発條株式会社
放熱構造体
1か月前
日本発條株式会社
空調シート
1か月前
日本発條株式会社
支持構造物
10日前
日本発條株式会社
ヒータ装置
20日前
日本発條株式会社
車両用シート
1か月前
日本発條株式会社
車両用シート
16日前
日本発條株式会社
車両用シート
16日前
日本発條株式会社
車両用シート
1か月前
日本発條株式会社
クリップ部材
24日前
日本発條株式会社
車両用シート
1か月前
日本発條株式会社
車両用シート
1か月前
日本発條株式会社
車両用シート
1か月前
日本発條株式会社
車両用シート
1か月前
日本発條株式会社
車両用シート
1か月前
日本発條株式会社
車両用シート
1か月前
日本発條株式会社
車両用シート
1か月前
日本発條株式会社
車両用シート
11日前
日本発條株式会社
車両用シート
10日前
日本発條株式会社
駐車システム
1か月前
日本発條株式会社
車両用シート
10日前
日本発條株式会社
車両用シート
1か月前
日本発條株式会社
車両用シート
10日前
日本発條株式会社
車両用シート
1か月前
日本発條株式会社
車両用立寝装置
10日前
日本発條株式会社
シート空調装置
1か月前
日本発條株式会社
車両用支持装置
20日前
日本発條株式会社
車両用シート装置
10日前
日本発條株式会社
車両用リアシート
20日前
日本発條株式会社
車両用リアシート
20日前
日本発條株式会社
シート用操作装置
16日前
続きを見る
他の特許を見る