TOP
|
特許
|
意匠
|
商標
特許ウォッチ
Twitter
他の特許を見る
10個以上の画像は省略されています。
公開番号
2025144194
公報種別
公開特許公報(A)
公開日
2025-10-02
出願番号
2024043858
出願日
2024-03-19
発明の名称
建具
出願人
株式会社LIXIL
代理人
個人
,
個人
,
個人
主分類
E06B
7/16 20060101AFI20250925BHJP(戸,窓,シャッタまたはローラブラインド一般;はしご)
要約
【課題】枠体と障子との間の空間に雨水が浸入することを防止できる建具を提供する。
【解決手段】枠体2と、枠体2に支持される内障子3および外障子4と、を有し、枠体2の下枠5、もしくは内障子3の下框6の屋内側部の屋内側面に気密材511を設け、下枠5、もしくは内障子3の下框6の屋外側部の屋外側面に気密材623を設け、下枠5には、下枠5と下框6との間の下枠下框空間7に外気を導入する外気導入経路8が形成されている。
【選択図】図4
特許請求の範囲
【請求項1】
枠体と、
前記枠体に支持される障子と、を有し、
前記枠体の下枠、もしくは前記障子の下框の屋内側部の屋内側面に気密材を設け、
前記下枠、もしくは前記下框の屋外側部の屋内側面に気密材を設け、
前記下枠には、前記下枠と前記下框との間の下枠下框空間に外気を導入する外気導入経路が形成されている建具。
続きを表示(約 1,300 文字)
【請求項2】
前記外気導入経路は、前記下枠に形成された孔部を通って前記下枠下框空間に繋がり、
前記下枠には、前記孔部の上方に配置され前記外気導入経路を形成するカバー部材が取り付けられている請求項1に記載の建具。
【請求項3】
前記下枠は、前記下枠下框空間の下側に配置された下枠中空部を有し、
前記外気導入経路は、前記下枠中空部を通って前記下枠下框空間に繋がる請求項1または2に記載の建具。
【請求項4】
前記障子は、内障子と外障子とを有し、
前記下枠は、前記内障子を支持する内障子レールと、
前記内障子レールの屋外側に設けられ前記外障子を支持する外障子レールと、を有し、
前記下枠下框空間は、前記下枠と前記内障子の下框との間の空間であり、
前記下枠の屋内側端部、もしくは前記内障子の下框の屋内側部の屋内側面に気密材を設け、
前記内障子レール、もしくは前記内障子の下框の屋外側部の屋内側面に気密材を設け、
前記外気導入経路は、前記内障子レールと前記外障子レールとの間の空気を前記下枠下框空間に導入する請求項1または2に記載の建具。
【請求項5】
前記内障子レール、もしくは前記内障子の下框の屋外側部の屋内側面に設けられる気密材は、前記下枠および前記内障子の下框のいずれか一方において長さ方向の両端部分のみに設けられている請求項4に記載の建具。
【請求項6】
前記内障子レール、もしくは前記内障子の下框の屋外側部の屋内側面に設けられる気密材は、前記下枠および前記内障子の下框のいずれか一方において略全長にわたって設けられている請求項4に記載の建具。
【請求項7】
前記下框は、
前記障子のガラスパネルが嵌め込まれるガラス溝部と、
前記ガラス溝部の下側に配置されて下方に開口する下側空部と、
前記ガラス溝部と前記下側空部とを区画する区画部と、を有し、
前記区画部には、前記ガラス溝部の内部と前記下側空部との間で空気を流通させる孔部が形成されている請求項1または2に記載の建具。
【請求項8】
前記障子は、内障子と外障子とを有し、
前記内障子の戸先框、前記外障子の戸先框および召合框は、それぞれ、
前記障子のガラスパネルが嵌め込まれるガラス溝部と、
前記ガラス溝部よりも左右方向の外側に配置される中空部と、
前記ガラス溝部と前記中空部とを区画する区画部と、を有し、
前記区画部には、前記ガラス溝部の内部と前記中空部との間で空気を流通させる孔部が形成されている請求項1に記載の建具。
【請求項9】
前記内障子の戸先框および前記外障子の戸先框は、それぞれ、
前記中空部と前記中空部よりも前記左右方向の外側の空部とを区画する外側区画部を有し、
前記外側区画部には、前記中空部と前記中空部よりも前記左右方向の外側の空部との間で空気を流通させる外側孔部が形成されている請求項8に記載の建具。
発明の詳細な説明
【技術分野】
【0001】
本開示は、建具に関する。
続きを表示(約 2,200 文字)
【背景技術】
【0002】
従来、建物の外壁に設けられる建具では、枠体と障子との間の空間が負圧になると、屋外の雨水を引き込んでしまい、この雨水が屋内に浸入することがある。このため、枠体と障子との間の空間に外気を導入し、この空間と外気とを等圧にして屋外からの雨水の浸入を防止する建具が知られている(例えば、特許文献1参照)。このような建具は、枠体と障子との間の空間に外気を導入するために、枠体と障子との間に外気を導入するための隙間を設けている。
【先行技術文献】
【特許文献】
【0003】
特開2007-51534号公報
【発明の概要】
【発明が解決しようとする課題】
【0004】
枠体と障子との間に隙間が設けられていると、落下する雨水の位置エネルギーや、落下して上方に跳ね返る雨水の位置エネルギーによって枠体と障子との間の空間に雨水が浸入するという問題がある。
【0005】
本開示は、枠体と障子との間の空間に雨水が浸入することを防止できる建具を提供することを目的とする。
【課題を解決するための手段】
【0006】
上記目的を達成するため、本開示に係る建具は、枠体と、前記枠体に支持される障子と、を有し、前記枠体の下枠、もしくは前記障子の下框の屋内側部の屋内側面に気密材を設け、前記下枠、もしくは前記下框の屋外側部の屋内側面に気密材を設け、前記下枠には、前記下枠と前記下框との間の下枠下框空間に外気を導入する外気導入経路が形成されている。
【図面の簡単な説明】
【0007】
第1実施形態の建具の鉛直断面図である。
第1実施形態の建具の水平断面図である。
内障子および外障子を屋内側から見た正面図である。
図1の下側部分の拡大図である。
下枠の斜視図である。
カバー部材の上方から見た斜視図である。
カバー部材の下方から見た斜視図である。
内障子および外障子の框を左右方向の他方側かつ下方から見た斜視図である。
内障子および外障子の框を左右方向の一方側かつ下方から見た斜視図である。
内障子および外障子の框を下方から見た下面図である。
内障子および外障子の框を左右方向の他方側かつ上方から見た斜視図である。
内障子および外障子の框を左右方向の他方側かつ下方から見た斜視図である。
図3のA-A線断面図である。
内障子および外障子を左右方向の一方側から見た側面図である。
図3のB-B線断面図である。
図3のC-C線断面図である。
内障子および外障子を左右方向の他方側から見た側面図である。
図3のD-D線断面図である。
図3のE-E線断面図である。
第2実施形態の建具の鉛直断面図である。
【発明を実施するための形態】
【0008】
(第1実施形態)
図1および図2に示すように、建具1は、ビルなどの建物の外壁の開口部に設けられた引き違いサッシである。建具1は、アルミニウムなどの金属製のサッシである。建具1は、枠体2と、内障子3と、外障子4と、を有する。屋内と屋外とを結ぶ方向を屋内外方向と表記する。図面では、屋内を符号12で示し、屋外を符号13で示す。屋内外方向に直交する水平方向を左右方向と表記する。左右方向について、建具1を屋内側から見た際に右となる側を一方側、左となる側を他方側と表記することがある。左右方向について、左右方向の両側に対する左右方向の中央側を内側、左右方向の中央に対する左右方向の両側を外側と表記することがある。
【0009】
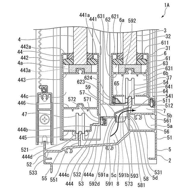
枠体2は、上枠21と、下枠5と、第1縦枠22と、第2縦枠23と、を有する。図1から図3に示すように、内障子3は、框31と、ガラスパネル32と、を有する。内障子3の框31は、上框33と、下框6と、戸先框35と、召合框36と、を有する。戸先框35および召合框36は、縦框である。外障子4は、框41と、ガラスパネル42と、を有する。外障子4の框41は、上框43と、下框44と、戸先框45と、召合框46と、を有する。戸先框45および召合框46は、縦框である。図1および図4に示すように、建具1は、下枠5と内障子3の下框6との間の下枠下框空間7に外気を導入する外気導入経路8を有する。
【0010】
図4および図5に示すように、下枠5は、屋内側板部51と、屋外側板部52と、下板部53と、内障子レール54と、外障子レール55と、上板部56と、中間板部57と、内障子レール下板部58と、を有する。屋内側板部51は、下枠5の屋内側の側面に沿って設けられている。屋内側板部51の上端部の屋外側には、気密材511が取り付けられている。気密材511は、図4を参照する。屋内側板部51の上端部の屋外側には、気密材511を取り付けるための溝部512が形成されている。屋外側板部52は、下枠5の屋外側の側面に沿って設けられている。屋外側板部52には、屋内外方向に貫通する孔部521が形成されている。孔部521は、図5を参照する。下板部53は、屋内側板部51と屋外側板部52との間に設けられている。
(【0011】以降は省略されています)
この特許をJ-PlatPat(特許庁公式サイト)で参照する
関連特許
株式会社LIXIL
シリンダ錠
今日
株式会社LIXIL
洗浄水タンク装置
4日前
株式会社LIXIL
可燃性ガス回収装置
4日前
株式会社LIXIL
建具および建具の改装方法
4日前
株式会社LIXIL
建具および建具の改装方法
4日前
株式会社LIXIL
建具および建具の改装方法
4日前
株式会社LIXIL
シリンダ錠及び建物設備機器群
今日
株式会社LIXIL
トイレ装置及びトイレシステム
4日前
株式会社LIXIL
トイレ装置、トイレシステム及び排卵推測装置
4日前
株式会社LIXIL
太陽光発電給電シート、建物およびペリカバー
4日前
株式会社LIXIL
駆逐装置、駆逐システム、駆逐方法および駆逐プログラム
4日前
株式会社LIXIL
改装サッシ
4日前
株式会社LIXIL
表示制御装置、表示制御システム、プログラム及び表示制御方法
今日
株式会社LIXIL
汚水処理装置、汚水処理システム、および汚水処理システムの施工方法
4日前
株式会社LIXIL
ホームシステム、サーバ、オーナー認証方法およびオーナー認証プログラム
4日前
株式会社LIXIL
ホームシステム、サーバ、ユーザ登録初期化方法およびユーザ登録初期化プログラム
4日前
中国電力株式会社
脚立
1か月前
株式会社ナカオ
作業台
27日前
株式会社ESP
止水板
1か月前
三協立山株式会社
構造体
3か月前
三協立山株式会社
構造体
3か月前
三協立山株式会社
開口部装置
今日
三協立山株式会社
開口部装置
3か月前
三協立山株式会社
開口部装置
29日前
三協立山株式会社
開口部装置
1か月前
三協立山株式会社
開口部装置
1か月前
三協立山株式会社
開口部装置
1か月前
三協立山株式会社
開口部装置
29日前
ミサワホーム株式会社
水切り材
1か月前
株式会社TJMデザイン
脚立用ホルダー
2か月前
不二サッシ株式会社
引違いサッシ
1か月前
株式会社ニチベイ
縦型ブラインド
2か月前
三協立山株式会社
サッシの製造方法
28日前
株式会社LIXIL
太陽電池ガラス
8日前
永大産業株式会社
開閉構造体
3か月前
三協立山株式会社
エクステリア構成材
1か月前
続きを見る
他の特許を見る