TOP
|
特許
|
意匠
|
商標
特許ウォッチ
Twitter
他の特許を見る
公開番号
2025144226
公報種別
公開特許公報(A)
公開日
2025-10-02
出願番号
2024043901
出願日
2024-03-19
発明の名称
医療機器用カート
出願人
富士フイルム株式会社
代理人
弁理士法人太陽国際特許事務所
主分類
A61B
8/00 20060101AFI20250925BHJP(医学または獣医学;衛生学)
要約
【課題】重量バランスを確保しやすく、かつ、ユーザの作業性を向上させることが可能な医療機器用カートを提供する。
【解決手段】カートは、脚車部と、支柱と、搭載部と、コネクタとを備える。脚車部は、前後左右に設けられた計4輪の脚車を有する。支柱は、脚車部に下端が取り付けられ、上方に延びる。支柱は、脚車部の前後方向の中心よりも後方側に配置されている。搭載部は、支柱の上端に取り付けられ、超音波診断装置が搭載される。コネクタには、超音波診断装置に電力を供給するバッテリーユニットであり、支柱の前方に配置されるバッテリーユニットが接続される。
【選択図】図3
特許請求の範囲
【請求項1】
前後左右に設けられた複数の脚車を有する脚車部と、
前記脚車部に下端が取り付けられ、上方に延びる支柱であり、前記脚車部の前後方向の中心よりも後方側に配置された支柱と、
前記支柱の上端に取り付けられ、医療機器が搭載される搭載部と、
前記医療機器に電力を供給するバッテリーユニットであり、前記支柱の前方に配置されるバッテリーユニットが接続されるコネクタと、
を備える医療機器用カート。
続きを表示(約 910 文字)
【請求項2】
前記脚車部は、前後の前記脚車が取り付けられ、前後方向に延びる2本の側梁を有し、
前記コネクタに前記バッテリーユニットが接続された状態において、前記バッテリーユニットは2本の前記側梁の間に配置される請求項1に記載の医療機器用カート。
【請求項3】
前記側梁には、前記バッテリーユニットを着脱可能に保持する保持機構が設けられている請求項2に記載の医療機器用カート。
【請求項4】
前記保持機構は、前方からスライドされる前記バッテリーユニットを前記コネクタに向けてガイドするガイドレールを含む請求項3に記載の医療機器用カート。
【請求項5】
前記コネクタに前記バッテリーユニットが接続された状態において、前記バッテリーユニットの外周面と、前記バッテリーユニットの外周面が接する前記側梁の外周面とは、1つの滑らかな面を形成する請求項2に記載の医療機器用カート。
【請求項6】
前記脚車部は、さらに、2本の前記側梁を繋ぐ台座を有し、
前記台座は、前記脚車部の前後方向の中心よりも後方側に配置されており、
前記台座に前記支柱の下端が取り付けられる請求項2に記載の医療機器用カート。
【請求項7】
前記コネクタは前記台座に設けられており、
前記コネクタに前記バッテリーユニットが接続された状態において、前記バッテリーユニットは、2本の前記側梁および前記台座の間に配置される請求項6に記載の医療機器用カート。
【請求項8】
前記台座の後端部は、前記側梁の後端部よりも前方に位置する請求項6に記載の医療機器用カート。
【請求項9】
前記バッテリーユニットと前記台座の前後方向に直交する断面形状は同じである請求項6に記載の医療機器用カート。
【請求項10】
前記コネクタに前記バッテリーユニットが接続された状態において、前方から見た場合、前記バッテリーユニットは前記側梁の上下に張り出している請求項2に記載の医療機器用カート。
(【請求項11】以降は省略されています)
発明の詳細な説明
【技術分野】
【0001】
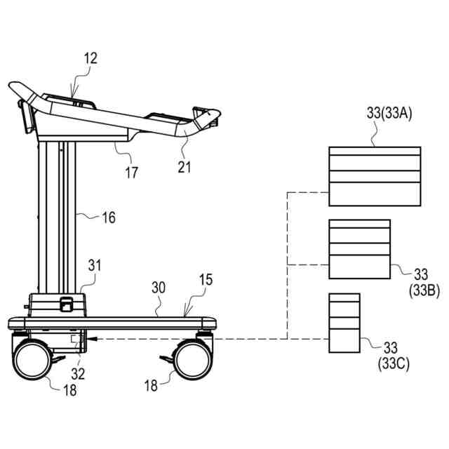
本開示の技術は、医療機器用カートに関する。
続きを表示(約 1,400 文字)
【背景技術】
【0002】
医療現場において、医療機器が搭載された医療機器用カートが用いられている。医療機器用カートは、複数の患者間を移動して診療を行う回診時等に重宝される。医療機器用カートは、例えば前後左右に計4輪の脚車を有する脚車部と、脚車部に下端が取り付けられ、上方に延びる支柱と、支柱の上端に取り付けられ、医療機器が搭載される搭載部とで構成される。また、カートには、医療機器に電力を供給するバッテリーユニットが取り付けられる。
【0003】
特許文献1および特許文献2には、脚車部の前後左右方向のほぼ中心に支柱の下端が取り付けられた医療機器用カートが記載されている。特許文献1に記載の医療機器用カートは、医療機器としての超音波診断装置の本体部にバッテリーが取り付けられている。そして、本体部は支柱の後方側であって、脚車部の台座上に配置されている。
【0004】
特許文献2に記載の医療機器用カートは、バッテリーからの直流電力を商用電源用の交流電力に変換する電力変換部、交流電力を医療機器に供給するコンセント等を有するバッテリーボックス本体部にバッテリーが取り付けられている。そして、バッテリーボックス本体部は支柱の後方側であって、脚車部の台座上に配置されている(特許文献2の第3実施形態参照)。
【先行技術文献】
【特許文献】
【0005】
特開2023-070380号公報
特開2017-086325号公報
【発明の概要】
【発明が解決しようとする課題】
【0006】
搭載部には、ある程度の重量(例えば数kg)の医療機器が搭載される。このため、重量バランスを考えると、特許文献1および特許文献2に記載されているように、支柱の取り付け位置は脚車部の前後左右方向のほぼ中心であるほうがよい。しかしながら、脚車部の前後左右方向のほぼ中心に支柱があると、ユーザの脚が支柱にあたって作業がしにくい。そこで、重量バランスを確保しやすく、かつ、ユーザの作業性を向上させることが可能な構成が望まれていた。
【0007】
本開示の技術に係る1つの実施形態は、重量バランスを確保しやすく、かつ、ユーザの作業性を向上させることが可能な医療機器用カートを提供する。
【課題を解決するための手段】
【0008】
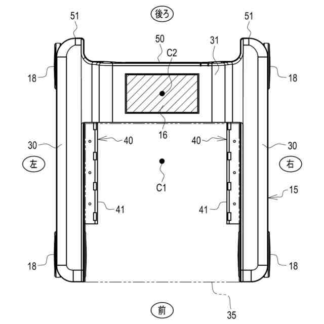
本開示の医療機器用カートは、前後左右に設けられた複数の脚車を有する脚車部と、脚車部に下端が取り付けられ、上方に延びる支柱であり、脚車部の前後方向の中心よりも後方側に配置された支柱と、支柱の上端に取り付けられ、医療機器が搭載される搭載部と、医療機器に電力を供給するバッテリーユニットであり、支柱の前方に配置されるバッテリーユニットが接続されるコネクタと、を備える。
【0009】
脚車部は、前後の脚車が取り付けられ、前後方向に延びる2本の側梁を有し、コネクタにバッテリーユニットが接続された状態において、バッテリーユニットは2本の側梁の間に配置されることが好ましい。
【0010】
側梁には、バッテリーユニットを着脱可能に保持する保持機構が設けられていることが好ましい。
(【0011】以降は省略されています)
この特許をJ-PlatPat(特許庁公式サイト)で参照する
関連特許
富士フイルム株式会社
内視鏡
1日前
富士フイルム株式会社
医療機器用カート
1日前
富士フイルム株式会社
ゼリーボトルハンガ
2日前
富士フイルム株式会社
X線管およびX線検査装置
1日前
富士フイルム株式会社
磁気共鳴撮像装置及び画像処理方法
2日前
富士フイルム株式会社
情報処理装置、及び情報処理プログラム
1日前
富士フイルム株式会社
情報処理装置、及び情報処理プログラム
2日前
富士フイルム株式会社
情報処理装置、及び情報処理プログラム
2日前
富士フイルム株式会社
情報処理装置、及び情報処理プログラム
2日前
富士フイルム株式会社
超音波診断装置用カートおよび超音波診断ユニット
1日前
富士フイルム株式会社
焦点制御装置、焦点制御装置の作動方法、焦点制御装置の作動プログラム、並びに撮像装置
2日前
個人
健康器具
7か月前
個人
鼾防止用具
7か月前
個人
歯茎みが品
8か月前
個人
短下肢装具
2か月前
個人
脈波測定方法
7か月前
個人
洗井間専家。
6か月前
個人
脈波測定方法
7か月前
個人
白内障治療法
6か月前
個人
前腕誘導装置
2か月前
個人
導電香
8か月前
個人
マッサージ機
7か月前
個人
嚥下鍛錬装置
2か月前
個人
矯正椅子
4か月前
個人
アイマスク装置
1か月前
個人
ホバーアイロン
5か月前
個人
汚れ防止シート
4日前
個人
歯の修復用材料
3か月前
個人
胸骨圧迫補助具
28日前
個人
バッグ式オムツ
3か月前
個人
車椅子持ち上げ器
6か月前
個人
歯の保護用シール
4か月前
個人
口内洗浄具
7か月前
個人
陣痛緩和具
2か月前
三生医薬株式会社
錠剤
6か月前
個人
哺乳瓶冷まし容器
2か月前
続きを見る
他の特許を見る