TOP
|
特許
|
意匠
|
商標
特許ウォッチ
Twitter
他の特許を見る
10個以上の画像は省略されています。
公開番号
2025143727
公報種別
公開特許公報(A)
公開日
2025-10-02
出願番号
2024043108
出願日
2024-03-19
発明の名称
超音波診断装置用カートおよび超音波診断ユニット
出願人
富士フイルム株式会社
代理人
弁理士法人YKI国際特許事務所
主分類
A61B
8/00 20060101AFI20250925BHJP(医学または獣医学;衛生学)
要約
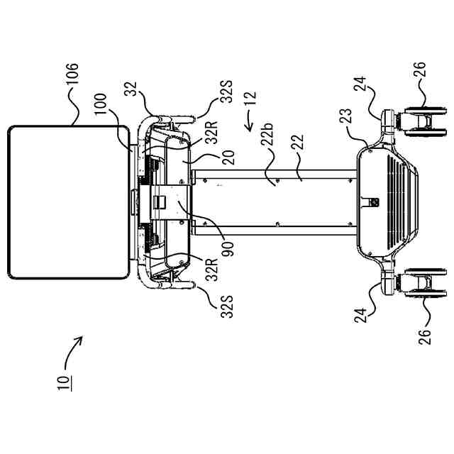
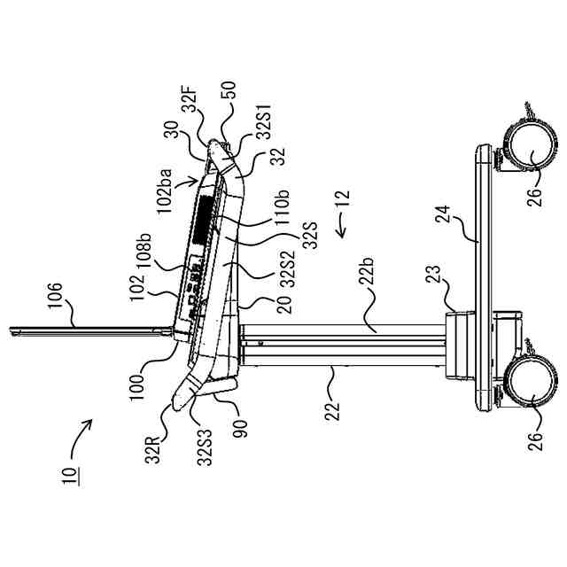
【課題】携帯型超音波診断装置の側部を開放できるとともに、移動が容易である超音波診断ユニットを提供する。
【解決手段】超音波診断ユニット10は、携帯型超音波診断装置100と、携帯型超音波診断装置100が載せられた台座20と、台座20に接続されたハンドル32と、台座20を支持する支柱22と、支柱22を支持する複数の脚部24と、脚部24に配置されたキャスタ26を備える。ハンドル32は、台座20の前方に配置された前ハンドル32Fと、台座20の左方および右方に配置された側部ハンドル32Sと、台座20の後方に配置された後ハンドル32Rを含む。ハンドル32は、台座20の周りを囲い込むように連なっている。2つの側部ハンドル32Sはそれぞれ、前ハンドル32Fに連なって後方かつ下方に傾斜する前部32S1と、その前部32S1の後端から後方に延びる本体部32S2を含む。
【選択図】図1
特許請求の範囲
【請求項1】
携帯型超音波診断装置と、
前記携帯型超音波診断装置が載せられた台座と、
前記台座に接続されたハンドルと、
前記台座を支持する支柱と、
前記支柱を支持する複数の脚部と、
前記脚部に配置されたキャスタと、を備え、
前記ハンドルは、前記台座の前方に配置された前ハンドルと、前記台座の左方および右方に配置された側部ハンドルと、前記台座の後方に配置された後ハンドルを含み、
前記ハンドルは、前記台座の周りを囲い込むように連なっており、
2つの前記側部ハンドルはそれぞれ、前記前ハンドルに連なって後方かつ下方に傾斜する前部と、その前部の後端から後方に延びる本体部を含む、
ことを特徴とする超音波診断ユニット。
続きを表示(約 1,400 文字)
【請求項2】
請求項1に記載の超音波診断ユニットであって、
前記台座は、前記携帯型超音波診断装置の操作部の前方であって左右方向中央に配置されたパームレストを含み、
前記パームレストは、前記前ハンドルと前記携帯型超音波診断装置の操作部との間に位置し、
前記前ハンドル、前記パームレスト、および前記携帯型超音波診断装置の操作部は、連続性のある上面を形成している、
ことを特徴とする超音波診断ユニット。
【請求項3】
請求項1または2に記載の超音波診断ユニットであって、
前記後ハンドルは、前記前ハンドルよりも高い位置に設けられている、
ことを特徴とする超音波診断ユニット。
【請求項4】
請求項3に記載の超音波診断ユニットであって、
2つの前記側部ハンドルの前記本体部は、前方から後方に向かって上昇傾斜している、
ことを特徴とする超音波診断ユニット。
【請求項5】
請求項1または2に記載の超音波診断ユニットであって、
前記ハンドルの断面外形は、扁平楕円状を有しており、
前記前ハンドルと前記後ハンドルは、扁平面が上下方向を向くように配置されており、
2つの前記側部ハンドルは、扁平面が左右方向を向くように配置されている、
ことを特徴とする超音波診断ユニット。
【請求項6】
請求項1または2に記載の超音波診断ユニットであって、
前記後ハンドルは、左右方向の中央部が切り欠かれて、左右方向で分割されており、
前記後ハンドルは、左方の後ハンドル要素と、右方の後ハンドル要素からなり、
前記台座は、2つの前記後ハンドル要素の間の空隙領域とその領域の下方領域の少なくとも一方に対向する背面に、前記携帯型超音波診断装置を前記台座に拘束するための操作部を備える、
ことを特徴とする超音波診断ユニット。
【請求項7】
請求項1または2に記載の超音波診断ユニットであって、
前記支柱は、前記台座を昇降可能に支持しており、
前記超音波診断ユニットは、前記台座の昇降を操作するための押しボタンを備え、
前記押しボタンは、前記前ハンドルの左右方向中央の下方に配置されており、
前記押しボタンの押下により、前記台座の昇降ロックが解除される、
ことを特徴とする超音波診断ユニット。
【請求項8】
携帯型超音波診断装置が載せられる台座と、
前記台座に接続されたハンドルと、
前記台座を支持する支柱と、
前記支柱を支持する複数の脚部と、
前記脚部に配置されたキャスタと、を備え、
前記ハンドルは、前記台座の前方に配置された前ハンドルと、前記台座の左方および右方に配置された側部ハンドルと、前記台座の後方に配置された後ハンドルを含み、
前記ハンドルは、前記台座の周りを囲い込むように連なっており、
2つの前記側部ハンドルはそれぞれ、前記前ハンドルに連なって後方かつ下方に傾斜する前部と、その前部の後端から後方に延びる本体部を含む、
ことを特徴とする超音波診断装置用カート。
【請求項9】
請求項8に記載の超音波診断装置用カートであって、
前記後ハンドルは、前記前ハンドルよりも高い位置に設けられている、
ことを特徴とする超音波診断装置用カート。
発明の詳細な説明
【技術分野】
【0001】
本開示は、超音波診断装置用カートおよび超音波診断ユニットに関し、特に、カートのハンドルの技術に関する。
続きを表示(約 1,700 文字)
【背景技術】
【0002】
生体の超音波検査では超音波診断装置が用いられる。超音波診断装置は、超音波の送受波により得られた受信信号に基づいて超音波画像を生成及び表示する医用装置である。代表的な超音波画像として断層画像が知られている。
【0003】
携帯型の超音波診断装置が用いられている。このような携帯型超音波診断装置は、例えばノートパソコン型を有しており、ユーザが手で持ち運ぶことができる。また、携帯型超音波診断装置は、カートに載せられて使用されることも多い。カートにノートパソコン型の携帯型超音波診断装置を載せて移動し、被検体のすぐ傍まで近づけて、携帯型超音波診断装置をカートに載せたままの状態で、その超音波診断装置を開いて操作し、かつ、プローブを被検体まで延ばして被検体に超音波を送受信する。
【0004】
特許文献1には、本体部、本体部に結合されて曲線形状を有するハンドル部、およびハンドル部に結合されたディスプレイ部を備える携帯用超音波診断機が開示されている。特許文献2には、超音波診断システムに関し、台車の支柱に中間座を設けて、そこに補助入力装置としてのタブレットコンピュータを置くことができる構成が開示されている。
【先行技術文献】
【特許文献】
【0005】
特開2010-5400号公報
特開2017-421号公報
【発明の概要】
【発明が解決しようとする課題】
【0006】
超音波診断ユニットは、カートと、そのカートに載せられた携帯型超音波診断装置を含んで構成される。ユーザは、超音波診断ユニットを搬送したり、その位置を微調整したり、それを旋回させたりする。従って、これらの超音波診断ユニットの移動を簡易に実現できる、カートのハンドルが望まれている。
【0007】
また、携帯型超音波診断装置の側部には、プローブのコネクタが接続されるコネクタ部(ポート)や、装置内部を冷却した空気が排出される排気部が設けられている。よって、携帯型超音波診断装置の側部を開放する必要がある。
【0008】
本開示の目的は、携帯型超音波診断装置の側部を開放することができるとともに、移動が容易である超音波診断ユニットを提供することにある。あるいは、その超音波診断ユニットの一部である超音波診断装置用カートを提供することにある。
【課題を解決するための手段】
【0009】
本開示に係る超音波診断ユニットは、携帯型超音波診断装置と、前記携帯型超音波診断装置が載せられた台座と、前記台座に接続されたハンドルと、前記台座を支持する支柱と、前記支柱を支持する複数の脚部と、前記脚部に配置されたキャスタと、を備え、前記ハンドルは、前記台座の前方に配置された前ハンドルと、前記台座の左方および右方に配置された側部ハンドルと、前記台座の後方に配置された後ハンドルを含み、前記ハンドルは、前記台座の周りを囲い込むように連なっており、2つの前記側部ハンドルはそれぞれ、前記前ハンドルに連なって後方かつ下方に傾斜する前部と、その前部の後端から後方に延びる本体部を含む、ことを特徴とする。
【0010】
本開示に係る超音波診断装置用カートは、携帯型超音波診断装置が載せられる台座と、前記台座に接続されたハンドルと、前記台座を支持する支柱と、前記支柱を支持する複数の脚部と、前記脚部に配置されたキャスタと、を備え、前記ハンドルは、前記台座の前方に配置された前ハンドルと、前記台座の左方および右方に配置された側部ハンドルと、前記台座の後方に配置された後ハンドルを含み、前記ハンドルは、前記台座の周りを囲い込むように連なっており、2つの前記側部ハンドルはそれぞれ、前記前ハンドルに連なって後方かつ下方に傾斜する前部と、その前部の後端から後方に延びる本体部を含む、ことを特徴とする。
【発明の効果】
(【0011】以降は省略されています)
この特許をJ-PlatPat(特許庁公式サイト)で参照する
関連特許
富士フイルム株式会社
内視鏡
2日前
富士フイルム株式会社
超音波探触子
3日前
富士フイルム株式会社
超音波探触子
3日前
富士フイルム株式会社
超音波診断器
1日前
富士フイルム株式会社
超音波診断装置
1日前
富士フイルム株式会社
超音波診断装置
1日前
富士フイルム株式会社
超音波診断装置
1日前
富士フイルム株式会社
超音波診断装置
1日前
富士フイルム株式会社
医療機器用カート
2日前
富士フイルム株式会社
ゼリーボトルハンガ
3日前
富士フイルム株式会社
X線管およびX線検査装置
2日前
富士フイルム株式会社
組成物、硬化物および光学部材
1日前
富士フイルム株式会社
超音波診断装置の手押しハンドル
3日前
富士フイルム株式会社
磁気共鳴撮像装置及び画像処理方法
3日前
富士フイルム株式会社
画像処理装置、方法およびプログラム
1日前
富士フイルム株式会社
情報処理装置、及び情報処理プログラム
3日前
富士フイルム株式会社
情報処理装置、及び情報処理プログラム
2日前
富士フイルム株式会社
情報処理装置、及び情報処理プログラム
3日前
富士フイルム株式会社
情報処理装置、及び情報処理プログラム
3日前
富士フイルム株式会社
支援装置、支援方法、及び支援プログラム
1日前
富士フイルム株式会社
磁気共鳴撮像装置及び中心周波数の補正方法
1日前
富士フイルム株式会社
超音波診断装置用カートおよび超音波診断ユニット
1日前
富士フイルム株式会社
超音波診断装置用カートおよび超音波診断ユニット
2日前
富士フイルム株式会社
超音波診断装置用カートおよび超音波診断ユニット
1日前
富士フイルム株式会社
画像処理装置、画像処理方法、及び画像処理プログラム
1日前
富士フイルム株式会社
画像処理装置、画像処理方法、及び画像処理プログラム
1日前
富士フイルム株式会社
インクジェット記録方法、メラミン化粧板の製造方法、及びメラミン化粧板
1日前
富士フイルム株式会社
画像処理装置、方法およびプログラム、並びに学習装置、方法およびプログラム
1日前
富士フイルム株式会社
焦点制御装置、焦点制御装置の作動方法、焦点制御装置の作動プログラム、並びに撮像装置
3日前
富士フイルム株式会社
転写フィルム、転写フィルムの製造方法、硬化層の製造方法、及び、半導体パッケージの製造方法
1日前
富士フイルム株式会社
果菜植物の栽培方法、果菜植物の栽培装置及びトマト植物
1日前
個人
健康器具
7か月前
個人
短下肢装具
2か月前
個人
鼾防止用具
7か月前
個人
洗井間専家。
6か月前
個人
脈波測定方法
7か月前
続きを見る
他の特許を見る