TOP
|
特許
|
意匠
|
商標
特許ウォッチ
Twitter
他の特許を見る
10個以上の画像は省略されています。
公開番号
2025145369
公報種別
公開特許公報(A)
公開日
2025-10-03
出願番号
2024045509
出願日
2024-03-21
発明の名称
ヘッドユニット及び液体吐出装置
出願人
セイコーエプソン株式会社
代理人
個人
,
個人
,
個人
,
個人
主分類
B41J
2/01 20060101AFI20250926BHJP(印刷;線画機;タイプライター;スタンプ)
要約
【課題】持ち上げや押し引きをしやすいヘッドユニットを提供すること。
【解決手段】コネクターと、駆動基板と、ファンと、チューブ接続部と、液体吐出ヘッドと、前記駆動基板及び前記ファンを収容し、第1通気口及び第2通気口が設けられた筐体と、第1把持部と、第2把持部と、を有し、前記コネクター及び前記第1通気口は、前記筐体の第1面に設けられ、前記チューブ接続部は、前記筐体の第2面に設けられ、前記第2把持部は、前記筐体の第2面に設けられ、前記液体吐出ヘッドは、前記筐体の第3面に設けられ、前記第1把持部は、前記筐体の第4面に設けられ、前記第2通気口は、前記第2面の法線方向から見たときに視認可能な位置に設けられ、前記第2把持部と前記第4面との最短距離は、前記チューブ接続部と前記第4面との最短距離よりも短く、かつ、前記第2通気口と前記第4面との最短距離よりも短い、ヘッドユニット。
【選択図】図4
特許請求の範囲
【請求項1】
媒体に対して液体を吐出するヘッドユニットであって、
電源電圧が伝搬するコネクターと、
前記電源電圧に基づいて、駆動信号を生成する駆動信号生成回路を含む駆動基板と、
第1通気口及び第2通気口の一方から気体を吸入して他方から排出させるファンと、
前記液体を供給するチューブと接続されるチューブ接続部と、
前記駆動信号が印加されることで前記液体を吐出させる圧電素子を含む液体吐出ヘッドと、
前記駆動基板及び前記ファンを収容し、前記第1通気口及び前記第2通気口が設けられた筐体と、
第1把持部と、
第2把持部と、
を有し、
前記第1把持部は、
第1支持部と、第2支持部と、前記第1支持部と前記第2支持部とを連結する第1連結部と、を有し、
前記第2把持部は、
第3支持部と、第4支持部と、前記第3支持部と前記第4支持部とを連結する第2連結部と、を有し、
前記筐体は、
第1面と、
前記第1面と反対の第2面と、
前記第1面及び前記第2面と交差する第3面と、
前記第3面と反対の第4面と、
を有し、
前記第3面の法線方向を第1方向とし、前記第2面の法線方向を第2方向とし、前記第1方向及び前記第2方向と直交する方向を第3方向としたとき、
前記コネクター及び前記第1通気口は、前記第1面に設けられ、
前記チューブ接続部は、前記第2面に設けられ、
前記第2把持部は、前記第2連結部が前記第3方向に沿うように前記第2面に設けられ、
前記液体吐出ヘッドは、前記第3面に設けられ、
前記第1把持部は、前記第1連結部が前記第2方向に沿うように前記第4面に設けられ、
前記第2通気口は、前記第2方向から前記第2面を見たときに視認可能な位置に設けられ、
前記第2把持部と前記第4面との最短距離は、前記チューブ接続部と前記第4面との最短距離よりも短く、かつ、前記第2通気口と前記第4面との最短距離よりも短い、
ことを特徴とするヘッドユニット。
続きを表示(約 1,600 文字)
【請求項2】
媒体に対して液体を吐出するヘッドユニットであって、
電源電圧が伝搬するコネクターと、
前記電源電圧に基づいて、駆動信号を生成する駆動信号生成回路を含む駆動基板と、
第1通気口及び第2通気口の一方から気体を吸入して他方から排出させるファンと、
前記液体を供給するチューブと接続されるチューブ接続部と、
前記駆動信号が印加されることで前記液体を吐出させる圧電素子を含む液体吐出ヘッドと、
前記駆動基板及び前記ファンを収容し、前記第1通気口及び前記第2通気口が設けられた筐体と、
第1把持部と、
第2把持部と、
を有し、
前記第1把持部は、
第1支持部と、第2支持部と、前記第1支持部と前記第2支持部とを連結する第1連結部と、を有し、
前記第2把持部は、
第3支持部と、第4支持部と、前記第3支持部と前記第4支持部とを連結する第2連結部と、を有し、
前記筐体は、
第1面と、
前記第1面と反対の第2面と、
前記第1面及び前記第2面と交差する第3面と、
前記第3面と反対の第4面と、
を有し、
前記第3面の法線方向を第1方向とし、前記第2面の法線方向を第2方向とし、前記第1方向及び前記第2方向と直交する方向を第3方向としたとき、
前記チューブ接続部及び前記第1通気口は、前記第1面に設けられ、
前記コネクターは、前記第2面に設けられ、
前記第2把持部は、前記第2連結部が前記第3方向に沿うように前記第2面に設けられ、
前記液体吐出ヘッドは、前記第3面に設けられ、
前記第1把持部は、前記第1連結部が前記第2方向に沿うように前記第4面に設けられ、
前記第2通気口は、前記第2方向から前記第2面を見たときに視認可能な位置に設けられ、
前記第2把持部と前記第4面との最短距離は、前記コネクターと前記第4面との最短距離よりも短く、かつ、前記第2通気口と前記第4面との最短距離よりも短い、
ことを特徴とするヘッドユニット。
【請求項3】
前記筐体は、前記第2面及び前記第4面と交差する第5面と、
前記第5面と反対の第6面と、
を有し、
前記第1連結部は、前記第1面及び前記第2面から等距離にある第1仮想面と交差し、
前記第2連結部は、前記第5面及び前記第6面から等距離にある第2仮想面と交差する、
ことを特徴とする請求項1又は2に記載のヘッドユニット。
【請求項4】
前記第1方向から見たとき、前記第1把持部と前記第2把持部とは重ならない、
ことを特徴とする請求項1又は2に記載のヘッドユニット。
【請求項5】
前記第2方向から見たとき、前記第1把持部と前記第2把持部とは重ならない、
ことを特徴とする請求項1又は2に記載のヘッドユニット。
【請求項6】
前記第2連結部の長さは、5cm以上である、
ことを特徴とする請求項1又は2に記載のヘッドユニット。
【請求項7】
重量が5kg以上である、
ことを特徴とする請求項1又は2に記載のヘッドユニット。
【請求項8】
前記筐体は、金属製である、
ことを特徴とする請求項1又は2に記載のヘッドユニット。
【請求項9】
前記第1把持部及び前記第2把持部は、金属製である、
ことを特徴とする請求項1又は2に記載のヘッドユニット。
【請求項10】
前記第1把持部及び前記第2把持部は、それぞれ径がM4以上のねじによって前記筐体に取り付けられている、
ことを特徴とする請求項1又は2に記載のヘッドユニット。
(【請求項11】以降は省略されています)
発明の詳細な説明
【技術分野】
【0001】
本発明は、ヘッドユニット及び液体吐出装置に関する。
続きを表示(約 3,600 文字)
【背景技術】
【0002】
産業用プリンターなどの大型のプリンターでは、印刷ヘッドを搭載したヘッドユニットの交換性を考慮する必要がある。特許文献1には、ヘッドユニットをスライドレールに係合し、キャリッジに対してスライド式で着脱可能な印刷装置が記載されている。
【先行技術文献】
【特許文献】
【0003】
特開2014-184591号公報
【発明の概要】
【発明が解決しようとする課題】
【0004】
しかしながら、ヘッドユニットに不具合が生じた場合にプリンターの使用者がヘッドユニットの交換作業を行うことを想定した場合、重量の大きいヘッドユニットを持ち上げて押し引きしやすいことが重要であり、さらなる改善の余地があった。
【課題を解決するための手段】
【0005】
本発明に係るヘッドユニットの一態様は、
媒体に対して液体を吐出するヘッドユニットであって、
電源電圧が伝搬するコネクターと、
前記電源電圧に基づいて、駆動信号を生成する駆動信号生成回路を含む駆動基板と、
第1通気口及び第2通気口の一方から気体を吸入して他方から排出させるファンと、
前記液体を供給するチューブと接続されるチューブ接続部と、
前記駆動信号が印加されることで前記液体を吐出させる圧電素子を含む液体吐出ヘッドと、
前記駆動基板及び前記ファンを収容し、前記第1通気口及び前記第2通気口が設けられた筐体と、
第1把持部と、
第2把持部と、
を有し、
前記第1把持部は、
第1支持部と、第2支持部と、前記第1支持部と前記第2支持部とを連結する第1連結部と、を有し、
前記第2把持部は、
第3支持部と、第4支持部と、前記第3支持部と前記第4支持部とを連結する第2連結部と、を有し、
前記筐体は、
第1面と、
前記第1面と反対の第2面と、
前記第1面及び前記第2面と交差する第3面と、
前記第3面と反対の第4面と、
を有し、
前記第3面の法線方向を第1方向とし、前記第2面の法線方向を第2方向とし、前記第1方向及び前記第2方向と直交する方向を第3方向としたとき、
前記コネクター及び前記第1通気口は、前記第1面に設けられ、
前記チューブ接続部は、前記第2面に設けられ、
前記第2把持部は、前記第2連結部が前記第3方向に沿うように前記第2面に設けられ、
前記液体吐出ヘッドは、前記第3面に設けられ、
前記第1把持部は、前記第1連結部が前記第2方向に沿うように前記第4面に設けられ、
前記第2通気口は、前記第2方向から前記第2面を見たときに視認可能な位置に設けられ、
前記第2把持部と前記第4面との最短距離は、前記チューブ接続部と前記第4面との最短距離よりも短く、かつ、前記第2通気口と前記第4面との最短距離よりも短い。
【0006】
本発明に係るヘッドユニットの他の一態様は、
媒体に対して液体を吐出するヘッドユニットであって、
電源電圧が伝搬するコネクターと、
前記電源電圧に基づいて、駆動信号を生成する駆動信号生成回路を含む駆動基板と、
第1通気口及び第2通気口の一方から気体を吸入して他方から排出させるファンと、
前記液体を供給するチューブと接続されるチューブ接続部と、
前記駆動信号が印加されることで前記液体を吐出させる圧電素子を含む液体吐出ヘッドと、
前記駆動基板及び前記ファンを収容し、前記第1通気口及び前記第2通気口が設けられた筐体と、
第1把持部と、
第2把持部と、
を有し、
前記第1把持部は、
第1支持部と、第2支持部と、前記第1支持部と前記第2支持部とを連結する第1連結部と、を有し、
前記第2把持部は、
第3支持部と、第4支持部と、前記第3支持部と前記第4支持部とを連結する第2連結部と、を有し、
前記筐体は、
第1面と、
前記第1面と反対の第2面と、
前記第1面及び前記第2面と交差する第3面と、
前記第3面と反対の第4面と、
を有し、
前記第3面の法線方向を第1方向とし、前記第2面の法線方向を第2方向とし、前記第1方向及び前記第2方向と直交する方向を第3方向としたとき、
前記チューブ接続部及び前記第1通気口は、前記第1面に設けられ、
前記コネクターは、前記第2面に設けられ、
前記第2把持部は、前記第2連結部が前記第3方向に沿うように前記第2面に設けられ、
前記液体吐出ヘッドは、前記第3面に設けられ、
前記第1把持部は、前記第1連結部が前記第2方向に沿うように前記第4面に設けられ、
前記第2通気口は、前記第2方向から前記第2面を見たときに視認可能な位置に設けられ、
前記第2把持部と前記第4面との最短距離は、前記コネクターと前記第4面との最短距離よりも短く、かつ、前記第2通気口と前記第4面との最短距離よりも短い。
【0007】
本発明に係る液体吐出装置の一態様は、
前記ヘッドユニットを備える。
【図面の簡単な説明】
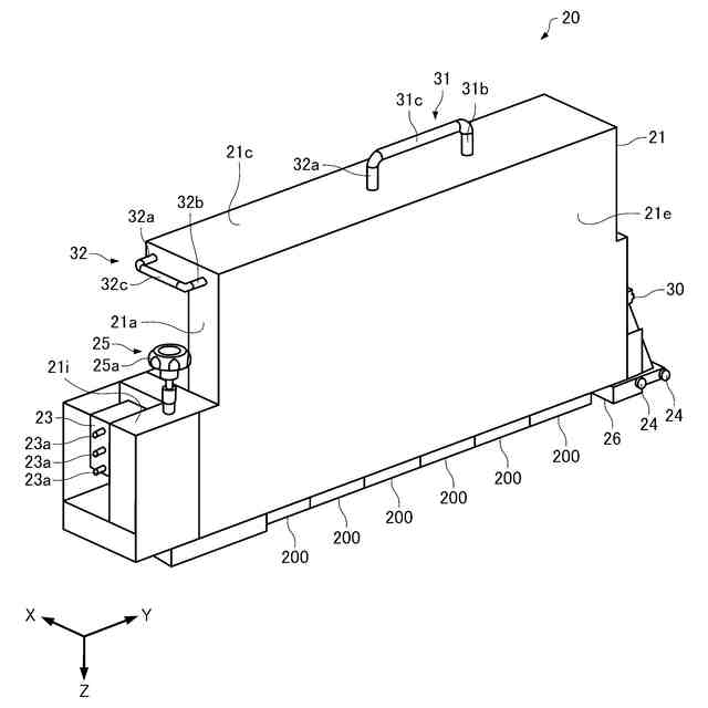
【0008】
液体吐出装置の概略構成を示す図である。
液体吐出装置の機能構成の一例を示す図である。
吐出部の概略構成を説明するための図である。
ヘッドユニットの斜視図である。
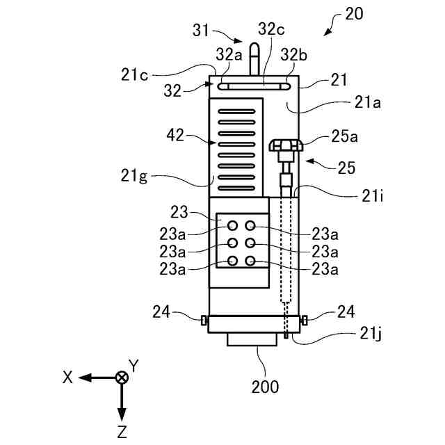
ヘッドユニットを-Y側から見た外観図である。
ヘッドユニットを+Y側から見た外観図である。
ヘッドユニットを-X側から見た外観図である。
ヘッドユニットを+X側から見た外観図である。
ヘッドユニットを-Z側から見た外観図である。
ヘッドユニットを+Z側から見た外観図である。
-X側から見たヘッドユニットの内部構造を示す図である。
キャリッジを-Y側から見た外観図である。
キャリッジを-X側から見た外観図である。
キャリッジを-Z側から見た外観図である。
コネクターを-Z側から見た外観図である。
コネクターを-X側から見た外観図である。
コネクターを-Y側から見た外観図である。
コネクターを-Z側から見た断面図である。
ヘッドユニットが積載されたキャリッジを-Y側から見た外観図である。
ヘッドユニットが積載されたキャリッジを-X側から見た外観図である。
ヘッドユニット接続方法の手順の一例を示すフローチャート図である。
図21の工程S1の状態を示す図である。
図21の工程S2の状態を示す図である。
図21の工程S3の状態を示す図である。
図21の工程S4の状態を示す図である。
図21の工程S5の状態を示す図である。
【発明を実施するための形態】
【0009】
以下、本発明の好適な実施形態について図面を用いて説明する。用いる図面は説明の便宜上のものである。なお、以下に説明する実施形態は、特許請求の範囲に記載された本発明の内容を不当に限定するものではない。また、以下で説明される構成の全てが本発明の必須構成要件であるとは限らない。
【0010】
1.液体吐出装置の概要
以下では、本発明に係る液体吐出装置の一例として、液体の一例としてのインクを吐出する複数のヘッドユニットが搭載されたキャリッジが一方向に移動し、当該複数のヘッドユニットが、静止している媒体に対してインクを吐出することで、媒体に対して画像を形成するインクジェットプリンターを例示して説明を行う。ただし、本実施形態の液体吐出装置は、これに限られず、例えば、1又は複数のヘッドユニットが搭載されたキャリッジが往復動し、当該1又は複数のヘッドユニットが、搬送される媒体に対してインクを吐出することで、媒体に対して画像を形成する、いわゆるシリアル印刷方式のインクジェットプリンターであってもよい。あるいは、本実施形態の液体吐出装置は、媒体の幅以上に並んで設けられた複数のヘッドユニットが、搬送される媒体に対してインクを吐出することで、媒体に対して画像を形成する、いわゆるライン印刷方式のインクジェットプリンターであってもよい。
(【0011】以降は省略されています)
この特許をJ-PlatPat(特許庁公式サイト)で参照する
関連特許
個人
箔熱転写装置
28日前
シヤチハタ株式会社
印判
4か月前
東レ株式会社
凸版印刷版原版
10か月前
シヤチハタ株式会社
反転式印判
9か月前
三菱製紙株式会社
感熱記録材料
10か月前
キヤノン株式会社
記録装置
21日前
三光株式会社
感熱記録材料
6か月前
独立行政法人 国立印刷局
印刷物
6か月前
株式会社リコー
液体吐出装置
8か月前
株式会社リコー
液体吐出装置
4か月前
株式会社リコー
液体吐出装置
1か月前
株式会社リコー
液体吐出装置
3か月前
株式会社リコー
画像形成装置
5日前
株式会社リコー
液体吐出装置
7か月前
日本製紙株式会社
感熱記録体
7か月前
株式会社リコー
液体吐出装置
7か月前
独立行政法人 国立印刷局
貼付機構
1か月前
株式会社リコー
印刷システム
9日前
独立行政法人 国立印刷局
記録媒体
8か月前
株式会社リコー
液体吐出装置
5か月前
株式会社リコー
画像形成装置
28日前
株式会社リコー
画像形成装置
9日前
独立行政法人 国立印刷局
貼付装置
1か月前
株式会社リコー
液体吐出装置
5か月前
キヤノン株式会社
画像形成装置
10か月前
キヤノン株式会社
画像記録装置
21日前
ブラザー工業株式会社
プリンタ
8か月前
ブラザー工業株式会社
プリンタ
6か月前
フジコピアン株式会社
中間転写シート
9か月前
理想科学工業株式会社
印刷装置
6か月前
独立行政法人 国立印刷局
潜像印刷物
1か月前
キヤノン株式会社
画像処理装置
4か月前
キヤノン株式会社
情報処理装置
9か月前
キヤノン株式会社
画像形成装置
10か月前
ブラザー工業株式会社
プリンタ
1か月前
キヤノン株式会社
画像形成装置
1か月前
続きを見る
他の特許を見る