TOP
|
特許
|
意匠
|
商標
特許ウォッチ
Twitter
他の特許を見る
公開番号
2025135869
公報種別
公開特許公報(A)
公開日
2025-09-19
出願番号
2024033897
出願日
2024-03-06
発明の名称
タイヤ
出願人
横浜ゴム株式会社
代理人
弁理士法人酒井国際特許事務所
主分類
B60C
11/03 20060101AFI20250911BHJP(車両一般)
要約
【課題】ウェットトラクション性能を確保しつつ、耐通過騒音性能および低転がり抵抗性能も確保すること。
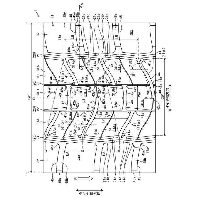
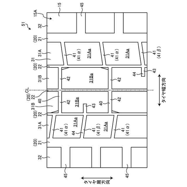
【解決手段】トレッド面15Aに、少なくとも4本の周方向溝20と、タイヤ幅方向最外側の各周方向溝20の間に区画されるセンター部31において、少なくとも2本の周方向溝に区画されてタイヤ幅方向の中央に配置されるセンター陸部31Bと、センター部31において、センター陸部のタイヤ幅方向外側に区画されるミドル陸部31Aと、タイヤ幅方向に延びてタイヤ幅方向最外側の各周方向溝に各端が連通してミドル陸部およびセンター陸部を通過して連続する第一副溝40と、タイヤ幅方向に延びてタイヤ幅方向最外側の一方の周方向溝に一端が連通し途中が少なくとも1本の周方向溝を通過して連続し他端がセンター陸部内で終端する第二副溝44と、を有し、第一副溝と第二副溝がタイヤ周方向で交互に配置される。
【選択図】図2
特許請求の範囲
【請求項1】
トレッド面に、
タイヤ周方向に延びる少なくとも4本の周方向溝と、
タイヤ幅方向最外側の各前記周方向溝の間に区画されるセンター部において、少なくとも2本の前記周方向溝に区画されてタイヤ幅方向の中央に配置されるセンター陸部と、
前記センター部において、前記センター陸部のタイヤ幅方向外側に区画されるミドル陸部と、
タイヤ幅方向に延びてタイヤ幅方向最外側の各前記周方向溝に各端が連通して前記ミドル陸部および前記センター陸部を通過して連続する第一副溝と、
タイヤ幅方向に延びてタイヤ幅方向最外側の一方の前記周方向溝に一端が連通し途中が少なくとも1本の前記周方向溝を通過して連続し他端が前記センター陸部内または前記ミドル陸部内で終端する第二副溝と、
を有し、
前記第一副溝と前記第二副溝がタイヤ周方向で交互に配置される、
タイヤ。
続きを表示(約 1,600 文字)
【請求項2】
前記第一副溝は、タイヤ周方向に対する傾斜角度が異なる第一角度θA1と第二角度θA2とを有したそれぞれがタイヤ周方向で交互に配置され、第一角度θA1が90[deg]<θA1<120[deg]の範囲で、第二角度θA2が60[deg]<θA2<90[deg]の範囲とされ、
前記第二副溝は、タイヤ周方向に対する傾斜角度が異なる第一角度θB1と第二角度θB2とを有したそれぞれがタイヤ周方向で交互に配置され、第一角度θB1が90[deg]<θB1<120[deg]の範囲で、第二角度θB2が60[deg]<θB2<90[deg]の範囲とされる、
請求項1に記載のタイヤ。
【請求項3】
前記第一副溝は、
前記センター陸部に配置される第一副溝センター部と、タイヤ幅方向両側の各前記ミドル陸部に配置される各第一副溝ミドル部と、を有し、
前記第一副溝センター部の両端の位置がタイヤ周方向で重なり、
各前記第一副溝ミドル部のタイヤ幅方向内側の端が第一副溝センター部の端と切欠部を介して連続しタイヤ周方向でずれて配置される、
請求項1に記載のタイヤ。
【請求項4】
前記第二副溝は、
タイヤ幅方向最外側のそれぞれの前記周方向溝に端が連通する一方の前記第二副溝および他方の前記第二副溝を含み、
一方の前記第二副溝と、他方の前記第二副溝とがタイヤ周方向で交互に配置される、
請求項1に記載のタイヤ。
【請求項5】
前記センター陸部のタイヤ幅方向寸法WAと、前記第二副溝の前記センター陸部内で終端する部分のタイヤ幅方向寸法WBとが、0.20≦WB/WA≦0.80の関係を満たす、
請求項1に記載のタイヤ。
【請求項6】
前記第一副溝および前記第二副溝は、
タイヤ幅方向最外側のそれぞれの前記周方向溝に連通する端の位置のタイヤ周方向距離が等間隔であり、タイヤ幅方向の相反する側で前記端同士がタイヤ周方向でずれて配置される、
請求項1に記載のタイヤ。
【請求項7】
前記センター部は、前記トレッド面の展開幅に対して45[%]以上の範囲でタイヤ幅方向中央寄りに設けられ、
前記センター部内に配置される1本以上の前記周方向溝は、タイヤ幅方向最外側の前記周方向溝の溝幅の0.3以下の溝幅に形成される、
請求項1に記載のタイヤ。
【請求項8】
前記ミドル陸部が前記第一副溝および前記第二副溝で区画されるミドルブロックと、
前記センター陸部が前記第一副溝で区画されるセンターブロックと、
タイヤ幅方向に延びて前記ミドルブロックのタイヤ周方向の中央部に配置されるミドルサイプと、
前記第二副溝の終端に連通してタイヤ幅方向に延びて前記センターブロックのタイヤ周方向の中央部に配置されるセンターサイプと、
を有する、
請求項1に記載のタイヤ。
【請求項9】
タイヤ幅方向最外側の前記周方向溝は、
その子午断面形状が、前記トレッド面から溝底側に延びる一対の第一溝壁と、
それぞれの前記第一溝壁の溝底側に繋がり前記トレッド面に沿う壇を形成する一対の壇部と、
それぞれの前記第一溝壁よりも溝中心側に位置し、それぞれの前記壇部から溝底側に延びる一対の第二溝壁と、
を有し、
タイヤ幅方向最外側の前記周方向溝のタイヤ幅方向外側に区画されるショルダー部において、タイヤ幅方向に延びてタイヤ周方向に複数配置されタイヤ幅方向最外側の前記周方向溝に一端が連通し、溝底に底上部が形成されるショルダーラグ溝が設けられ、
前記ショルダーラグ溝の底上部と、タイヤ幅方向最外側の前記周方向溝の前記壇部と、が円弧によって滑らかに繋がる、
請求項1に記載のタイヤ。
発明の詳細な説明
【技術分野】
【0001】
この発明は、タイヤに関する。
続きを表示(約 1,900 文字)
【背景技術】
【0002】
例えば、特許文献1には、タイヤ周方向に延在する一対のショルダー主溝と、一対のショルダー主溝を境界とする一対のショルダー領域および単一のセンター領域を備え、センター領域において、一方のショルダー主溝から他方のショルダー主溝に繋がるラグ溝を備える、タイヤが示されている。
【先行技術文献】
【特許文献】
【0003】
特開2022-057908号公報
【発明の概要】
【発明が解決しようとする課題】
【0004】
ここで、ラグ溝を主体的に含むブロックパターンは溝容積が大きく、ウェットトラクション性能には有利だが、耐通過騒音性能および低転がり抵抗性能には不利とされる。
【0005】
この発明は、ウェットトラクション性能を確保しつつ、耐通過騒音性能および低転がり抵抗性能も確保することのできるタイヤを提供することを目的とする。
【課題を解決するための手段】
【0006】
上記目的を達成するため、本発明の一態様に係るタイヤは、トレッド面に、タイヤ周方向に延びる少なくとも4本の周方向溝と、タイヤ幅方向最外側の各前記周方向溝の間に区画されるセンター部において、少なくとも2本の前記周方向溝に区画されてタイヤ幅方向の中央に配置されるセンター陸部と、前記センター部において、前記センター陸部のタイヤ幅方向外側に区画されるミドル陸部と、タイヤ幅方向に延びてタイヤ幅方向最外側の各前記周方向溝に各端が連通して前記ミドル陸部および前記センター陸部を通過して連続する第一副溝と、タイヤ幅方向に延びてタイヤ幅方向最外側の一方の前記周方向溝に一端が連通し途中が少なくとも1本の前記周方向溝を通過して連続し他端が前記センター陸部内または前記ミドル陸部内で終端する第二副溝と、を有し、前記第一副溝と前記第二副溝がタイヤ周方向で交互に配置される。
【発明の効果】
【0007】
この発明によれば、ウェットトラクション性能を確保しつつ、耐通過騒音性能および低転がり抵抗性能も確保できる。
【図面の簡単な説明】
【0008】
図1は、実施形態に係る空気入りタイヤの子午断面図である。
図2は、実施形態に係る空気入りタイヤのトレッド面の平面図である。
図3は、図に2おけるA-A断面図である。
図4は、実施形態に係る空気入りタイヤの他の例のトレッド面の概略平面図である。
図5は、実施形態に係る空気入りタイヤの他の例のトレッド面の概略平面図である。
図6は、実施形態に係る空気入りタイヤの性能試験の結果を示す図表である。
図7は、実施形態に係る空気入りタイヤの性能試験の結果を示す図表である。
【発明を実施するための形態】
【0009】
以下に、本発明に係る実施形態を図面に基づいて詳細に説明する。なお、この実施形態によりこの発明が限定されるものではない。また、この実施形態の構成要素には、発明の同一性を維持しつつ置換可能かつ置換自明なものが含まれる。また、この実施形態に記載された複数の変形例は、当業者自明の範囲内にて任意に組み合わせが可能である。
【0010】
以下の説明において、タイヤ径方向とは、実施形態の空気入りタイヤ1の回転軸であるタイヤ回転軸(図示省略)と直交する方向をいい、タイヤ径方向内側とはタイヤ径方向においてタイヤ回転軸に向かう側、タイヤ径方向外側とはタイヤ径方向においてタイヤ回転軸から離れる側をいう。また、タイヤ周方向とは、タイヤ回転軸を中心軸とする周り方向をいう。また、タイヤ幅方向とは、タイヤ回転軸と平行な方向をいい、タイヤ幅方向内側とはタイヤ幅方向においてタイヤ赤道面(タイヤ赤道線)CLに向かう側、タイヤ幅方向外側とはタイヤ幅方向においてタイヤ赤道面CLから離れる側をいう。タイヤ赤道面CLとは、タイヤ回転軸に直交すると共に、空気入りタイヤ1のタイヤ幅の中心を通る平面であり、タイヤ赤道面CLは、空気入りタイヤ1のタイヤ幅方向における中心位置であるタイヤ幅方向中心線と、タイヤ幅方向における位置が一致する。タイヤ赤道線とは、タイヤ赤道面CL上にあって空気入りタイヤ1のタイヤ周方向に沿う線をいう。また、タイヤ子午線方向の断面(子午断面図)とは、タイヤ回転軸を含む平面でタイヤを切断したときの断面をいう。
(【0011】以降は省略されています)
この特許をJ-PlatPat(特許庁公式サイト)で参照する
関連特許
横浜ゴム株式会社
音響窓
2か月前
横浜ゴム株式会社
タイヤ
19日前
横浜ゴム株式会社
タイヤ
9日前
横浜ゴム株式会社
タイヤ
9日前
横浜ゴム株式会社
タイヤ
1か月前
横浜ゴム株式会社
タイヤ
1か月前
横浜ゴム株式会社
タイヤ
1か月前
横浜ゴム株式会社
タイヤ
1か月前
横浜ゴム株式会社
タイヤ
19日前
横浜ゴム株式会社
タイヤ
9日前
横浜ゴム株式会社
タイヤ
19日前
横浜ゴム株式会社
タイヤ
19日前
横浜ゴム株式会社
タイヤ
19日前
横浜ゴム株式会社
タイヤ
1か月前
横浜ゴム株式会社
タイヤ
29日前
横浜ゴム株式会社
タイヤ
28日前
横浜ゴム株式会社
タイヤ
29日前
横浜ゴム株式会社
タイヤ
28日前
横浜ゴム株式会社
タイヤ
5日前
横浜ゴム株式会社
タイヤ
9日前
横浜ゴム株式会社
タイヤ
1か月前
横浜ゴム株式会社
タイヤ
1か月前
横浜ゴム株式会社
タイヤ
1か月前
横浜ゴム株式会社
タイヤ
1か月前
横浜ゴム株式会社
タイヤ
1か月前
横浜ゴム株式会社
タイヤ
5日前
横浜ゴム株式会社
重荷重タイヤ
5日前
横浜ゴム株式会社
空気入りタイヤ
9日前
横浜ゴム株式会社
空気入りタイヤ
6日前
横浜ゴム株式会社
空気入りタイヤ
1か月前
横浜ゴム株式会社
空気入りタイヤ
1か月前
横浜ゴム株式会社
空気入りタイヤ
1か月前
横浜ゴム株式会社
タイヤ及びその製造方法
2か月前
横浜ゴム株式会社
高分子微粒子集合体の製造法
27日前
横浜ゴム株式会社
更生タイヤ及びその製造方法
9日前
横浜ゴム株式会社
タイヤおよびタイヤの検査方法
1か月前
続きを見る
他の特許を見る