TOP
|
特許
|
意匠
|
商標
特許ウォッチ
Twitter
他の特許を見る
10個以上の画像は省略されています。
公開番号
2025145914
公報種別
公開特許公報(A)
公開日
2025-10-03
出願番号
2024046421
出願日
2024-03-22
発明の名称
直動案内装置の組立方法
出願人
日本精工株式会社
代理人
弁理士法人栄光事務所
主分類
F16C
29/06 20060101AFI20250926BHJP(機械要素または単位;機械または装置の効果的機能を生じ維持するための一般的手段)
要約
【課題】部品精度の向上等に起因したコスト増大を招くことなく、組立が容易かつ迅速となるとともに生産性や品質安定性の面で有利となる、直動案内装置の組立方法を提供する。
【解決手段】直動案内装置の組立方法において、エンドキャップの挿入路により案内されるようにして挿入治具の突出部を挿入路に挿入して、スライダ本体またはエンドキャップの係止面に突き当て、挿入治具の突出部を介して、転動体を挿入治具より戻し路に挿入し、挿入治具を挿入路から抜き出して、挿入路に閉塞部材を嵌める。
【選択図】図5
特許請求の範囲
【請求項1】
案内レールと、
案内レールに対して長手方向に相対移動するように配置されたスライダと、
前記案内レールと前記スライダとの間に形成される転動路内に沿って転動自在に配置される複数の転動体と、を備え、
前記スライダは、
前記転動体の転動路を形成する軌道面、及び前記転動体の戻し路を有するスライダ本体と、
前記スライダ本体に取り付けられたエンドキャップと、を備えており、
前記エンドキャップは、
前記転動路と前記戻し路をつなぐ方向転換路と、
前記方向転換路の一部を切り欠いて形成された挿入路と、
前記挿入路をふさぐ閉塞部材と、を備えている直動案内装置の組立方法であって、
前記挿入路により案内されるようにして挿入治具の突出部を前記挿入路に挿入して、前記スライダ本体または前記エンドキャップの係止面に突き当て、
前記挿入治具の突出部を介して、前記転動体を前記挿入治具より前記戻し路に挿入し、
前記挿入治具を前記挿入路から抜き出して、前記挿入路に閉塞部材を嵌める、
ことを特徴とする直動案内装置の組立方法。
続きを表示(約 540 文字)
【請求項2】
前記挿入治具の前記突出部は、上面を前記転動体が転動可能な中央板部と、前記中央板部の幅方向両端から直交する方向に延在する側板部とを有し、
前記側板部の側面が、挿入される前記転動体の端面の一部に当接する、
ことを特徴とする請求項1に記載の直動案内装置の組立方法。
【請求項3】
前記転動体の端面を案内する前記方向転換路の転動路端面案内面の一部が、前記転動体の端面を案内する前記戻し路の転動路端面案内面に隙間または段差なく接合されている、
ことを特徴とする請求項1に記載の直動案内装置の組立方法。
【請求項4】
前記方向転換路は、曲面部を含み、
前記曲面部に接続された前記戻し路は、前記スライダ本体の貫通孔に挿入されたスリーブの内側面から形成され、
前記係止面は、前記スリーブの端面である、
ことを特徴とする請求項1に記載の直動案内装置の組立方法。
【請求項5】
前記係止面の位置は、前記係止面以外における前記方向転換路の端部と前記スライダ本体の戻し路との接続部の位置に対して、前記戻し路の長手方向にシフトしていることを特徴とする請求項1に記載の直動案内装置の組立方法。
発明の詳細な説明
【技術分野】
【0001】
本発明は、直動案内装置の組立方法に関する。
続きを表示(約 2,100 文字)
【背景技術】
【0002】
ころやボール等の転動体を内部で無限循環させながら被案内物を直線的に案内する直動案内装置は、半導体製造装置や超精密加工機械,超精密測定機器等の運動精度に大きな影響を与える重要な機械要素の一つである。
【0003】
特に工作機械、精密機器、射出成形機などに用いられる直動案内装置において、高負荷容量の要求が高まっており、転動体としてころを用いるケースが増えている。このような直動案内装置の組立方法として、例えば直動案内装置のスライド本体内に転動体及び保持ピースを、多くの時間や手間を要することなく組入れると共に、組立作業の自動化及び精密化を図る組立方法が、特許文献1に開示されている。
【先行技術文献】
【特許文献】
【0004】
特開2006-64108号公報
【発明の概要】
【発明が解決しようとする課題】
【0005】
特許文献1に示す技術によれば、予め転動体と保持ピースを整列・配置した転動体挿入治具を用いて、循環部品に設けた転動体挿入口より戻り通路に向けて転動体を挿入している。しかしながら、転動体の全周にわたって継ぎ面を設けているため、継ぎ部で段差や傾きが生じた場合、転動体の傾きを抑えることができず、継ぎ部での乗り移り時に転動体列の動きに乱れが生じ転動体の転倒等のエラーが起こるおそれがある。一方で、継ぎ部で両部品間の段差や傾きを抑えるために、転動体挿入部や転動体挿入治具の寸法精度を上げた場合、コストの増大を招く可能性がある。
【0006】
本発明は上記課題に鑑みてなされたもので、部品精度の向上等に起因したコスト増大を招くことなく、組立が容易かつ迅速となるとともに生産性や品質安定性の面で有利となる、直動案内装置の組立方法を提供することを目的とする。
【課題を解決するための手段】
【0007】
本発明の直動案内装置の組立方法は、
案内レールと、
案内レールに対して長手方向に相対移動するように配置されたスライダと、
前記案内レールと前記スライダとの間に形成される転動通路内に沿って転動自在に配置される複数の転動体と、を備え、
前記スライダは、
前記案内レールの軌道溝に対向配置されて前記転動体の転動路を形成する軌道面、及び前記転動体の戻し路を有するスライダ本体と、
前記スライダ本体に取り付けられたエンドキャップと、を備えており、
前記エンドキャップは、
前記転動路と前記戻し路をつなぐ方向転換路と、
前記方向転換路の一部を切り欠いて形成された挿入路と、
前記挿入路をふさぐ閉塞部材と、を備えている直動案内装置の組立方法であって、
前記挿入路により案内されるようにして挿入治具の突出部を前記挿入路に挿入して、前記スライダ本体または前記エンドキャップの係止面に突き当て、
前記挿入治具の突出部を介して、前記転動体を前記挿入治具より前記戻し路に挿入し、
前記挿入治具を前記挿入路から抜き出して、前記挿入路に閉塞部材を嵌める、ことを特徴とする。
【発明の効果】
【0008】
本発明によれば、部品精度の向上等に起因したコスト増大を招くことなく、組立が容易かつ迅速となるとともに生産性や品質安定性の面で有利となる、直動案内装置の組立方法を提供することができる。
【図面の簡単な説明】
【0009】
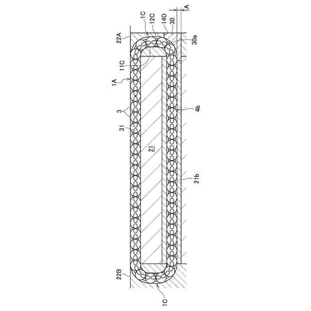
図1は、第1の実施形態に係る直動案内装置を示す斜視図である。
図2は、図1の直動案内装置のスライダからサイドシールとエンドキャップを外した状態を示す正面図である。
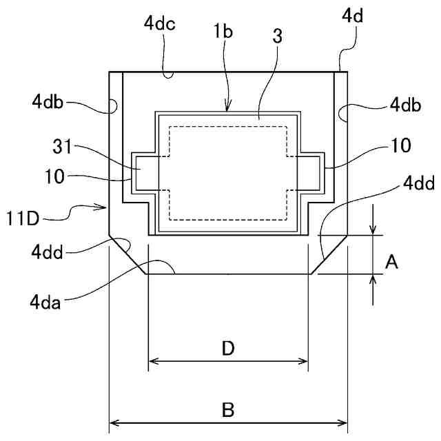
図3は、本実施形態のスライダを構成するエンドキャップの正面図である。
図4は、スライダ本体とエンドキャップを組み付けた状態で、図2のIV-IV断面を図示した図である。
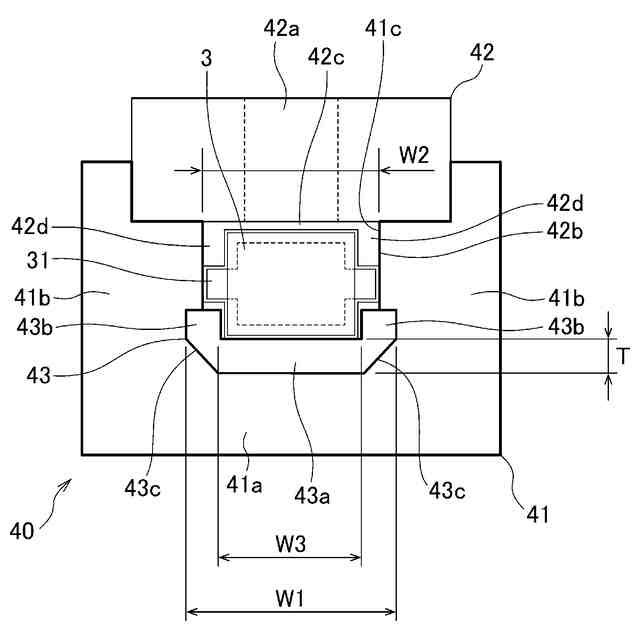
図5は、図3の挿入孔付近を示す断面図である。
図6は、スリーブのエンドキャップ側の端部を拡大して示す斜視図である。
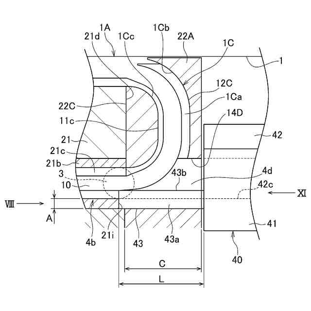
図7は、図6のスリーブを矢印VII方向に見た図である。
図8は、図5の挿入治具を矢印VIII向に見た図である。
図9は、挿入孔を矢印IX方向に見た図である。
図10は、変形例にかかるスリーブの図6と同様な斜視図である。
図11は、変形例のボールねじの図5と同様な断面図である。
【発明を実施するための形態】
【0010】
以下、本発明の実施形態について、図面を参照して詳細に説明する。なお、本明細書において、方向を示す用語(上方、下方等)は、特に断りがない限り図2におけるそれぞれの方向を指すものとする。また、「長手方向」とは、案内レールまたはスライダの長手方向をいうものとする。
(【0011】以降は省略されています)
この特許をJ-PlatPat(特許庁公式サイト)で参照する
関連特許
個人
鍋虫ねじ
1か月前
個人
紛体用仕切弁
1か月前
個人
回転伝達機構
2か月前
個人
ホース保持具
5か月前
個人
トーションバー
6か月前
個人
差動歯車用歯形
3か月前
個人
ジョイント
19日前
個人
給排気装置
1日前
個人
固着具と成形品部材
8か月前
個人
地震の揺れ回避装置
2か月前
個人
回転式配管用支持具
7か月前
個人
ボルトナットセット
6か月前
個人
ナット
20日前
株式会社不二工機
電磁弁
3か月前
株式会社不二工機
電磁弁
4か月前
個人
吐出量監視装置
1か月前
株式会社オンダ製作所
継手
8か月前
カヤバ株式会社
緩衝器
3か月前
カヤバ株式会社
緩衝器
3か月前
カヤバ株式会社
ダンパ
3か月前
カヤバ株式会社
ダンパ
3か月前
柿沼金属精機株式会社
分岐管
1か月前
株式会社ミクニ
弁装置
8か月前
株式会社ミクニ
弁装置
8か月前
個人
ベルトテンショナ
7か月前
株式会社三協丸筒
枠体
6か月前
カヤバ株式会社
緩衝器
今日
カヤバ株式会社
緩衝器
6か月前
株式会社ノーリツ
分配弁
5か月前
株式会社ノーリツ
分配弁
5か月前
株式会社不二工機
電磁弁
1か月前
株式会社ノーリツ
分配弁
5か月前
株式会社不二工機
電動弁
1日前
個人
角型菅の連結構造及び工法
7か月前
個人
固着具と固着具の固定方法
4か月前
株式会社ノーリツ
分配弁
5日前
続きを見る
他の特許を見る