TOP
|
特許
|
意匠
|
商標
特許ウォッチ
Twitter
他の特許を見る
10個以上の画像は省略されています。
公開番号
2025146035
公報種別
公開特許公報(A)
公開日
2025-10-03
出願番号
2024046603
出願日
2024-03-22
発明の名称
インクジェット印刷装置
出願人
理想科学工業株式会社
代理人
個人
,
個人
,
個人
主分類
B41J
2/01 20060101AFI20250926BHJP(印刷;線画機;タイプライター;スタンプ)
要約
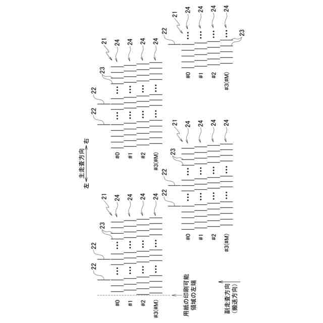
【課題】処理時間の増大を抑えつつ、不吐出のノズルの誤検出を低減できるインクジェット印刷装置を提供する。
【解決手段】制御部は、画像データにおけるテストパターン21の各段24について、左側から右側へ走査し、最初のノズルパターン23の検出以降においてノズルパターン23またはノズルパターン23の欠落を検出するごとにノズルのカウント値をカウントアップし、検出されたノズルパターン23およびノズルパターン23の欠落に対応するカウント値およびノズル配列方向における位置を記憶し、ノズルのノズル番号を算出する。
【選択図】図12
特許請求の範囲
【請求項1】
複数のノズルを有するライン型のインクジェットヘッドと、
テストパターンを前記インクジェットヘッドにより印刷媒体に印刷させ、印刷された前記テストパターンを読み取って生成された画像データに基づき、不吐出の前記ノズルを検出する制御部とを備え、
前記制御部は、
前記画像データにおける基準線分を検出し、
前記画像データにおける前記テストパターンの各段について、
ノズル配列方向の一方側から他方側へ走査し、最初の線分の検出以降において前記線分または前記線分の欠落を検出するごとに前記ノズルのカウント値をカウントアップし、検出された前記線分および前記線分の欠落に対応するカウント値および前記ノズル配列方向における位置を記憶し、
前記ノズルのノズル番号を算出することを特徴とするインクジェット印刷装置。
続きを表示(約 1,600 文字)
【請求項2】
前記テストパターンは、前記複数のノズルの内、特定のノズルから前記ノズル配列方向と直交する方向に沿った前記基準線分を描画し、前記各ノズルから前記ノズル配列方向に沿って前記ノズル配列方向と直交する方向に順次ずらしながら印刷媒体に複数の線分の描画を行い、所定の段数毎に前記直交する方向の最初に位置に戻って同様の描画を繰り返してなるものであり、
前記インクジェットヘッドにおけるノズル番号が最小の前記ノズルから前記テストパターンの印刷に用いられ、前記基準線分と同じ位置の前記線分を含む前記段において前記ノズル配列方向の一方側の端の前記線分が描画されており当該線分の検出によりカウント値のカウントアップが開始されたとした場合の、前記基準線分と同じ位置の前記線分に対応するカウント値であるカウント正解値、および、最初に検出された前記線分の前記ノズル配列方向における位置が最も他方側にある前記段の最初に検出された前記線分に対応する前記ノズルを含むノズル群から他方側の各ノズル群のうちのいずれかの前記ノズル群の各ノズルによる前記線分または前記線分の欠落に対応するカウント値を用いて、各段の最初の前記線分の検出以降において検出された前記線分の欠落に対応するカウント値を、前記インクジェットヘッドにおけるノズル番号が最小の前記ノズルから前記テストパターンの印刷に用いられ、各段において前記ノズル配列方向の一方側の端の前記線分が描画されており当該線分の検出によりカウント値のカウントアップが開始されたとした場合の値となるように補正するための、前記段ごとの補正値を算出し、
各段の最初の前記線分の検出以降において検出された前記線分の欠落に対応する不吐出の前記ノズルのノズル番号を、当該線分の欠落に対応するカウント値を当該線分の欠落を含む前記段の前記補正値により補正した値を用いて算出することを特徴とする請求項1に記載のインクジェット印刷装置。
【請求項3】
前記制御部は、
前記ノズル配列方向における前記基準線分と同じ位置の前記線分に対応するカウント値を前記カウント正解値から差し引いた値をカウント基準補正値として算出し、
最初に検出された前記線分の前記ノズル配列方向における位置が最も他方側にある前記段の最初に検出された前記線分に対応する前記ノズルを含む前記ノズル群の各ノズルによる前記線分または前記線分の欠落に対応する前記段ごとのカウント値のそれぞれから、当該ノズル群における、前記基準線分を描画した前記ノズルが前記線分を描画した前記段と同じ前記段が前記線分の描画対象である前記ノズルによる前記線分または前記線分の欠落に対応するカウント値を差し引いた値を、前記段ごとのカウント調整値として算出し、
前記カウント基準補正値から前記段ごとの前記カウント調整値を差し引いた値を、前記段ごとの前記補正値として算出することを特徴とする請求項2に記載のインクジェット印刷装置。
【請求項4】
前記基準線分を描画した前記ノズルを含む前記ノズル群が、最初に検出された前記線分の前記ノズル配列方向における位置が最も他方側にある前記段の最初に検出された前記線分に対応する前記ノズルを含む前記ノズル群から他方側にあり、
前記制御部は、
前記基準線分を描画した前記ノズルを含む前記ノズル群の各ノズルによる前記線分または前記線分の欠落に対応する前記段ごとのカウント値のそれぞれを、前記カウント正解値から差し引いた値を、前記段ごとの前記補正値として算出することを特徴とする請求項2に記載のインクジェット印刷装置。
【請求項5】
前記インクジェットヘッドが、複数の前記基準線分をそれぞれ異なる前記ノズルにより描画することを特徴とする請求項1乃至4のいずれか1項に記載のインクジェット印刷装置。
発明の詳細な説明
【技術分野】
【0001】
本発明は、インクジェット印刷装置に関する。
続きを表示(約 1,200 文字)
【背景技術】
【0002】
インクジェット印刷装置において、インクの不吐出(MF:Miss Fire)のノズルを検出するためのテストパターンを印刷し、印刷されたテストパターンを読み取って得られた画像データに基づき、不吐出のノズルを検出する技術が知られている。
【0003】
テストパターンとして、各ノズルで線分を描画することで形成されるものであって、ノズル番号が1つ大きくなるごとに1段下がる位置に線分を描画し、所定の段数に到達すると最初の線分の位置に戻って線分を描画することで形成されるものがある(特許文献1参照)。
【0004】
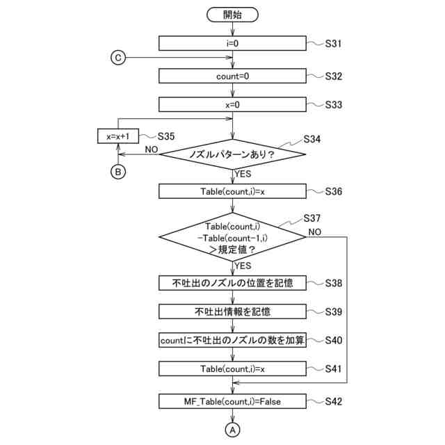
このテストパターンを用いて不吐出のノズルを検出する処理では、テストパターンを読み取って得られた画像データにおけるテストパターンの各段を走査し、線分または線分の欠落を検出すると、ノズルのカウント値をカウントアップする。ここで、検出された線分間の距離が所定の値より大きい場合、その線分間に線分の欠落があると判断することで、線分の欠落を検出する。線分の欠落は、本来は線分が描画されている位置に線分が描画されていないことである。
【0005】
線分の欠落は、それに対応するノズルが不吐出であることを示す。そこで、この処理では、線分の欠落に対応するノズルのカウント値を用いて、不吐出のノズルのノズル番号を算出する。
【0006】
ここで、例えば、テストパターンの各段を走査する際の走査方向における上流側の端の線分が欠落している場合には、その線分の欠落は検出できないため、本来は最初の線分ではない線分からカウントアップが開始される。このことから、不吐出のノズルのノズル番号が誤って算出される、すなわち不吐出のノズルが誤検出されることがある。
【0007】
また、例えば、走査方向における上流側の端のノズルにより描画された線分より上流側にゴミ等の異物があり、その異物がテストパターンの線分と誤って検出されてカウントアップが開始されることがある。このような場合にも、不吐出のノズルのノズル番号が誤って算出されることがある。
【0008】
不吐出のノズルのノズル番号が誤って算出された場合、不適切な画像補正が行われて印刷画質が低下するおそれがある。
【0009】
これに対し、例えば、テストパターンにおける基準位置に対する理論位置に線分があるか否かにより、線分の欠落を検出し、不吐出のノズルのノズル番号を算出する方法が考えられる。
【0010】
また、走査方向における各段の上流側の端の線分の位置をパターンとして捉え、パターンマッチングにより各段のカウント値の補正量を決定し、不吐出のノズルのノズル番号を算出する方法が考えられる。
【先行技術文献】
【特許文献】
(【0011】以降は省略されています)
この特許をJ-PlatPat(特許庁公式サイト)で参照する
関連特許
個人
箔熱転写装置
24日前
シヤチハタ株式会社
印判
4か月前
東レ株式会社
凸版印刷版原版
9か月前
シヤチハタ株式会社
反転式印判
8か月前
三光株式会社
感熱記録材料
6か月前
キヤノン株式会社
記録装置
17日前
独立行政法人 国立印刷局
印刷物
6か月前
株式会社リコー
画像形成装置
1日前
株式会社リコー
液体吐出装置
7か月前
独立行政法人 国立印刷局
貼付装置
1か月前
日本製紙株式会社
感熱記録体
7か月前
株式会社リコー
液体吐出装置
4か月前
株式会社リコー
液体吐出装置
7か月前
株式会社リコー
液体吐出装置
1か月前
株式会社リコー
液体吐出装置
8か月前
独立行政法人 国立印刷局
記録媒体
8か月前
株式会社リコー
液体吐出装置
5か月前
株式会社リコー
印刷システム
5日前
独立行政法人 国立印刷局
貼付機構
1か月前
株式会社リコー
画像形成装置
24日前
株式会社リコー
液体吐出装置
4か月前
株式会社リコー
液体吐出装置
3か月前
株式会社リコー
画像形成装置
5日前
ブラザー工業株式会社
プリンタ
3か月前
キヤノン株式会社
画像形成装置
7か月前
キヤノン株式会社
画像記録装置
17日前
独立行政法人 国立印刷局
潜像印刷物
1か月前
理想科学工業株式会社
印刷装置
6か月前
ブラザー工業株式会社
プリンタ
7か月前
フジコピアン株式会社
中間転写シート
9か月前
キヤノン株式会社
画像形成装置
1か月前
ブラザー工業株式会社
プリンタ
5か月前
キヤノン株式会社
画像形成装置
3か月前
ブラザー工業株式会社
液体吐出ヘッド
17日前
キヤノン株式会社
印刷システム
7か月前
ブラザー工業株式会社
プリンタ
1か月前
続きを見る
他の特許を見る