TOP
|
特許
|
意匠
|
商標
特許ウォッチ
Twitter
他の特許を見る
10個以上の画像は省略されています。
公開番号
2025146169
公報種別
公開特許公報(A)
公開日
2025-10-03
出願番号
2024046808
出願日
2024-03-22
発明の名称
容量性負荷駆動回路、液体吐出装置、及びヘッドユニット
出願人
セイコーエプソン株式会社
代理人
個人
,
個人
,
個人
,
個人
主分類
B41J
2/14 20060101AFI20250926BHJP(印刷;線画機;タイプライター;スタンプ)
要約
【課題】消費電力を低減できる容量性負荷駆動回路を提供すること。
【解決手段】基駆動信号を変調し変調信号を増幅した第1増幅変調信号を出力する増幅回路と、第1電位と第2電位とで変化するレベル切替信号を出力するレベル切替信号出力回路と、レベル切替信号が第1電位のときに第1増幅変調信号を第2増幅変調信号として出力し、レベル切替信号が第2電位のときに第1増幅変調信号の電位をシフトした信号を第2増幅変調信号として出力するレベルシフト回路と、第2増幅変調信号を復調し駆動信号を出力する復調回路と、駆動信号に応じた帰還信号を出力する帰還回路と、を備え、レベル切替信号出力回路の状態は、基駆動信号の値が変化する期間において、帰還信号に応じて第1電位と第2電位とで変化するレベル切替信号を出力する第1状態と、第1電位又は第2電位で一定のレベル切替信号を出力する第2状態と、を含む容量性負荷駆動回路。
【選択図】図12
特許請求の範囲
【請求項1】
容量性負荷を駆動する駆動信号を出力する容量性負荷駆動回路であって、
前記駆動信号の基となる基駆動信号を変調し、変調信号を出力する変調回路と、
前記変調信号を増幅した第1増幅変調信号を出力する増幅回路と、
第1電位と第2電位とで変化するレベル切替信号を出力するレベル切替信号出力回路と、
前記レベル切替信号が前記第1電位のときに前記第1増幅変調信号を第2増幅変調信号として出力し、前記レベル切替信号が前記第2電位のときに前記第1増幅変調信号の基準電位をレベルシフトした信号を前記第2増幅変調信号として出力するレベルシフト回路と、
前記第2増幅変調信号を復調し、前記駆動信号を出力する復調回路と、
前記駆動信号に応じた帰還信号を出力する帰還回路と、
を備え、
前記レベル切替信号出力回路の状態は、前記基駆動信号の値が変化する変化期間において、前記帰還信号に応じて前記第1電位と前記第2電位とで変化する前記レベル切替信号を出力する第1状態と、前記第1電位又は前記第2電位で一定の前記レベル切替信号を出力する第2状態と、を含む、
ことを特徴とする容量性負荷駆動回路。
続きを表示(約 2,100 文字)
【請求項2】
前記基駆動信号の値が変化しない不変期間から前記変化期間に移行した直後において、前記レベル切替信号出力回路の状態は前記第2状態となる、
ことを特徴とする請求項1に記載の容量性負荷駆動回路。
【請求項3】
前記変化期間から、前記基駆動信号の値が変化しない不変期間に移行する直前において、前記レベル切替信号出力回路の状態は前記第2状態である、
ことを特徴とする請求項1に記載の容量性負荷駆動回路。
【請求項4】
前記レベル切替信号出力回路は、
前記基駆動信号に応じて、前記レベル切替信号の電位の切り替えを制御する第1切替制御信号及び第2切替制御信号を出力するレベル切替制御回路と、
前記基駆動信号に応じた基準信号を出力する基準信号出力回路と、
前記基準信号と前記帰還信号とを比較し、比較結果に応じたパルス信号を出力するパルス信号出力回路と、
前記第1切替制御信号の論理レベル、及び前記第2切替制御信号の論理レベルに応じて、前記第1電位で一定の前記レベル切替信号を出力するのか、前記第2電位で一定の前記レベル切替信号を出力するのか、又は前記パルス信号に応じて前記第1電位と前記第2電位とで変化する前記レベル切替信号を出力するのか、を切り替える出力切替回路と、
を有する、
ことを特徴とする請求項1に記載の容量性負荷駆動回路。
【請求項5】
記憶回路を含み、
前記レベル切替信号出力回路は、前記記憶回路に記憶された情報に基づいて、前記第1切替制御信号の論理レベル、及び前記第2切替制御信号の論理レベルを切り替える、
ことを特徴とする請求項4に記載の容量性負荷駆動回路。
【請求項6】
媒体を搬送する搬送ユニットと、
容量性負荷の駆動に応じて前記媒体に液体を吐出する液体吐出ヘッドと、
前記容量性負荷を駆動する駆動信号を出力する容量性負荷駆動回路と、
を備え、
前記容量性負荷駆動回路は、
前記駆動信号の基となる基駆動信号を変調し、変調信号を出力する変調回路と、
前記変調信号を増幅した第1増幅変調信号を出力する増幅回路と、
第1電位と第2電位とで変化するレベル切替信号を出力するレベル切替信号出力回路と、
前記レベル切替信号が前記第1電位のときに前記第1増幅変調信号を第2増幅変調信号として出力し、前記レベル切替信号が前記第2電位のときに前記第1増幅変調信号の基準電位をレベルシフトした信号を前記第2増幅変調信号として出力するレベルシフト回路と、
前記第2増幅変調信号を復調し、前記駆動信号を出力する復調回路と、
前記駆動信号に応じた帰還信号を出力する帰還回路と、
を備え、
前記レベル切替信号出力回路の状態は、前記基駆動信号の値が変化する変化期間において、前記帰還信号に応じて前記第1電位と前記第2電位とで変化する前記レベル切替信号を出力する第1状態と、前記第1電位又は前記第2電位で一定の前記レベル切替信号を出力する第2状態と、を含む、
ことを特徴とする液体吐出装置。
【請求項7】
前記基駆動信号の値が変化しない不変期間から前記変化期間に移行した直後において、前記レベル切替信号出力回路の状態は前記第2状態となる、
ことを特徴とする請求項6に記載の液体吐出装置。
【請求項8】
前記変化期間から、前記基駆動信号の値が変化しない不変期間に移行する直前において、前記レベル切替信号出力回路の状態は前記第2状態である、
ことを特徴とする請求項6に記載の液体吐出装置。
【請求項9】
前記レベル切替信号出力回路は、
前記基駆動信号に応じて、前記レベル切替信号の電位の切り替えを制御する第1切替制御信号及び第2切替制御信号を出力するレベル切替制御回路と、
前記基駆動信号に応じた基準信号を出力する基準信号出力回路と、
前記基準信号と前記帰還信号とを比較し、比較結果に応じたパルス信号を出力するパルス信号出力回路と、
前記第1切替制御信号の論理レベル、及び前記第2切替制御信号の論理レベルに応じて、前記第1電位で一定の前記レベル切替信号を出力するのか、前記第2電位で一定の前記レベル切替信号を出力するのか、又は前記パルス信号に応じて前記第1電位と前記第2電位とで変化する前記レベル切替信号を出力するのか、を切り替える出力切替回路と、
を有する、
ことを特徴とする請求項6に記載の液体吐出装置。
【請求項10】
記憶回路を含み、
前記レベル切替信号出力回路は、前記記憶回路に記憶された情報に基づいて、前記第1切替制御信号の論理レベル、及び前記第2切替制御信号の論理レベルを切り替える、
ことを特徴とする請求項9に記載の液体吐出装置。
(【請求項11】以降は省略されています)
発明の詳細な説明
【技術分野】
【0001】
本発明は、容量性負荷駆動回路、液体吐出装置、及びヘッドユニットに関する。
続きを表示(約 2,900 文字)
【背景技術】
【0002】
液体を吐出して媒体に画像や文書を形成する液体吐出装置には、圧電素子を用いたものが知られている。このような液体吐出装置において、圧電素子は、液体を吐出する複数のノズルのそれぞれに対応して設けられ、それぞれが駆動信号に従って駆動される。そして、圧電素子が駆動することで、当該圧電素子に対応して設けられたノズルから液体が吐出される。このような圧電素子を動作させるためには十分な電流を供給する必要がある。そのため、圧電素子を駆動する駆動信号を出力する駆動回路は、駆動信号の基となる源信号を増幅回路によって増幅する増幅回路を含んで構成されている。
【0003】
特許文献1には、駆動信号の基となる基駆動信号をパルス変調し、パルス変調した変調信号を増幅し駆動信号として出力する回路が開示されている。
【先行技術文献】
【特許文献】
【0004】
特開2010-124040号公報
【発明の概要】
【発明が解決しようとする課題】
【0005】
しかしながら、駆動回路での消費電力を低減させるとの観点において、特許文献1に記載の技術のみでは十分でなく、改善の余地があった。
【課題を解決するための手段】
【0006】
本発明に係る容量性負荷駆動回路の一態様は、
容量性負荷を駆動する駆動信号を出力する容量性負荷駆動回路であって、
前記駆動信号の基となる基駆動信号を変調し、変調信号を出力する変調回路と、
前記変調信号を増幅した第1増幅変調信号を出力する増幅回路と、
第1電位と第2電位とで変化するレベル切替信号を出力するレベル切替信号出力回路と、
前記レベル切替信号が前記第1電位のときに前記第1増幅変調信号を第2増幅変調信号として出力し、前記レベル切替信号が前記第2電位のときに前記第1増幅変調信号の基準電位をレベルシフトした信号を前記第2増幅変調信号として出力するレベルシフト回路と、
前記第2増幅変調信号を復調し、前記駆動信号を出力する復調回路と、
前記駆動信号に応じた帰還信号を出力する帰還回路と、
を備え、
前記レベル切替信号出力回路の状態は、前記基駆動信号の値が変化する変化期間において、前記帰還信号に応じて前記第1電位と前記第2電位とで変化する前記レベル切替信号を出力する第1状態と、前記第1電位又は前記第2電位で一定の前記レベル切替信号を出力する第2状態と、を含む。
【0007】
本発明に係る液体吐出装置の一態様は、
媒体を搬送する搬送ユニットと、
容量性負荷の駆動に応じて前記媒体に液体を吐出する液体吐出ヘッドと、
前記容量性負荷を駆動する駆動信号を出力する容量性負荷駆動回路と、
を備え、
前記容量性負荷駆動回路は、
前記駆動信号の基となる基駆動信号を変調し、変調信号を出力する変調回路と、
前記変調信号を増幅した第1増幅変調信号を出力する増幅回路と、
第1電位と第2電位とで変化するレベル切替信号を出力するレベル切替信号出力回路と、
前記レベル切替信号が前記第1電位のときに前記第1増幅変調信号を第2増幅変調信号として出力し、前記レベル切替信号が前記第2電位のときに前記第1増幅変調信号の基準電位をレベルシフトした信号を前記第2増幅変調信号として出力するレベルシフト回路と、
前記第2増幅変調信号を復調し、前記駆動信号を出力する復調回路と、
前記駆動信号に応じた帰還信号を出力する帰還回路と、
を備え、
前記レベル切替信号出力回路の状態は、前記基駆動信号の値が変化する変化期間において、前記帰還信号に応じて前記第1電位と前記第2電位とで変化する前記レベル切替信号を出力する第1状態と、前記第1電位又は前記第2電位で一定の前記レベル切替信号を出力する第2状態と、を含む。
【0008】
本発明に係るヘッドユニットの一態様は、
容量性負荷の駆動に応じて媒体に液体を吐出する液体吐出ヘッドと、
前記容量性負荷を駆動する駆動信号を出力する容量性負荷駆動回路と、
を備え、
前記容量性負荷駆動回路は、
前記駆動信号の基となる基駆動信号を変調し、変調信号を出力する変調回路と、
前記変調信号を増幅した第1増幅変調信号を出力する増幅回路と、
第1電位と第2電位とで変化するレベル切替信号を出力するレベル切替信号出力回路と、
前記レベル切替信号が前記第1電位のときに前記第1増幅変調信号を第2増幅変調信号として出力し、前記レベル切替信号が前記第2電位のときに前記第1増幅変調信号の基準電位をレベルシフトした信号を前記第2増幅変調信号として出力するレベルシフト回路と、
前記第2増幅変調信号を復調し、前記駆動信号を出力する復調回路と、
前記駆動信号に応じた帰還信号を出力する帰還回路と、
を備え、
前記レベル切替信号出力回路の状態は、前記基駆動信号の値が変化する変化期間において、前記帰還信号に応じて前記第1電位と前記第2電位とで変化する前記レベル切替信号を出力する第1状態と、前記第1電位又は前記第2電位で一定の前記レベル切替信号を出力する第2状態と、を含む。
【図面の簡単な説明】
【0009】
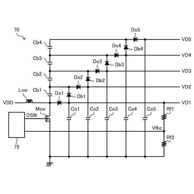
液体吐出装置の構造の一例を示す図である。
液体吐出装置の機能構成を示す図である。
ヘッドユニットにおける複数の吐出部の配置の一例を示す図である。
吐出部の構成の一例を示す図である。
電圧変換回路の構成の一例を示す図である。
電圧変換回路の動作を説明するための図である。
駆動信号COMの信号波形の一例を示す図である。
駆動回路の機能構成の一例を示す図である。
駆動回路の動作を説明するための図である。
レベル切替信号出力回路の構成の一例を示す図である。
帰還回路に含まれるハイパスフィルターの構成の一例を示す図である。
レベル切替信号出力回路の動作を説明するための図である。
変形例1の電圧変換回路の構成の一例を示す図である。
変形例2の電圧変換回路の構成の一例を示す図である。
変形例3の液体吐出装置が有する駆動回路の構成を示す図である。
【発明を実施するための形態】
【0010】
以下、本発明の好適な実施形態について図面を用いて説明する。用いる図面は説明の便宜上のものである。なお、以下に説明する実施形態は、特許請求の範囲に記載された本発明の内容を不当に限定するものではない。また、以下で説明される構成の全てが本発明の必須構成要件であるとは限らない。
(【0011】以降は省略されています)
この特許をJ-PlatPat(特許庁公式サイト)で参照する
関連特許
個人
箔熱転写装置
1か月前
シヤチハタ株式会社
印判
4か月前
東レ株式会社
凸版印刷版原版
10か月前
シヤチハタ株式会社
反転式印判
9か月前
三菱製紙株式会社
感熱記録材料
10か月前
三光株式会社
感熱記録材料
6か月前
キヤノン株式会社
記録装置
24日前
独立行政法人 国立印刷局
印刷物
7か月前
株式会社リコー
液体吐出装置
6か月前
株式会社リコー
印刷システム
12日前
株式会社リコー
液体吐出装置
7か月前
独立行政法人 国立印刷局
貼付機構
1か月前
株式会社リコー
画像形成装置
12日前
株式会社リコー
液体吐出装置
4か月前
日本製紙株式会社
感熱記録体
7か月前
株式会社リコー
液体吐出装置
2か月前
株式会社リコー
液体吐出装置
4か月前
株式会社リコー
液体吐出装置
5か月前
株式会社リコー
液体吐出装置
7か月前
株式会社リコー
液体吐出装置
8か月前
株式会社リコー
画像形成装置
8日前
独立行政法人 国立印刷局
記録媒体
8か月前
株式会社リコー
画像形成装置
1か月前
独立行政法人 国立印刷局
貼付装置
1か月前
キヤノン株式会社
画像形成装置
7か月前
キヤノン株式会社
印刷システム
7か月前
ブラザー工業株式会社
液体吐出ヘッド
24日前
理想科学工業株式会社
印刷装置
6か月前
キヤノン株式会社
画像形成装置
10か月前
キヤノン株式会社
画像形成装置
10か月前
独立行政法人 国立印刷局
潜像印刷物
1か月前
ブラザー工業株式会社
プリンタ
1か月前
キヤノン株式会社
画像記録装置
24日前
フジコピアン株式会社
中間転写シート
9か月前
キヤノン株式会社
画像形成装置
5か月前
理想科学工業株式会社
印刷装置
16日前
続きを見る
他の特許を見る