TOP
|
特許
|
意匠
|
商標
特許ウォッチ
Twitter
他の特許を見る
公開番号
2025147047
公報種別
公開特許公報(A)
公開日
2025-10-03
出願番号
2025130422,2021116467
出願日
2025-08-05,2021-07-14
発明の名称
プリンタおよびプログラム
出願人
東芝テック株式会社
代理人
弁理士法人酒井国際特許事務所
主分類
B41J
29/38 20060101AFI20250926BHJP(印刷;線画機;タイプライター;スタンプ)
要約
【課題】電源の機能による給電の一時停止の発生を避け、円滑な印字制御を継続し印字精度を良好に保つ。
【解決手段】プリンタは、抵抗体に通電して発熱させることにより印字するサーマルヘッドと、回転により用紙を搬送する部材を駆動するモータと、前記サーマルヘッドおよび前記モータに給電する電源と、前記電源が、給電の一時停止を要するとして当該電源に定められた第一閾値を超える給電を行った後、給電を継続した時間が第二閾値を超えた場合に、前記モータおよび前記サーマルヘッドへの給電を停止し、所定時間経過後に給電を再開する給電制御部と、を備える。
【選択図】図5
特許請求の範囲
【請求項1】
抵抗体に通電して発熱させることにより印字するサーマルヘッドと、
回転により用紙を搬送する部材を駆動するモータと、
前記サーマルヘッドおよび前記モータに給電する電源と、
前記電源が、給電の一時停止を要するとして当該電源に定められた第一閾値を超える給電を行った後、給電を継続した時間が第二閾値を超えた場合に、前記モータおよび前記サーマルヘッドへの給電を停止し、所定時間経過後に給電を再開する給電制御部と、
を備えるプリンタ。
続きを表示(約 930 文字)
【請求項2】
前記給電制御部は、前記電源による単位時間内の総給電量が、給電の一時停止を要するとして当該電源に定められた第三閾値を超えた場合に、前記モータおよび前記サーマルヘッドへの給電を停止し、所定時間経過後に給電を再開する
請求項1に記載のプリンタ。
【請求項3】
抵抗体に通電して発熱させることにより印字するサーマルヘッドと、
回転により用紙を搬送する部材を駆動するモータと、
前記サーマルヘッドおよび前記モータに給電する電源と、
前記電源による単位時間内の総給電量が、給電の一時停止を要するとして当該電源に定められた第三閾値を超えた場合に、前記モータおよび前記サーマルヘッドへの給電を停止し、所定時間経過後に給電を再開する給電制御部と、
を備えるプリンタ。
【請求項4】
前記給電制御部は、前記電源による給電の停止に伴い、前記総給電量を示す値をクリアする
請求項2または3に記載のプリンタ。
【請求項5】
抵抗体に通電して発熱させることにより印字するサーマルヘッドと、回転により用紙を搬送する部材を駆動するモータと、前記サーマルヘッドおよび前記モータに給電する電源と、を備えるプリンタのコンピュータを、
前記電源が、給電の一時停止を要するとして当該電源に定められた第一閾値を超える給電を行った後、給電を継続した時間が第二閾値を超えた場合に、前記モータおよび前記サーマルヘッドへの給電を停止し、所定時間経過後に給電を再開する給電制御部として機能させるためのプログラム。
【請求項6】
抵抗体に通電して発熱させることにより印字するサーマルヘッドと、回転により用紙を搬送する部材を駆動するモータと、前記サーマルヘッドおよび前記モータに給電する電源と、を備えるプリンタのコンピュータを、
前記電源による単位時間内の総給電量が、給電の一時停止を要するとして当該電源に定められた第三閾値を超えた場合に、前記モータおよび前記サーマルヘッドへの給電を停止し、所定時間経過後に給電を再開する給電制御部として機能させるためのプログラム。
発明の詳細な説明
【技術分野】
【0001】
本発明の実施形態は、プリンタおよびプログラムに関する。
続きを表示(約 1,600 文字)
【背景技術】
【0002】
従来、サーマルヘッドにより印字を行うサーマルプリンタが用いられている。このようなプリンタでは、サーマルヘッドが備える抵抗体を発熱させるためと、用紙を搬送するプラテンローラを回転させるモータを駆動するためとに、電力の多くが消費される。
【0003】
ACアダプタ等の電源には、保護回路を内蔵しているものがある。保護回路は、過負荷による故障を避けるため、所定の事象の発生を条件に、給電を一時停止する。しかしながら、プリンタで前触れなく給電が一時停止されると、印字制御や印字精度に悪影響を及ぼすので、好ましくない。
【発明の概要】
【発明が解決しようとする課題】
【0004】
本発明が解決しようとする課題は、電源の機能による給電の一時停止の発生を避け、円滑な印字制御を継続し印字精度を良好に保つことができるプリンタおよびプログラムを提供することである。
【課題を解決するための手段】
【0005】
実施形態のプリンタは、抵抗体に通電して発熱させることにより印字するサーマルヘッドと、回転により用紙を搬送する部材を駆動するモータと、前記サーマルヘッドおよび前記モータに給電する電源と、前記電源が、給電の一時停止を要するとして当該電源に定められた第一閾値を超える給電を行った後、給電を継続した時間が第二閾値を超えた場合に、前記モータおよび前記サーマルヘッドへの給電を停止し、所定時間経過後に給電を再開する給電制御部と、を備える。
【図面の簡単な説明】
【0006】
図1は、実施形態におけるシステムの構成を説明する図である。
図2は、プリンタの構造の一例を説明する断面図である。
図3は、プリンタの構成の一例を示すブロック図である。
図4は、制御部が備える機能部の一例を示すブロック図である。
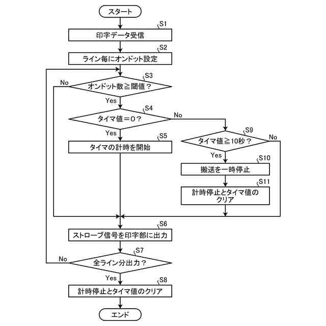
図5は、制御部が行う処理の流れを説明する図である。
図6は、制御部が行う他の処理の流れを説明する図である。
【発明を実施するための形態】
【0007】
(第1の実施形態)
実施形態について図面を用いて説明する。図1は、本実施形態におけるシステム100の構成を説明する図である。システム100は、プリンタ1と、ACアダプタ2と、情報処理装置3とを含んで構成されている。プリンタ1は、ACアダプタ2を介して供給される電力により稼働し、情報処理装置3から受信した印字データに基づいて印字を行い、印字された用紙を排出する。情報処理装置3は、例えば一般的なPC(Personal Computer)であって、プリンタ1と、無線または有線で情報の送受信可能に接続される。
【0008】
図2は、プリンタ1の構造の一例を説明する断面図である。なお、図中左側が、プリンタ1の正面側、すなわちユーザが主に向かい合う側である。プリンタ1は、筐体4、用紙収納部5、印字部6、搬送部7を備えている。
【0009】
筐体4は、上モジュール41と下モジュール42とヒンジ部43と排紙口44とを有する。ヒンジ部43は、上モジュール41と下モジュール42との奥側の端部を、互いに回動自在に連結する。下モジュール42は、上向きに開いた開口部を有し、この開口部は、上モジュール41によって開閉される。つまり、上モジュール41は下モジュール42の蓋として機能する。排紙口44は、上モジュール41の正面側端部と下モジュール42の正面側端部との間に形成される開口部であって、印字された用紙50を排出する。
【0010】
用紙収納部5は、筐体4内に設けられた、用紙50を収納する空間である。用紙収納部5は、下モジュール42に対して上モジュール41を回動させることにより開閉される。用紙50は、ロール状に巻かれている。
(【0011】以降は省略されています)
この特許をJ-PlatPat(特許庁公式サイト)で参照する
関連特許
東芝テック株式会社
会計装置
3日前
東芝テック株式会社
プリンタ
2日前
東芝テック株式会社
プリンタ
2日前
東芝テック株式会社
プリンタ装置
2日前
東芝テック株式会社
プリンタ装置
2日前
東芝テック株式会社
プリンタ及びプログラム
1日前
東芝テック株式会社
チェックアウトシステム
2日前
東芝テック株式会社
販売時点における行動検出
2日前
東芝テック株式会社
取引処理装置及びプログラム
3日前
東芝テック株式会社
取引処理装置及びプログラム
3日前
東芝テック株式会社
プリンタ装置及びプログラム
2日前
東芝テック株式会社
商品登録機器及び情報処理プログラム
2日前
東芝テック株式会社
収納代行処理装置及びそのプログラム
3日前
東芝テック株式会社
販売時点における物体分類および識別
2日前
東芝テック株式会社
販売時点情報管理アイテム予測及び検証
3日前
東芝テック株式会社
レシート管理サーバ及びレシート管理システム
1日前
東芝テック株式会社
レシート管理サーバ及びレシート管理システム
1日前
東芝テック株式会社
取引処理システム、取引処理装置及びそのプログラム
2日前
東芝テック株式会社
ゲート装置、情報処理プログラム及びチェックアウトシステム
2日前
東芝テック株式会社
プリンタおよびプログラム
7日前
東芝テック株式会社
データ処理装置及びデータ処理方法
3日前
東芝テック株式会社
トナーカートリッジ梱包用ブランク
4日前
個人
箔熱転写装置
1か月前
シヤチハタ株式会社
印判
4か月前
東レ株式会社
凸版印刷版原版
10か月前
シヤチハタ株式会社
反転式印判
9か月前
三菱製紙株式会社
感熱記録材料
10か月前
三光株式会社
感熱記録材料
6か月前
独立行政法人 国立印刷局
印刷物
7か月前
キヤノン株式会社
記録装置
23日前
独立行政法人 国立印刷局
記録媒体
8か月前
株式会社リコー
液体吐出装置
7か月前
日本製紙株式会社
感熱記録体
7か月前
株式会社リコー
液体吐出装置
4か月前
株式会社リコー
画像形成装置
11日前
株式会社リコー
液体吐出装置
4か月前
続きを見る
他の特許を見る