TOP
|
特許
|
意匠
|
商標
特許ウォッチ
Twitter
他の特許を見る
公開番号
2025147454
公報種別
公開特許公報(A)
公開日
2025-10-07
出願番号
2024047708
出願日
2024-03-25
発明の名称
印刷装置及び印刷方法
出願人
セイコーエプソン株式会社
代理人
個人
,
個人
,
個人
主分類
B41J
2/01 20060101AFI20250930BHJP(印刷;線画機;タイプライター;スタンプ)
要約
【課題】液体の吐出による布帛への印刷に適した印刷技術の提供が求められている。
【解決手段】本開示に係る印刷装置1は、第1の方向の第1の糸と第1の方向と交差する第2の方向の第2の糸とを用いて織られた布帛である媒体90に液体を吐出することにより印刷を行う印刷装置であって、媒体90の液体が吐出される面において単位面積当たりに占める第1の糸と第2の糸のそれぞれの範囲の大きさを比較する比較部140と、画像データに基づく印刷を制御する印刷制御部110とを有し、印刷制御部110は、単位面積当たりに占める第1の糸の範囲が第2の糸の範囲よりも大きい場合、単位面積当たりに占める第1の糸の範囲が第2の糸の範囲よりも大きくない場合と比べて、第1の方向に並ぶ液体のドットの吐出量が減少するよう、画像データに基づく印刷を制御する。
【選択図】図6
特許請求の範囲
【請求項1】
第1の方向の第1の糸と前記第1の方向と交差する第2の方向の第2の糸とを用いて織られた布帛である媒体に液体を吐出することにより印刷を行う印刷装置であって、
前記媒体の前記液体が吐出される面において単位面積当たりに占める前記第1の糸と前記第2の糸のそれぞれの範囲の大きさを比較する比較部と、
画像データに基づく印刷を制御する印刷制御部と
を有し、
前記印刷制御部は、前記単位面積当たりに占める前記第1の糸の範囲が前記第2の糸の範囲よりも大きい場合、前記単位面積当たりに占める前記第1の糸の範囲が前記第2の糸の範囲よりも大きくない場合と比べて、前記第1の方向に並ぶ前記液体のドットの吐出量が減少するよう、前記画像データに基づく印刷を制御する
印刷装置。
続きを表示(約 1,200 文字)
【請求項2】
前記媒体の前記面を撮影した撮影画像を取得する撮影画像取得部をさらに有し、
前記比較部は、前記撮影画像に基づいて、前記単位面積当たりに占める前記第1の糸と前記第2の糸のそれぞれの範囲の大きさを比較する
請求項1に記載の印刷装置。
【請求項3】
前記媒体の織り方を特定するための情報についてのユーザーからの入力を受付ける入力受付部をさらに有し、
前記比較部は、前記情報に基づいて、前記単位面積当たりに占める前記第1の糸と前記第2の糸のそれぞれの範囲の大きさを比較する
請求項1又は2に記載の印刷装置。
【請求項4】
前記印刷制御部は、前記単位面積当たりに占める前記第1の糸の範囲が前記第2の糸の範囲よりも大きい場合、前記単位面積当たりに占める前記第1の糸の範囲が前記第2の糸の範囲よりも大きくない場合と比べて、前記第1の方向に並ぶドットの数を減らすよう、前記画像データに基づく印刷を制御する
請求項1に記載の印刷装置。
【請求項5】
前記印刷制御部は、前記媒体が化学繊維の媒体である場合、前記単位面積当たりに占める前記第1の糸の範囲が前記第2の糸の範囲よりも大きいときに行われる前記第1の方向に並ぶ前記液体のドットの吐出量の減少度合いを、前記媒体が化学繊維の媒体ではない場合に比べて大きくする
請求項1に記載の印刷装置。
【請求項6】
前記印刷制御部は、
前記単位面積当たりに占める前記第1の糸の範囲が前記第2の糸の範囲よりも大きい場合、テストパターンの画像データに基づいて、前記第1の方向に並ぶ前記液体のドットの吐出量が異なる複数の前記テストパターンを前記媒体に印刷するよう制御し、
前記媒体に前記テストパターン以外の他の画像を印刷する際に適用される前記第1の方向に並ぶ前記液体のドットの吐出量の減少度合いを、複数の前記テストパターンの印刷結果に応じて決定する
請求項1に記載の印刷装置。
【請求項7】
第1の方向の第1の糸と前記第1の方向と交差する第2の方向の第2の糸とを用いて織られた布帛である媒体に液体を吐出することにより印刷を行う印刷方法であって、
前記媒体の前記液体が吐出される面において単位面積当たりに占める前記第1の糸と前記第2の糸のそれぞれの範囲の大きさを比較し、
画像データに基づく印刷を制御し、
前記印刷の制御では、前記単位面積当たりに占める前記第1の糸の範囲が前記第2の糸の範囲よりも大きい場合、前記単位面積当たりに占める前記第1の糸の範囲が前記第2の糸の範囲よりも大きくない場合と比べて、前記第1の方向に並ぶ前記液体のドットの吐出量が減少するよう、前記画像データに基づく印刷を制御する
印刷方法。
発明の詳細な説明
【技術分野】
【0001】
本開示は、印刷装置及び印刷方法に関する。
続きを表示(約 2,100 文字)
【背景技術】
【0002】
インクを吐出することにより記録媒体へ画像を印刷する技術が知られている。これに関し、特許文献1は、紙へと吐出される液体のドットのサイズを制御することにより、滲みの発生を抑制する技術を開示している。
【先行技術文献】
【特許文献】
【0003】
特開2014-107687号公報
【発明の概要】
【発明が解決しようとする課題】
【0004】
近年、布帛へ画像を印刷することに対するニーズが高まっている。しかしながら、特許文献1では、紙への画像の印刷における滲みの発生を抑制することに着目した技術を開示するに過ぎない。このため、液体の吐出による布帛への印刷に適した印刷技術の提供が求められている。なお、特許文献1では、媒体の繊維方向を考慮した処理について言及しているものの、布帛には、経糸と緯糸が存在するため、媒体として布帛が用いられる場合、繊維方向がどちらの糸の方向を指すかが一義的には定まらない。このことからも、特許文献1は、布帛への画像の印刷を考慮していないと言える。
【課題を解決するための手段】
【0005】
本開示に係る印刷装置は、第1の方向の第1の糸と前記第1の方向と交差する第2の方向の第2の糸とを用いて織られた布帛である媒体に液体を吐出することにより印刷を行う印刷装置であって、前記媒体の前記液体が吐出される面において単位面積当たりに占める前記第1の糸と前記第2の糸のそれぞれの範囲の大きさを比較する比較部と、画像データに基づく印刷を制御する印刷制御部とを有し、前記印刷制御部は、前記単位面積当たりに占める前記第1の糸の範囲が前記第2の糸の範囲よりも大きい場合、前記単位面積当たりに占める前記第1の糸の範囲が前記第2の糸の範囲よりも大きくない場合と比べて、前記第1の方向に並ぶ前記液体のドットの吐出量が減少するよう、前記画像データに基づく印刷を制御する。
【0006】
本開示に係る印刷方法は、第1の方向の第1の糸と前記第1の方向と交差する第2の方向の第2の糸とを用いて織られた布帛である媒体に液体を吐出することにより印刷を行う印刷方法であって、前記媒体の前記液体が吐出される面において単位面積当たりに占める前記第1の糸と前記第2の糸のそれぞれの範囲の大きさを比較し、画像データに基づく印刷を制御し、前記印刷の制御では、前記単位面積当たりに占める前記第1の糸の範囲が前記第2の糸の範囲よりも大きい場合、前記単位面積当たりに占める前記第1の糸の範囲が前記第2の糸の範囲よりも大きくない場合と比べて、前記第1の方向に並ぶ前記液体のドットの吐出量が減少するよう、前記画像データに基づく印刷を制御する。
【図面の簡単な説明】
【0007】
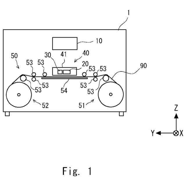
実施の形態にかかる印刷装置の構成例を示す模式図である。
実施の形態にかかる印刷装置のキャリッジの構成例を示す模式図である。
実施の形態にかかる印刷装置の構成例を示すブロック図である。
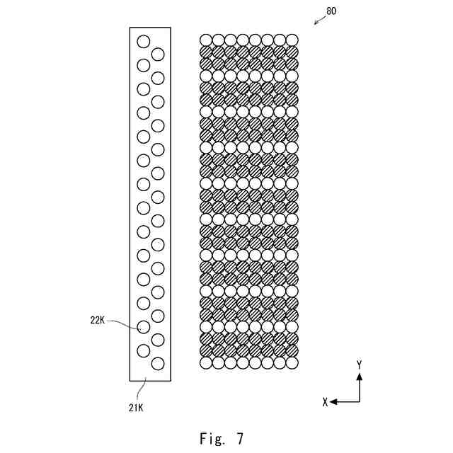
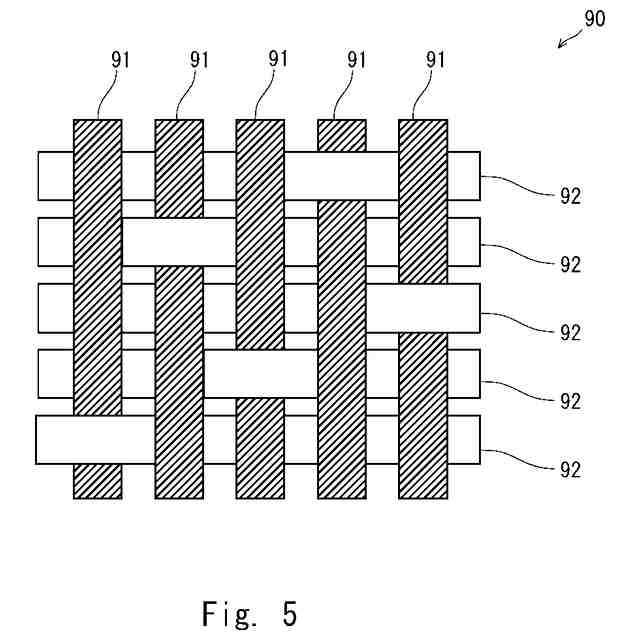
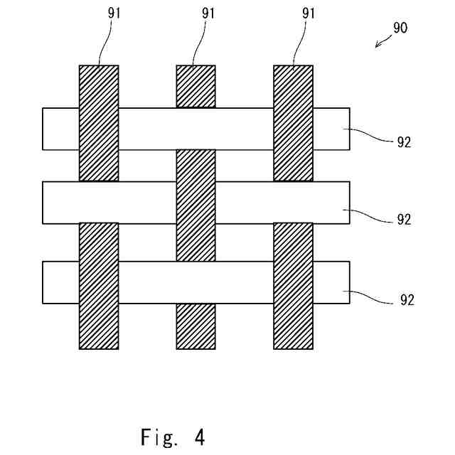
平織りの布帛の経糸と緯糸を示す模式図である。
朱子織りの布帛の経糸と緯糸を示す模式図である。
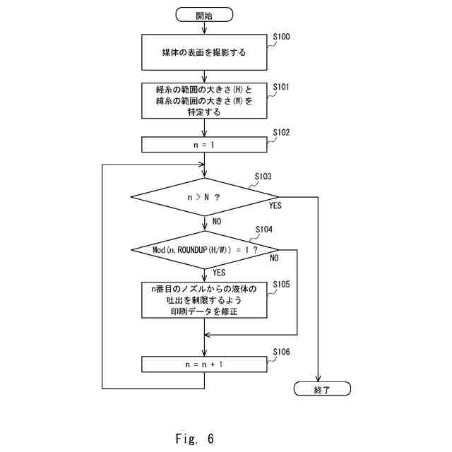
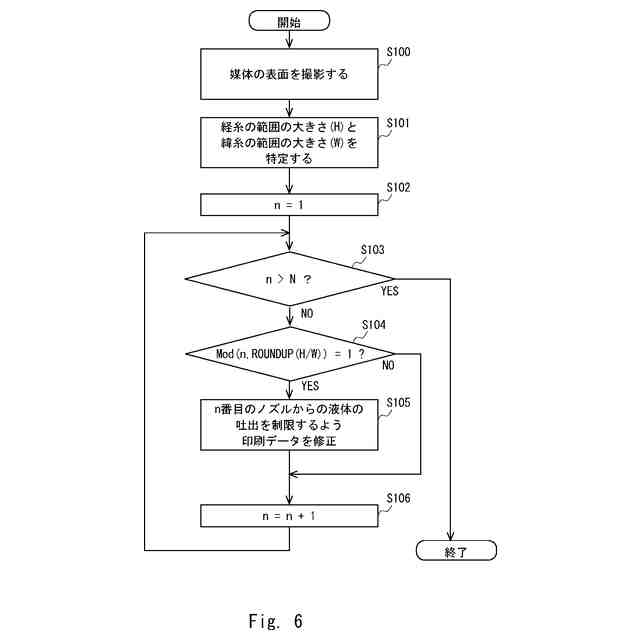
比較部の比較結果に応じた印刷制御についての処理の流れの一例を示すフローチャートである。
ノズルからの吐出が制限された場合の印刷例を示す模式図である。
【発明を実施するための形態】
【0008】
以下、実施形態について、図面を参照しながら説明する。説明の明確化のため、以下の記載及び図面は、適宜、省略、及び簡略化がなされている。また、各図面において、同一の要素には同一の符号が付されており、必要に応じて重複説明は省略されている。
【0009】
図1は、実施の形態にかかる印刷装置1の構成例を示す模式図である。また、図2は、印刷装置1のキャリッジ41の構成例を示す模式図である。また、図3は、印刷装置1の構成を示すブロック図である。なお、図1及び図2に付記された座標においては、Z軸方向が上下方向、+Z方向が上方向、X軸方向が前後方向、-X方向が前方向、Y軸方向が左右方向、+Y方向が左方向、X-Y平面が水平面としている。以下、図1から図3を適宜参照しつつ、印刷装置1について説明する。
【0010】
印刷装置1は、媒体90に画像を印刷するインクジェットプリンターである。図1に示した構成例では、印刷装置1は、ロール状に巻かれた状態でセットされる長尺状の媒体90に画像を印刷する。本実施の形態では、媒体90は、図の+Y方向に搬送される。このため、Y軸方向(特に、+Y方向)は搬送方向と称されてもよい。また、後述するように、本実施の形態では、X軸方向に走査可能な印刷ヘッドユニット20によって媒体90に画像が印刷される。このため、X軸方向は走査方向と称されてもよい。印刷装置1は、媒体90に印刷すべき画像の画像データから生成された印刷データに従って媒体90への印刷を実行する。
(【0011】以降は省略されています)
この特許をJ-PlatPat(特許庁公式サイト)で参照する
関連特許
個人
箔熱転写装置
1か月前
シヤチハタ株式会社
印判
4か月前
東レ株式会社
凸版印刷版原版
10か月前
三菱製紙株式会社
感熱記録材料
10か月前
シヤチハタ株式会社
反転式印判
9か月前
独立行政法人 国立印刷局
印刷物
7か月前
キヤノン株式会社
記録装置
23日前
三光株式会社
感熱記録材料
6か月前
株式会社リコー
液体吐出装置
5か月前
株式会社リコー
画像形成装置
7日前
独立行政法人 国立印刷局
貼付機構
1か月前
株式会社リコー
液体吐出装置
7か月前
株式会社リコー
液体吐出装置
1か月前
日本製紙株式会社
感熱記録体
7か月前
株式会社リコー
液体吐出装置
8か月前
独立行政法人 国立印刷局
貼付装置
1か月前
株式会社リコー
画像形成装置
11日前
株式会社リコー
印刷システム
11日前
株式会社リコー
液体吐出装置
4か月前
株式会社リコー
液体吐出装置
7か月前
株式会社リコー
液体吐出装置
4か月前
独立行政法人 国立印刷局
記録媒体
8か月前
株式会社リコー
液体吐出装置
5か月前
株式会社リコー
画像形成装置
1か月前
ブラザー工業株式会社
プリンタ
1か月前
キヤノン株式会社
画像形成装置
10か月前
キヤノン株式会社
画像形成装置
10か月前
キヤノン株式会社
画像形成装置
8か月前
独立行政法人 国立印刷局
潜像印刷物
1か月前
理想科学工業株式会社
印刷装置
6か月前
ブラザー工業株式会社
プリンタ
6か月前
キヤノン株式会社
画像形成装置
6か月前
キヤノン株式会社
画像記録装置
23日前
キヤノン株式会社
画像処理装置
4か月前
キヤノン株式会社
画像形成装置
7か月前
キヤノン株式会社
画像形成装置
1か月前
続きを見る
他の特許を見る