TOP
|
特許
|
意匠
|
商標
特許ウォッチ
Twitter
他の特許を見る
公開番号
2025147457
公報種別
公開特許公報(A)
公開日
2025-10-07
出願番号
2024047711
出願日
2024-03-25
発明の名称
液体吐出装置、液体吐出装置の制御方法
出願人
セイコーエプソン株式会社
代理人
個人
,
個人
,
個人
主分類
B41J
2/165 20060101AFI20250930BHJP(印刷;線画機;タイプライター;スタンプ)
要約
【課題】フラッシングで消費する液体の量を低減できる液体吐出装置、液体吐出装置の制御方法を提供する。
【解決手段】複数のノズルから液体を吐出することで媒体21に印刷を行う印刷部18と、光を照射することで、吐出された液体を硬化させる照射部17と、制御部13と、を備え、制御部13は、印刷とは関係なく複数のノズルから液体を吐出させるフラッシングを実行可能であり、照射部17から照射される光による各ノズルへの影響度合と、印刷における各ノズルの印刷吐出量と、に基づいて、フラッシングにおける各ノズルの空吐出量を変更する。
【選択図】図1
特許請求の範囲
【請求項1】
複数のノズルから液体を吐出することで媒体に印刷を行う印刷部と、
光を照射することで、吐出された前記液体を硬化させる照射部と、
制御部と、
を備え、
前記制御部は、
前記印刷とは関係なく複数の前記ノズルから前記液体を吐出させるフラッシングを実行可能であり、
前記照射部から照射される光による各前記ノズルへの影響度合と、前記印刷における各前記ノズルの印刷吐出量と、に基づいて、前記フラッシングにおける各前記ノズルの空吐出量を変更することを特徴とする液体吐出装置。
続きを表示(約 1,300 文字)
【請求項2】
前記制御部は、
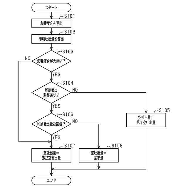
複数の前記ノズルについて前記影響度合を判定する第1判定を実行し、
前記第1判定において前記影響度合が大きいと判定した第1ノズルについて、前記印刷における吐出動作を実行するかを判定する第2判定を実行し、
前記第2判定において前記吐出動作を実行しないと判定した第2ノズルの前記空吐出量を基準量より多い第1空吐出量にすることを特徴とする請求項1に記載の液体吐出装置。
【請求項3】
前記制御部は、
前記第2判定において前記吐出動作を実行すると判定した第3ノズルについて、前記印刷吐出量と閾値を比較する第3判定を実行し、
前記第3判定において前記印刷吐出量が前記閾値以上であると判定した第4ノズルの前記空吐出量を前記基準量より少ない第2空吐出量にし、
前記第3判定において前記印刷吐出量が前記閾値未満であると判定した第5ノズルの前記空吐出量を前記基準量にすることを特徴とする請求項2に記載の液体吐出装置。
【請求項4】
前記制御部は、
複数の前記ノズルについて前記影響度合を判定する第1判定を実行し、
前記第1判定において前記影響度合が小さいと判定した第6ノズルの前記空吐出量を基準量より少ない第2空吐出量にすることを特徴とする請求項1~請求項3のうち何れか一項に記載の液体吐出装置。
【請求項5】
前記影響度合は、各前記ノズルから前記照射部までの距離を用いて算出されることを特徴とする請求項1に記載の液体吐出装置。
【請求項6】
前記影響度合は、前記液体の硬化しやすさを用いて算出されることを特徴とする請求項5に記載の液体吐出装置。
【請求項7】
前記制御部は、前記印刷が終了すると前記フラッシングを実行することを特徴とする請求項1に記載の液体吐出装置。
【請求項8】
前記印刷部は、前記液体を吐出して前記媒体上に複数の層を形成することで前記印刷を行い、
前記制御部は、1つの前記層が形成されると前記フラッシングを実行することを特徴とする請求項1に記載の液体吐出装置。
【請求項9】
前記印刷部を走査方向に移動可能なキャリッジをさらに備え、
前記制御部は、前記キャリッジを前記走査方向に移動させたあと前記フラッシングを実行することを特徴とする請求項1に記載の液体吐出装置。
【請求項10】
複数のノズルから液体を吐出することで媒体に印刷を行う印刷部と、
光を照射することで、吐出された前記液体を硬化させる照射部と、
を備える液体吐出装置の制御方法であって、
前記照射部から照射される光による各前記ノズルへの影響度合を算出することと、
前記印刷における各前記ノズルの印刷吐出量を算出することと、
前記影響度合と前記印刷吐出量とに基づいて、前記印刷とは関係なく複数の前記ノズルから前記液体を吐出させるフラッシングにおける各前記ノズルの空吐出量を変更することを特徴とする液体吐出装置の制御方法。
発明の詳細な説明
【技術分野】
【0001】
本発明は、プリンターなどの液体吐出装置、液体吐出装置の制御方法に関する。
続きを表示(約 1,500 文字)
【背景技術】
【0002】
例えば特許文献1のように、液体吐出装置の一例である画像形成装置がある。画像形成装置は、印刷部の一例であるヘッドユニットを複数と、照射部と、を備える。
ヘッドユニットは、ノズルから液体の一例であるインクを吐出して、媒体の一例である記録媒体に記録する。インクは、光の一例であるエネルギー線の作用により硬化する。照射部は、インクが吐出された記録媒体にエネルギー線を照射することで、記録媒体上のインクを硬化させる。
【0003】
エネルギー線がノズルの付近まで漏れると、吐出前のインクが硬化して、ノズル詰まりが生じてしまうことがある。そのため、画像形成装置は、ノズルからインクを吐出させるフラッシングの一例であるメンテナンスを行う。画像読取装置は、照射部に最も近いヘッドユニットのインク吐出量を、他のヘッドユニットのインク吐出量より多くする。
【先行技術文献】
【特許文献】
【0004】
特開2014-4701号公報
【発明の概要】
【発明が解決しようとする課題】
【0005】
ノズル詰まりは、照射部から離れたノズルで生じやすい場合がある。例えば光を受けた液体の硬化のしやすさは、液体の種類によって差があることがある。照射部が照射した光は、例えば媒体で拡散することで、照射部から離れたノズルに影響を与えることがある。
【0006】
詰まりやすいノズルが照射部から離れた位置に位置する場合、照射部に近いノズルの吐出量を多くしてフラッシングを行うと、液体を無駄に消費してしまう。
【課題を解決するための手段】
【0007】
上記課題を解決する液体吐出装置は、複数のノズルから液体を吐出することで媒体に印刷を行う印刷部と、光を照射することで、吐出された前記液体を硬化させる照射部と、制御部と、を備え、前記制御部は、前記印刷とは関係なく複数の前記ノズルから前記液体を吐出させるフラッシングを実行可能であり、前記照射部から照射される光による各前記ノズルへの影響度合と、前記印刷における各前記ノズルの印刷吐出量と、に基づいて、前記フラッシングにおける各前記ノズルの空吐出量を変更する。
【0008】
上記課題を解決する液体吐出装置の制御方法は、複数のノズルから液体を吐出することで媒体に印刷を行う印刷部と、光を照射することで、吐出された前記液体を硬化させる照射部と、を備える液体吐出装置の制御方法であって、前記照射部から照射される光による各前記ノズルへの影響度合を算出することと、前記印刷における各前記ノズルの印刷吐出量を算出することと、前記影響度合と前記印刷吐出量とに基づいて、前記印刷とは関係なく複数の前記ノズルから前記液体を吐出させるフラッシングにおける各前記ノズルの空吐出量を変更する。
【図面の簡単な説明】
【0009】
図1は、液体吐出装置の一実施形態の模式正面図である。
図2は、移動機構の模式平面図である。
図3は、キャリッジの模式底面図である。
図4は、空吐出量設定ルーチンを示すフローチャートである。
【発明を実施するための形態】
【0010】
[実施形態]
以下、液体吐出装置、液体吐出装置の制御方法の一実施形態を、図面を参照して説明する。液体吐出装置は、例えば、用紙、布帛、ビニール、プラスチック部品、金属部品などの媒体に液体の一例であるインクを吐出して記録するインクジェット式のプリンターである。
(【0011】以降は省略されています)
この特許をJ-PlatPat(特許庁公式サイト)で参照する
関連特許
個人
箔熱転写装置
1か月前
シヤチハタ株式会社
印判
4か月前
東レ株式会社
凸版印刷版原版
10か月前
三菱製紙株式会社
感熱記録材料
10か月前
シヤチハタ株式会社
反転式印判
9か月前
三光株式会社
感熱記録材料
6か月前
独立行政法人 国立印刷局
印刷物
7か月前
キヤノン株式会社
記録装置
26日前
独立行政法人 国立印刷局
貼付機構
2か月前
株式会社リコー
液体吐出装置
7か月前
日本製紙株式会社
感熱記録体
7か月前
株式会社リコー
画像形成装置
1か月前
株式会社リコー
液体吐出装置
8か月前
株式会社リコー
液体吐出装置
7か月前
株式会社リコー
液体吐出装置
5か月前
独立行政法人 国立印刷局
記録媒体
8か月前
株式会社リコー
液体吐出装置
4か月前
独立行政法人 国立印刷局
貼付装置
1か月前
株式会社リコー
液体吐出装置
6か月前
株式会社リコー
液体吐出装置
4か月前
株式会社リコー
画像形成装置
10日前
株式会社リコー
印刷システム
14日前
株式会社リコー
画像形成装置
14日前
株式会社リコー
液体吐出装置
2か月前
ブラザー工業株式会社
プリンタ
2か月前
理想科学工業株式会社
印刷装置
18日前
キヤノン株式会社
画像形成装置
8か月前
キヤノン株式会社
画像形成装置
10か月前
キヤノン株式会社
画像処理装置
4か月前
ブラザー工業株式会社
プリンタ
8か月前
キヤノン株式会社
画像形成装置
5か月前
理想科学工業株式会社
印刷装置
6か月前
フジコピアン株式会社
中間転写シート
10か月前
キヤノン株式会社
画像形成装置
8か月前
キヤノン株式会社
印刷制御装置
10か月前
キヤノン株式会社
画像形成装置
8か月前
続きを見る
他の特許を見る