TOP
|
特許
|
意匠
|
商標
特許ウォッチ
Twitter
他の特許を見る
公開番号
2025147771
公報種別
公開特許公報(A)
公開日
2025-10-07
出願番号
2024048178
出願日
2024-03-25
発明の名称
構造物設計装置、構造物設計方法及び構造物の構築方法
出願人
日本製鉄株式会社
代理人
弁理士法人ブライタス
主分類
G06F
30/13 20200101AFI20250930BHJP(計算;計数)
要約
【課題】構造物の設計プロセスの最適化計算において計算負荷を低減する。
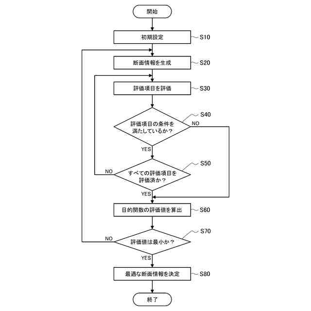
【解決手段】構造物設計装置は、設計対象である構造物の断面情報を生成する断面情報生成部と、生成された断面情報を有する構造物について、予め設定された評価項目の条件を満たすか否かを判定する判定部と、判定部による判定終了後、予め設定された目的関数を評価して、断面情報の最適解を決定する最適解決定部と、を備え、評価項目は、構造物の設計照査項目と、構造物の設計時に考慮すべき事前評価項目とからなり、判定部は、評価項目を満たすか否かを順次判定し、評価項目を満たさないと判定した時点で判定を終了する。
【選択図】図1
特許請求の範囲
【請求項1】
設計対象である構造物の断面情報を生成する断面情報生成部と、
生成された前記断面情報を有する構造物について、予め設定された評価項目の条件を満たすか否かを判定する判定部と、
前記判定部による判定終了後、予め設定された目的関数を評価して、断面情報の最適解を決定する最適解決定部と、
を備え、
前記評価項目は、構造物の設計照査項目と、構造物の設計時に考慮すべき事前評価項目とからなり、
前記判定部は、前記評価項目を満たすか否かを順次判定し、前記評価項目を満たさないと判定した時点で判定を終了する、構造物設計装置。
続きを表示(約 780 文字)
【請求項2】
前記最適解決定部は、構造物の工費を表す目的関数が最小となる断面情報を、最適解として決定する、請求項1に記載の構造物設計装置。
【請求項3】
進化計算手法を用いて、前記断面情報生成部は前記断面情報を生成し、前記最適解決定部は前記目的関数を評価して、前記断面情報の最適解を決定する、請求項1または2に記載の構造物設計装置。
【請求項4】
前記判定部は、計算負荷の小さい評価項目から順に判定する、請求項1または2に記載の構造物設計装置。
【請求項5】
前記判定部は、評価項目の計算負荷と条件の満たしやすさとに基づき全体の計算負荷が低くなるように設定された順序で、前記評価項目を判定する、請求項1または2に記載の構造物設計装置。
【請求項6】
設計対象である構造物の断面情報を生成する断面情報生成ステップと、
生成された前記断面情報を有する構造物について、予め設定された評価項目の条件を満たすか否かを判定する判定ステップと、
前記判定ステップの終了後、予め設定された目的関数を評価して、断面情報の最適解を決定する最適解決定ステップと、
を含み、
前記判定ステップでは、構造物の設計照査項目と構造物の設計時に考慮すべき事前評価項目とからなる前記評価項目を満たすか否かを順次判定し、前記評価項目を満たさないと判定した時点で判定を終了する、構造物設計方法。
【請求項7】
請求項6に記載の構造物設計方法を用いて、設計対象である構造物の断面情報を決定する断面情報決定ステップと、
決定された前記断面情報を有する構造物を設計する設計ステップと、
前記設計した構造物を構築する構築ステップと、
を含む、構造物の構築方法。
発明の詳細な説明
【技術分野】
【0001】
本発明は、構造物設計装置、構造物設計方法及びこれを用いた構造物の構築方法に関する。
続きを表示(約 1,400 文字)
【背景技術】
【0002】
鋼橋の設計は、様々な設計照査条件を満足させながら最適条件(例えば、鋼重が最小となるような断面寸法)を探索することで行われる。設計条件が複雑となり設計変数が増大した場合、解の探索範囲は指数関数的に大きくなるため、構造物の設計プロセスを人手により行うのは必ずしも最適ではない場合がある。そこで、従来から構造物の設計プロセスを自動化した最適化計算が提案されている。
【0003】
例えば特許文献1には、一対の染色体情報のそれぞれに含まれる優秀なグループを組み合わせて、新たな染色体情報を生成することを基本として、染色体情報を確実に進化させて、建築物の架構体を構成する構造部材の配置又は断面の最適解を、短時間で求める手法が開示されている。
【先行技術文献】
【特許文献】
【0004】
特開2016-110298号公報
【非特許文献】
【0005】
一般社団法人 日本橋梁建設協会、「合成桁の設計例と解説~道示 平成29年11月版対応~」、2018年2月
【発明の概要】
【発明が解決しようとする課題】
【0006】
構造物の設計プロセスの最適化計算においては、構造物の断面情報の設定、設計照査、設計結果の評価、断面情報の修正、を繰り返すことで目的関数の評価値が最適となる断面情報を探索する。このとき、最適化変数(例えば、最適化の対象とする断面数、桁数、等)を多くすることで、より複雑な構造物を設計対象とすることができる。また、解の探索範囲を広げるほど、厳密な最適解を見つけられる可能性が高まる。その一方で、最適解を見つけるまでの繰り返し計算回数は増加する。また、設計照査毎に数値解析が必要であるため、最適化計算全体での計算負荷が膨大となる場合がある。
【0007】
そこで、本発明は、上記問題に鑑みてなされたものであり、本発明の目的とするところは、構造物の設計プロセスの最適化計算において計算負荷を低減することの可能な、構造物設計装置、構造物設計方法及びこれを用いた構造物の構築方法を提供することにある。
【課題を解決するための手段】
【0008】
上記課題を解決するために、本発明のある観点によれば、設計対象である構造物の断面情報を生成する断面情報生成部と、生成された断面情報を有する構造物について、予め設定された評価項目の条件を満たすか否かを判定する判定部と、判定部による判定終了後、予め設定された目的関数を評価して、断面情報の最適解を決定する最適解決定部と、を備え、評価項目は、構造物の設計照査項目と、構造物の設計時に考慮すべき事前評価項目とからなり、判定部は、評価項目を満たすか否かを順次判定し、評価項目を満たさないと判定した時点で判定を終了する、構造物設計装置が提供される。
【0009】
最適解決定部は、構造物の工費を表す目的関数が最小となる断面情報を、最適解として決定してもよい。
【0010】
構造物設計装置は、進化計算手法を用いて最適解を探索してもよい。すなわち、進化計算手法を用いて、断面情報生成部は断面情報を生成し、最適解決定部は目的関数を評価して、断面情報の最適解を決定してもよい。
(【0011】以降は省略されています)
この特許をJ-PlatPat(特許庁公式サイト)で参照する
関連特許
日本製鉄株式会社
鋼材
2か月前
日本製鉄株式会社
鋼材
2か月前
日本製鉄株式会社
車輪
2か月前
日本製鉄株式会社
鋼材
2か月前
日本製鉄株式会社
線材
5日前
日本製鉄株式会社
鋼材
2か月前
日本製鉄株式会社
床構造
20日前
日本製鉄株式会社
鋼部品
11日前
日本製鉄株式会社
鋼部品
11日前
日本製鉄株式会社
剪断機
20日前
日本製鉄株式会社
床構造
20日前
日本製鉄株式会社
ボルト
20日前
日本製鉄株式会社
ボルト
1か月前
日本製鉄株式会社
橋脚構造
9日前
日本製鉄株式会社
構造部材
1か月前
日本製鉄株式会社
管理装置
1か月前
日本製鉄株式会社
筒型構造
2か月前
日本製鉄株式会社
耐摩耗鋼
2か月前
日本製鉄株式会社
溶接継手
3日前
日本製鉄株式会社
リクレーマ
1か月前
日本製鉄株式会社
耐火構造物
1か月前
日本製鉄株式会社
耐火構造物
1か月前
日本製鉄株式会社
耐火構造物
1か月前
日本製鉄株式会社
鍛鋼ロール
10日前
日本製鉄株式会社
腐食センサ
9日前
日本製鉄株式会社
鍛鋼ロール
10日前
日本製鉄株式会社
転炉精錬方法
1か月前
日本製鉄株式会社
学習システム
12日前
日本製鉄株式会社
鋼の製造方法
2か月前
日本製鉄株式会社
高Ni合金板
1か月前
日本製鉄株式会社
高Ni合金鋼
9日前
日本製鉄株式会社
高Ni合金鋼
9日前
日本製鉄株式会社
管理システム
9日前
日本製鉄株式会社
高炉操業方法
2か月前
日本製鉄株式会社
高炉の操業方法
1か月前
日本製鉄株式会社
高炉の操業方法
11日前
続きを見る
他の特許を見る