TOP
|
特許
|
意匠
|
商標
特許ウォッチ
Twitter
他の特許を見る
10個以上の画像は省略されています。
公開番号
2025147838
公報種別
公開特許公報(A)
公開日
2025-10-07
出願番号
2024048288
出願日
2024-03-25
発明の名称
底部コンクリート構造体の撤去方法
出願人
株式会社奥村組
代理人
弁理士法人翔和国際特許事務所
主分類
E02D
37/00 20060101AFI20250930BHJP(水工;基礎;土砂の移送)
要約
【課題】トンネルの底部に形成された舗装体の側縁部分に連続して設けられている底部コンクリート構造体を、上面部からの作業により撤去できるようにする底部コンクリート構造体の撤去方法を提供する。
【解決手段】カッター溝11a,11b,11cを、トンネル50の軸方向Xに延設させて切込み形成するカッター切断工程と、撤去施工スパンSの両側の端部において、複数のコア抜き孔12を横断方向Yに連接させて削孔して、横断方向連接孔溝13を形成するコア削孔工程と、撤去施工スパンSの一方の端部に形成された横断方向連接孔溝13の内部に、ジャッキを装着して押圧力を加えることで、カッター溝11a,11b,11c及び横断方向連接孔溝13によって囲まれる部分のコンクリートブロック14を、基礎部分52から縁切りする縁切り工程と、コンクリートブロック14をワイヤー部材34で吊り上げて撤去する吊上げ撤去工程とを含んでいる。
【選択図】図5
特許請求の範囲
【請求項1】
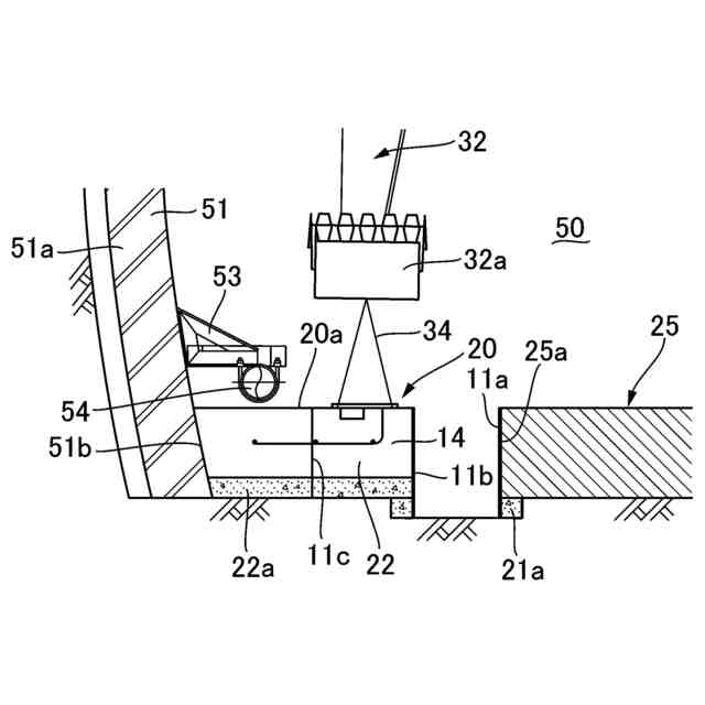
山岳トンネルにおいて、トンネルの底部に形成されている舗装体の側縁部分に沿って設けられた底部コンクリート構造体を、撤去して改修する際に採用される底部コンクリート構造体の撤去方法であって、
前記底部コンクリート構造体は、山岳トンネルの内周面を覆うトンネル覆工体の下端部内周面部と、前記舗装体の側部端面部との間に介在して形成されたものとなっており、
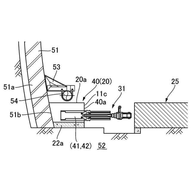
当該撤去方法は、トンネルの軸方向に所定の延長を有する撤去施工スパンの領域における前記底部コンクリート構造体に対して、前記舗装体との境界部分に形成されるカッター溝を含む2列以上のカッター溝を、トンネルの軸方向に沿った縦断方向に延設させて、底部コンクリート構造体の上面部から基礎部分に至る深さまでカッターマシンにより切込み形成するカッター切断工程と、
前記撤去施工スパンの領域における少なくともトンネルの軸方向の両側の端部において、トンネルの横断方向に連接させて、複数のコア抜き孔を、底部コンクリート構造体の上面部から基礎部分に至る深さまでコア削孔装置により削孔して、横断方向連接孔溝を形成する横断方向コア削孔工程と、
前記撤去施工スパンの領域におけるトンネルの軸方向の一方の端部に形成された、前記横断方向連接孔溝の内部に、パワージャッキを装着して、トンネルの軸方向への押圧力を加えることで、左右一対の前記カッター溝及び前後一対の前記横断方向連接孔溝によって囲まれる部分の前記底部コンクリート構造体によるコンクリートブロックの底面部を、基礎部分から縁切りする縁切り工程と、
しかる後に、基礎部分から底面部が縁切された前記コンクリートブロックを、玉掛けを施して吊り上げることにより撤去する吊上げ撤去工程とを含んでいるトンネルの底部コンクリート構造体の撤去方法。
続きを表示(約 380 文字)
【請求項2】
前記撤去施工スパンの領域における少なくとも一方の端部に形成された、前記横断方向連接孔溝と連続させるようにして、当該一方の端部に近接する部分の少なくとも一列の前記カッター溝上に、連接する複数のコア抜き孔による縦断方向連接孔溝を、重ねるようにしてコア削孔装置により削孔して形成する縦断方向コア削孔工程を、さらに含んでいる請求項1記載のトンネルの底部コンクリート構造体の撤去方法。
【請求項3】
前記撤去施工スパンの領域におけるトンネルの軸方向の両側の端部に各々形成された、前記横断方向連接孔溝の間のトンネルの軸方向の中間部分に、連接する複数の前記コア抜き孔による横断方向連接孔溝を、コア削孔装置により削孔して形成する中間領域コア削孔工程を、さらに含んでいる請求項1又は2記載のトンネルの底部コンクリート構造体の撤去方法。
発明の詳細な説明
【技術分野】
【0001】
本発明は、底部コンクリート構造体の撤去方法に関し、特に、山岳トンネルの底部に形成されている舗装体の側縁部分に沿って設けられた、底部コンクリート構造体を撤去して改修する際に採用される、底部コンクリート構造体の撤去方法に関する。
続きを表示(約 2,500 文字)
【背景技術】
【0002】
例えば道路用の山岳トンネルでは、トンネルの底部に所定の厚さで形成されている舗装体の側部の外側に、例えば監視員の点検作業のための通路用構造物や、水路用構造物が、上面部が舗装体の舗装面と同様のレベルとなっている底部コンクリート構造体として、舗装体の側縁部分に沿ってコンクリートにより形成されている場合がある。これらの底部コンクリート構造体は、舗装体と共に改修する工事や、舗装体と共に撤去して、例えばトンネルの底部に新たにインバート部構造体を構築する工事においては、舗装体の使用を継続したまま、当該底部コンクリート構造体の部分を、先行して撤去する必要を生じる場合がある。
【0003】
例えば道路用の山岳トンネルにおいて、既設の舗装体の側縁部分に沿ってこれの外側に形成された底部コンクリート構造体を、舗装体の使用を継続したまま、先行して撤去するには、好ましくは底部コンクリート構造体を、複数のブロックに分割して、上方に吊り上げることにより撤去する方法が考えられる(例えば、特許文献1参照)。
【0004】
特許文献1に記載のコンクリート構造物の撤去方法では、解体するコンクリートブロックを、基礎部分の地盤と剥離しつつクレーンで吊り上げて撤去し得る大きさ(重量)に分割することを目的として、コンクリートブロックの所定の位置に、コアボーリングマシーンを用いて油圧ジャッキ装着用の装着孔を形成し、形成した装着孔に、油圧ジャッキをセットして加圧力を加えることで、解体するコンクリートブロックを分割するようになっている。
【先行技術文献】
【特許文献】
【0005】
特開2003-105980号公報
【発明の概要】
【発明が解決しようとする課題】
【0006】
特許文献1のコンクリート構造物の撤去方法は、解体するコンクリートブロックの周囲や側方に、分割されたブロックを横移動させるための自由面や、各種の作業を可能にする作業空間が保持されている場合には実施可能であるが、例えば底部コンクリート構造体が、既設の舗装体と連続して形成されていて、これらの上面部からしか作業ができないような場合には、底部コンクリート構造体を複数のブロックに分割することや、分割したブロックを吊り上げるようにして撤去することは困難である。
【0007】
また、例えば山岳トンネルの内周面を覆う、コンクリート製のトンネル覆工体による側壁部分に、トンネルの長さ方向に延設して、配管設備構造物等の既存の設備構造物が設けられている場合には、これの下方領域に形成されている、トンネル覆工体による側壁部構造体と基礎部分との接合角部分における底部コンクリート構造体を撤去しようとすると、既存の設備構造物が障害となって、撤去し難くなる。このようなことから、既存の設備構造物の使用に影響を及ぼさないようにしつつ、これの下方領域に形成されている接合角部分の底部コンクリート構造体を、スムーズに撤去できるようにすることが望まれている。
【0008】
本発明は、山岳トンネルにおいて、トンネルの底部に形成されている舗装体の側縁部分に沿って、舗装体と連続して形成されている底部コンクリート構造体を、これの上面部からの作業によって、複数のブロックに分割して撤去することを可能にする底部コンクリート構造体の撤去方法を提供することを目的とする。
【課題を解決するための手段】
【0009】
本発明は、山岳トンネルにおいて、トンネルの底部に形成されている舗装体の側縁部分に沿って設けられた底部コンクリート構造体を、撤去して改修する際に採用される底部コンクリート構造体の撤去方法であって、前記底部コンクリート構造体は、山岳トンネルの内周面を覆うトンネル覆工体の下端部内周面部と、前記舗装体の側部端面部との間に介在して形成されたものとなっており、当該撤去方法は、トンネルの軸方向に所定の延長を有する撤去施工スパンの領域における前記底部コンクリート構造体に対して、前記舗装体との境界部分に形成されるカッター溝を含む2列以上のカッター溝を、トンネルの軸方向に沿った縦断方向に延設させて、底部コンクリート構造体の上面部から基礎部分に至る深さまでカッターマシンにより切込み形成するカッター切断工程と、前記撤去施工スパンの領域における少なくともトンネルの軸方向の両側の端部において、トンネルの横断方向に連接させて、複数のコア抜き孔を、底部コンクリート構造体の上面部から基礎部分に至る深さまでコア削孔装置により削孔して、横断方向連接孔溝を形成する横断方向コア削孔工程と、前記撤去施工スパンの領域におけるトンネルの軸方向の一方の端部に形成された、前記横断方向連接孔溝の内部に、パワージャッキを装着して、トンネルの軸方向への押圧力を加えることで、左右一対の前記カッター溝及び前後一対の前記横断方向連接孔溝によって囲まれる部分の前記底部コンクリート構造体によるコンクリートブロックの底面部を、基礎部分から縁切りする縁切り工程と、しかる後に、基礎部分から底面部が縁切された前記コンクリートブロックを、玉掛けを施して吊り上げることにより撤去する吊上げ撤去工程とを含んでいるトンネルの底部コンクリート構造体の撤去方法を提供することにより、上記目的を達成したものである。
【0010】
そして、本発明のトンネルの底部コンクリート構造体の撤去方法は、前記撤去施工スパンの領域における少なくとも一方の端部に形成された、前記横断方向連接孔溝と連続させるようにして、当該一方の端部に近接する部分の少なくとも一列の前記カッター溝上に、連接する複数のコア抜き孔による縦断方向連接孔溝を、重ねるようにしてコア削孔装置により削孔して形成する縦断方向コア削孔工程を、さらに含んでいることが好ましい。
(【0011】以降は省略されています)
この特許をJ-PlatPat(特許庁公式サイト)で参照する
関連特許
株式会社奥村組
制振機構
12日前
株式会社奥村組
破砕装置
1か月前
株式会社奥村組
破砕装置
1か月前
株式会社奥村組
設置架台
4日前
株式会社奥村組
制振機構
12日前
株式会社奥村組
運搬方法
12日前
株式会社奥村組
吊り治具
12日前
株式会社奥村組
破砕装置
1か月前
株式会社奥村組
施工管理装置
1日前
株式会社奥村組
地山探査装置
1か月前
株式会社奥村組
施工管理方法
1日前
株式会社奥村組
施工管理装置
1日前
株式会社奥村組
地山探査装置
1か月前
株式会社奥村組
爆薬装填装置
2日前
株式会社奥村組
解体システム
1か月前
株式会社奥村組
ケーソン工法
15日前
株式会社奥村組
地山探査装置
1か月前
株式会社奥村組
地山探査方法
1か月前
株式会社奥村組
シールド掘進機
15日前
株式会社奥村組
非開削推進工法
1日前
株式会社奥村組
非開削推進工法
1日前
株式会社奥村組
非開削推進工法
1日前
株式会社奥村組
非開削推進工法
1日前
株式会社奥村組
非開削推進工法
1日前
株式会社奥村組
ケーソン刃口金物
15日前
株式会社奥村組
廃棄物分類処理装置
4日前
株式会社奥村組
外壁部施工用足場構造
2日前
株式会社奥村組
セグメントの組立方法
1か月前
株式会社奥村組
洗浄器具および洗浄方法
8日前
株式会社奥村組
圧入式オープンケーソン
8日前
株式会社奥村組
バッテリーロコの充電方法
1か月前
株式会社奥村組
バッテリーロコの充電機構
1か月前
株式会社奥村組
壁下地用胴縁の端部固定構造
8日前
株式会社奥村組
ドラムカッタ用集塵カバー体
4日前
株式会社奥村組
掘削機および非開削推進工法
1日前
株式会社奥村組
鉄筋コンクリート柱の補強工法
1か月前
続きを見る
他の特許を見る