TOP
|
特許
|
意匠
|
商標
特許ウォッチ
Twitter
他の特許を見る
10個以上の画像は省略されています。
公開番号
2025147893
公報種別
公開特許公報(A)
公開日
2025-10-07
出願番号
2024048388
出願日
2024-03-25
発明の名称
メタサーフェスシート及び窓構造
出願人
積水化学工業株式会社
代理人
弁理士法人三枝国際特許事務所
主分類
H01Q
15/14 20060101AFI20250930BHJP(基本的電気素子)
要約
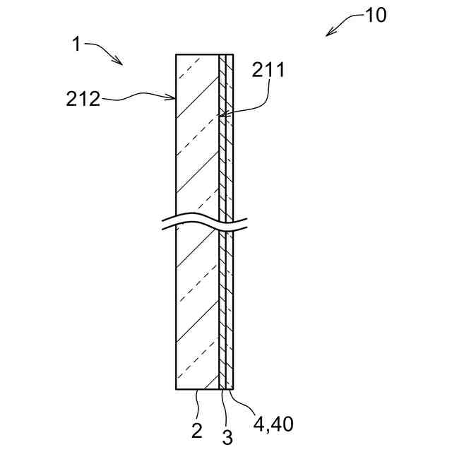
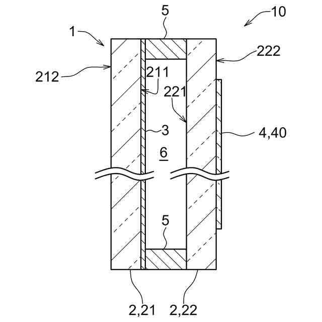
【課題】金属層を加工することなくそのまま用いながらも、電磁波の透過性能又は遮断性能を高めることができるメタサーフェスシート及び窓構造を提供する。
【解決手段】メタサーフェスシート40は、少なくとも1つの透明板2、及び少なくとも1つの透明板2に積層された金属層3を有する窓材1に取り付けられるメタサーフェスシート40である。メタサーフェスシート40は、基材42と、基材42上に形成された金属パターン41と、を備える。金属パターン41は、導体からなる第1領域411と、第1領域411に対して間隔をおいて配置され、第1領域411よりも小さい面積に形成された導体からなる第2領域412と、を有する。第1領域411と第2領域412との間の最小距離は、0mm超1mm未満である。
【選択図】図3
特許請求の範囲
【請求項1】
少なくとも1つの透明板、及び少なくとも1つの前記透明板に積層された金属層を有する窓材に取り付けられるメタサーフェスシートであって、
基材と、
前記基材上に形成された金属パターンと、
を備え、
前記金属パターンは、
導体からなる第1領域と、
前記第1領域に対して間隔をおいて配置され、前記第1領域よりも小さい面積に形成された導体からなる第2領域と、
を有し、
前記第1領域と前記第2領域との間の最小距離は、0mm超1mm未満である、
メタサーフェスシート。
続きを表示(約 780 文字)
【請求項2】
前記第1領域は、矩形状の領域であり、
前記第2領域は、前記第1領域の各辺に対して間隔をおいて配置された複数の矩形状の領域であり、
前記第2領域において、前記第1領域に対向する辺の長さは、前記第1領域の対応する辺の長さに等しく、前記第1領域に対向する辺に直交する辺の長さは、前記対応する辺の長さよりも短い、
請求項1に記載のメタサーフェスシート。
【請求項3】
前記第2領域において、前記第1領域に対向する辺に直交する辺の長さは、前記第1領域の前記対応する辺の長さの50%以下である、
請求項2に記載のメタサーフェスシート。
【請求項4】
前記第1領域の外周方向において、隣り合う前記第2領域の間には、導体が形成されていない導体非形成領域がある、
請求項2又は請求項3に記載のメタサーフェスシート。
【請求項5】
前記メタサーフェスシートは、所定の周波数に対応して用いられるものであり、
前記第1領域は正方形状の領域であり、前記第1領域の一辺の長さは、前記周波数の波長の1/10の長さである、
請求項2又は請求項3に記載のメタサーフェスシート。
【請求項6】
少なくとも1つの透明板、及び少なくとも1つの前記透明板に積層された金属層を有する窓材と、
前記窓材に設けられたメタサーフェス部と、
を備え、
前記メタサーフェス部は、
導体からなる第1領域と、
前記第1領域に対して間隔をおいて配置され、前記第1領域よりも小さい面積に形成された導体からなる第2領域と、
を有し、
前記第1領域と前記第2領域との間の最小距離は、0mm超1mm未満である、
窓構造。
発明の詳細な説明
【技術分野】
【0001】
本発明は、メタサーフェスシート及び窓構造に関する。
続きを表示(約 1,200 文字)
【背景技術】
【0002】
特許文献1には、従来の窓構造が開示されている。特許文献1のガラス体は、ガラス板の一面の全面にLow-E膜が形成されている。Low-E膜が形成されたガラス体は、広範囲の周波数帯域の電波に対して透過性が低くなることが知られている。このため、特許文献1では、Low-E膜の一部に対し、レーザー加工を行って除去し、電波透過領域を形成している。
【先行技術文献】
【特許文献】
【0003】
特開2023-113772号公報
【発明の概要】
【発明が解決しようとする課題】
【0004】
しかしながら、ガラス体を製造するに当たり、Low-E膜の一部を除去する作業を行うのは、製造性がいいとは言えなかった。
【0005】
本発明は、上記事情に鑑みてなされ、金属層を加工することなくそのまま用いながらも、電磁波の透過性能又は遮断性能を高めることができるメタサーフェスシート及び窓構造を提供することを目的とする。
【課題を解決するための手段】
【0006】
上記目的を達成するため、本発明は、次の項に記載の主題を包含する。
【0007】
項1.少なくとも1つの透明板、及び前記少なくとも1つの透明板に積層された金属層を有する窓材に取り付けられるメタサーフェスシートであって、
基材と、
前記基材上に形成された金属パターンと、
を備え、
前記金属パターンは、
導体からなる第1領域と、
前記第1領域に対して間隔をおいて配置され、前記第1領域よりも小さい面積に形成された導体からなる第2領域と、
を有し、
前記第1領域と前記第2領域との間の最小距離は、0mm超1mm未満である、メタサーフェスシート。
【0008】
項2.前記第1領域は、矩形状の領域であり、
前記第2領域は、前記第1領域の各辺に対して間隔をおいて配置された複数の矩形状の領域であり、
前記第2領域において、前記第1領域に対向する辺の長さは、前記第1領域の対応する辺の長さに等しく、前記第1領域に対向する辺に直交する辺の長さは、前記対応する辺の長さよりも短い、
項1に記載のメタサーフェスシート。
【0009】
項3.前記第2領域において、前記第1領域に対向する辺に直交する辺の長さは、前記第1領域の前記対応する辺の長さの50%以下である、
項2に記載のメタサーフェスシート。
【0010】
項4.前記第1領域の外周方向において、隣り合う前記第2領域の間には、導体が形成されていない導体非形成領域がある、
項2又は項3に記載のメタサーフェスシート。
(【0011】以降は省略されています)
この特許をJ-PlatPat(特許庁公式サイト)で参照する
関連特許
積水化学工業株式会社
樹脂管
8日前
積水化学工業株式会社
複層管
15日前
積水化学工業株式会社
段ボール
23日前
積水化学工業株式会社
解析方法
8日前
積水化学工業株式会社
配管構造
8日前
積水化学工業株式会社
集合継手
4日前
積水化学工業株式会社
製管装置
2日前
積水化学工業株式会社
積層構造体
8日前
積水化学工業株式会社
耐火処理構造
9日前
積水化学工業株式会社
耐火処理構造
9日前
積水化学工業株式会社
両面粘着テープ
8日前
積水化学工業株式会社
遺伝子導入方法
16日前
積水化学工業株式会社
両面粘着テープ
8日前
積水化学工業株式会社
防食用粘着テープ
4日前
積水化学工業株式会社
更生管の製管方法
9日前
積水化学工業株式会社
螺旋管の製管装置
11日前
積水化学工業株式会社
更生管の製管装置
2日前
積水化学工業株式会社
螺旋管の製管装置
11日前
積水化学工業株式会社
ジオポリマー組成物
29日前
積水化学工業株式会社
熱伝導性樹脂組成物
15日前
積水化学工業株式会社
樹脂組成物、放熱部材
8日前
積水化学工業株式会社
床の施工方法及び建築物
8日前
積水化学工業株式会社
継手構造および接続構造
8日前
積水化学工業株式会社
配管構造及びプレハブ配管
1日前
積水化学工業株式会社
集合継手及び排水システム
8日前
積水化学工業株式会社
配管構造及びプレハブ配管
1日前
積水化学工業株式会社
生産管理システムおよび方法
9日前
積水化学工業株式会社
生産管理システムおよび方法
9日前
積水化学工業株式会社
膜付き基材の製造方法及び粉体
11日前
積水化学工業株式会社
軒樋支持具および雨樋システム
1日前
積水化学工業株式会社
集合継手及び集合継手の製造方法
8日前
積水化学工業株式会社
プログラム及び情報処理システム
11日前
積水化学工業株式会社
継手、配管構造、配管の施工方法
9日前
積水化学工業株式会社
メタサーフェスシート及び窓構造
11日前
積水化学工業株式会社
粒体、地盤改良材及び地盤改良方法
4日前
積水化学工業株式会社
接着性樹脂組成物、及び、仮固定材
11日前
続きを見る
他の特許を見る