TOP
|
特許
|
意匠
|
商標
特許ウォッチ
Twitter
他の特許を見る
公開番号
2025151894
公報種別
公開特許公報(A)
公開日
2025-10-09
出願番号
2024053520
出願日
2024-03-28
発明の名称
継手、配管構造、配管の施工方法
出願人
積水化学工業株式会社
代理人
個人
,
個人
,
個人
,
個人
主分類
F16L
37/091 20060101AFI20251002BHJP(機械要素または単位;機械または装置の効果的機能を生じ維持するための一般的手段)
要約
【課題】施工中(水圧試験前)に目視で施工不良が発見しやすい。
【解決手段】継手本体11と、軸方向の第1側D1の端部が継手本体11に径方向の外側から装着され、端部よりも軸方向の第2側D2に位置する部分の内周面と、継手本体11の外周面と、の間に隙間S1が設けられたボディ21と、隙間S1に、第1側D1に移動可能に配置されたガイドリング41と、を備え、ボディ21は、継手本体11に径方向の外側から装着され端部を構成する第1部分22a、および、第1部分22aから第2側D2に延びるとともに内径が継手本体11の外径よりも大きい第2部分22b、を有するアウターボディ部材22と、第2部分22bに径方向の内側から装着されるとともに内径が継手本体11の外径よりも大きいインナーボディ部材23と、を備え、アウターボディ部材22の第2部分22bと、インナーボディ部材23と、は透明である。
【選択図】 図1
特許請求の範囲
【請求項1】
継手本体と、
軸方向の第1側の端部が前記継手本体に径方向の外側から装着され、前記端部よりも軸方向の第2側に位置する部分の内周面と、前記継手本体の外周面と、の間に隙間が設けられたボディと、
前記隙間に、前記第1側に移動可能に配置されたガイドリングと、を備え、
前記ボディは、
前記継手本体に径方向の外側から装着され前記端部を構成する第1部分、および、前記第1部分から前記第2側に延びるとともに内径が前記継手本体の外径よりも大きい第2部分、を有するアウターボディ部材と、
前記第2部分に径方向の内側から装着されるとともに内径が前記継手本体の外径よりも大きいインナーボディ部材と、を備え、
前記アウターボディ部材の前記第2部分と、前記インナーボディ部材と、は透明である、継手。
続きを表示(約 800 文字)
【請求項2】
前記インナーボディ部材の前記第1側の端は、前記第2部分の前記第1側の端よりも前記第2側に位置し、
前記インナーボディ部材は、有色の透明であり、
前記インナーボディ部材の色は、前記ガイドリングの補色である、請求項1に記載の継手。
【請求項3】
前記インナーボディ部材の前記第1側の端は、前記第2部分の前記第1側の端よりも前記第2側に位置し、
前記第2部分のうち、前記インナーボディ部材の前記第1側の端よりも前記第2側に位置する部分は、前記インナーボディ部材の前記第1側の端よりも前記第1側に位置する部分よりも、透明度が低い、請求項1に記載の継手。
【請求項4】
前記継手本体の外周面に設けられた溝に配置されたシール部材を更に備えている、請求項1に記載の継手。
【請求項5】
前記隙間に配置されたパイプに対して前記第2側へ抜け止めをする抜け止め部材を更に備え、
前記ボディは、前記アウターボディ部材または前記インナーボディ部材との間に前記抜け止め部材を保持するロックリングを更に備えている、請求項1に記載の継手。
【請求項6】
請求項1から5のいずれか1項に記載の継手と、
前記隙間に配置されたパイプと、を備え、
前記ガイドリングは、前記隙間内において前記パイプよりも前記第1側に配置されるとともに、前記アウターボディ部材を通して外部から視認可能である、配管構造。
【請求項7】
請求項1から5のいずれか1項に記載の継手と、パイプと、を組み付ける配管の施工方法であって、
前記パイプを前記隙間に前記第1側に向けて挿入するときに、前記アウターボディ部材および前記インナーボディ部材を通して前記ガイドリングを外部から視認する、配管の施工方法。
発明の詳細な説明
【技術分野】
【0001】
本発明は、継手、配管構造、配管の施工方法に関する。
続きを表示(約 1,600 文字)
【背景技術】
【0002】
従来、管の挿入不足による漏水を防止するための継手が検討されている。例えば、特許文献1に開示された継手は、施工後に水圧試験を行うことにより、管の挿入不足を確実に発見するとされている。
【先行技術文献】
【特許文献】
【0003】
特開2003-185076号公報
【発明の概要】
【発明が解決しようとする課題】
【0004】
この種の継手において、挿入の視認性を向上させ、施工中(水圧試験前)に目視で施工不良が発見しやすいことが望まれている。
【0005】
本発明は、このような問題点に鑑みてなされたものであって、施工中(水圧試験前)に目視で施工不良が発見しやすい継手を提供することを目的とする。
【課題を解決するための手段】
【0006】
前記課題を解決するために、この発明は以下の手段を提案している。
本発明のキャップは、継手本体と、軸方向の第1側の端部が前記継手本体に径方向の外側から装着され、前記端部よりも軸方向の第2側に位置する部分の内周面と、前記継手本体の外周面と、の間に隙間が設けられたボディと、前記隙間に、前記第1側に移動可能に配置されたガイドリングと、を備え、前記ボディは、前記継手本体に径方向の外側から装着され前記端部を構成する第1部分、および、前記第1部分から前記第2側に延びるとともに内径が前記継手本体の外径よりも大きい第2部分、を有するアウターボディ部材と、前記第2部分に径方向の内側から装着されるとともに内径が前記継手本体の外径よりも大きいインナーボディ部材と、を備え、前記アウターボディ部材の前記第2部分と、前記インナーボディ部材と、は透明である。
【発明の効果】
【0007】
本発明の継手によれば、施工中(水圧試験前)に目視で施工不良が発見しやすい。
【図面の簡単な説明】
【0008】
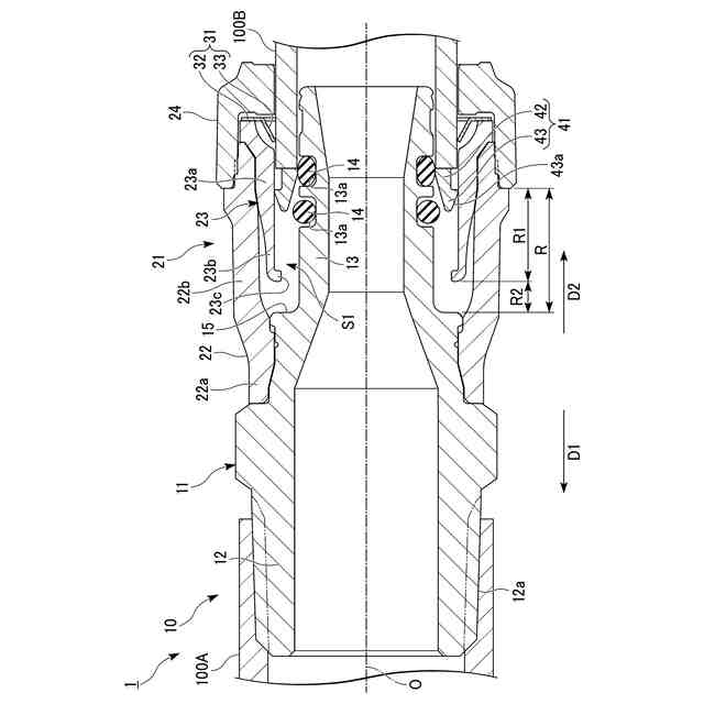
本発明の第1実施形態の継手の断面図である。
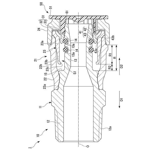
図1に示す継手にパイプを挿入する過程を示す断面図である。
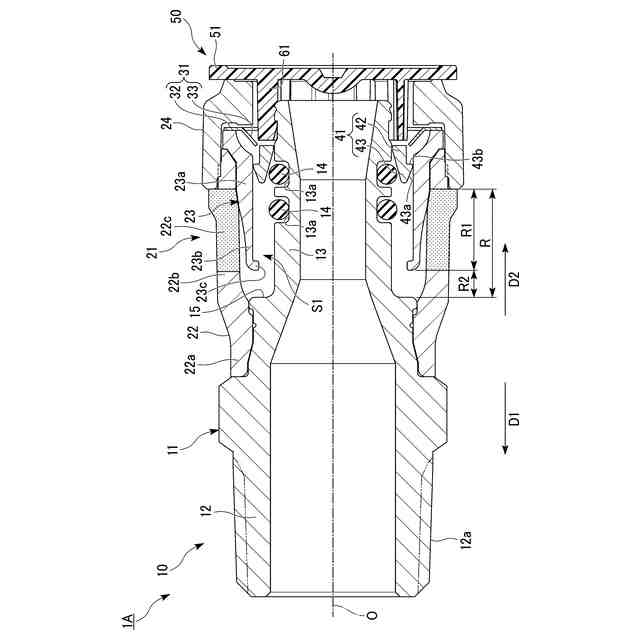
図1に示す継手にパイプを挿入し終えた状態を示す断面図である。
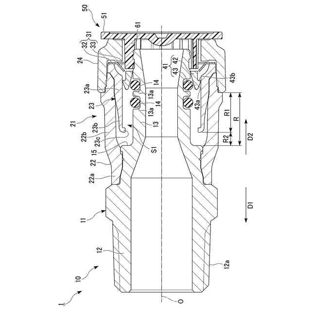
本発明の第2実施形態の継手の断面図である。
図4に示す継手にパイプを挿入し終えた状態を示す断面図である。
【発明を実施するための形態】
【0009】
(第1実施形態)
以下、本発明に係るキャップ付き継手の第1実施形態を、図1から図3を参照しながら説明する。
図1に示すように、本実施形態のキャップ付き継手1は、継手10と、キャップ50と、を備えている。図2及び図3に示すように、継手10は、第1管100A(パイプ)及び第2管100B(パイプ)と接続される。継手10及び管100A,100Bで、配管構造60を構成する。配管構造60は、図示しない、上水道管、排水管(下水管)、ガス管、空調管等の各種配管設備を構成する。配管構造60の主な配管場所は、例えば建物の床下等の暗所、狭所である。
【0010】
図1は、継手10に第2管100Bが接続されていない接続未完了状態を示している。図1に示すように、継手10は、継手本体11と、ボディ(外筒部)21と、抜け止め部材31と、ガイドリング(環状部材)41と、を備えている。
ここで、継手本体11及びボディ21は筒状に形成され、抜け止め部材31及びガイドリング41は環状に形成されている。継手本体11、ボディ21、抜け止め部材31、及びガイドリング41それぞれの中心軸は、共通軸と同軸に配置されている。以下では、共通軸を軸線Oと言う。軸線Oに沿う方向を軸線O方向(軸方向)と言う。軸線Oに直交する方向を径方向と言い、軸線O回りに周回する方向を周方向と言う。
(【0011】以降は省略されています)
この特許をJ-PlatPat(特許庁公式サイト)で参照する
関連特許
個人
鍋虫ねじ
1か月前
個人
回転伝達機構
2か月前
個人
紛体用仕切弁
1か月前
個人
ホース保持具
5か月前
個人
トーションバー
6か月前
個人
差動歯車用歯形
3か月前
個人
給排気装置
3日前
個人
ジョイント
21日前
株式会社不二工機
電磁弁
3か月前
個人
地震の揺れ回避装置
2か月前
株式会社不二工機
電磁弁
4か月前
個人
ナット
22日前
個人
吐出量監視装置
1か月前
カヤバ株式会社
緩衝器
3か月前
柿沼金属精機株式会社
分岐管
1か月前
カヤバ株式会社
緩衝器
3か月前
カヤバ株式会社
ダンパ
3か月前
カヤバ株式会社
緩衝器
2日前
カヤバ株式会社
ダンパ
3か月前
株式会社不二工機
電動弁
3日前
日東電工株式会社
断熱材
5か月前
株式会社ニフコ
クリップ
7日前
株式会社不二工機
電磁弁
1か月前
個人
固着具と固着具の固定方法
6か月前
株式会社ノーリツ
分配弁
7日前
株式会社フジキン
ボールバルブ
4か月前
アズビル株式会社
回転弁
15日前
個人
固着具と固着具の固定方法
4か月前
個人
固着具と固着具の固定方法
4か月前
株式会社タカギ
水栓装置
2か月前
個人
固着具と固着具の固定方法
4か月前
株式会社ノーリツ
分配弁
5か月前
株式会社ノーリツ
分配弁
5か月前
株式会社ノーリツ
分配弁
5か月前
株式会社奥村組
制振機構
11日前
株式会社奥村組
制振機構
11日前
続きを見る
他の特許を見る