TOP
|
特許
|
意匠
|
商標
特許ウォッチ
Twitter
他の特許を見る
公開番号
2025138013
公報種別
公開特許公報(A)
公開日
2025-09-25
出願番号
2024036633
出願日
2024-03-11
発明の名称
段ボール
出願人
積水化学工業株式会社
代理人
個人
,
個人
主分類
E04B
1/94 20060101AFI20250917BHJP(建築物)
要約
【課題】軽量性及び良好な施工性も確保しつつ、耐火性を有する建築資材として使用可能な段ボールを提供する。
【解決手段】膨張性黒鉛を含有する基材10を備える段ボール1。
【選択図】図1
特許請求の範囲
【請求項1】
膨張性黒鉛を含有する基材を備える段ボール。
続きを表示(約 120 文字)
【請求項2】
前記基材において前記膨張性黒鉛の含有割合が5質量%以上である、請求項1に記載の段ボール。
【請求項3】
前記基材がホウ素系難燃剤及びリン系難燃剤の少なくともいずれかを含有する、請求項1又は2に記載の段ボール。
発明の詳細な説明
【技術分野】
【0001】
本発明は、建築資材として使用される段ボールに関する。
続きを表示(約 1,300 文字)
【背景技術】
【0002】
現在、建設就業者の高齢化や減少により、易施工の要望が高まっている。また、環境負荷の観点より、二酸化炭素排出量削減の要望も高まっている。この両者の要望に対して、前者に関しては、建築資材の軽量化や、工具が無くても加工できる加工性が求められており、また、後者に関しては製造及び解体時の二酸化炭素排出量の削減、断熱性が求められている。以上の要望を満たす建築資材として、段ボールの活用が近年注目されている。
【0003】
例えば、特許文献1では、防音性、断熱性、および防水性に優れた建築物用部材として、段ボール層を含む基材と、基材の表面の少なくとも一部に設けられ、合成樹脂を含有する被覆層とを有する建築物用部材が開示される。
【先行技術文献】
【特許文献】
【0004】
実用新案登録第3203947号公報
【発明の概要】
【発明が解決しようとする課題】
【0005】
建築資材として、段ボールを使用することで上記の両方の要望を叶えることは可能である。ただし、単に従来の段ボールを使用した場合には、建築資材として要求される耐火性が不十分となり、建築資材として従来の段ボールを使用することには問題がある。
【0006】
そこで、本発明は、軽量性及び良好な施工性も確保しつつ、耐火性を有する建築資材として使用可能な段ボールを提供することを課題とする。
【課題を解決するための手段】
【0007】
本発明は、鋭意検討の結果、段ボールを形成する基材に膨張性黒鉛を含有させることで上記課題を解決できることを見出し、以下の本発明を完成させた。すなわち、本発明は、以下の[1]~[3]を提供する。
[1]膨張性黒鉛を含有する基材を備える段ボール。
[2]前記基材において前記膨張性黒鉛の含有割合が5質量%以上である、[1]に記載の段ボール。
[3]前記基材がホウ素系難燃剤及びリン系難燃剤の少なくともいずれかを含有する、[1]又は[2]に記載の段ボール。
【発明の効果】
【0008】
本発明によれば、軽量性及び良好な施工性も確保しつつ、耐火性を有する建築資材として使用可能な段ボールを提供することができる。
【図面の簡単な説明】
【0009】
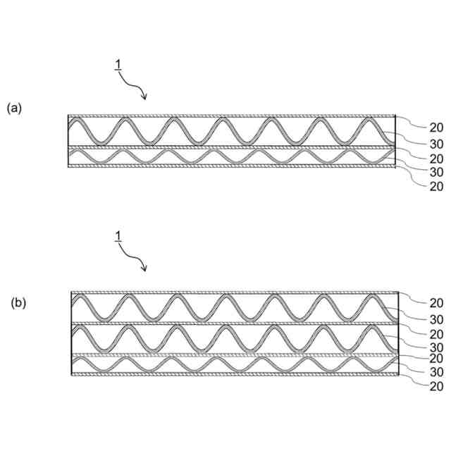
本発明の一実施形態に係る段ボールの模式的な断面図である。
本発明の一実施形態に係る段ボールの模式的な断面図である。
本発明の一実施形態に係る段ボールの模式的な断面図である。
【発明を実施するための形態】
【0010】
以下、本発明について実施形態を参照しつつより詳細に説明する。
本発明の実施形態に係る段ボール1は、図1に示すように、基材10である、ライナ20,20及び中芯30により形成される。そして、本発明の実施形態に係る段ボール1の基材10は、膨張性黒鉛を含有する。
(【0011】以降は省略されています)
この特許をJ-PlatPat(特許庁公式サイト)で参照する
関連特許
個人
接合構造
1日前
個人
屋台
18日前
個人
野良猫ハウス
1か月前
個人
キャチクランプ
4か月前
個人
フェンス
1か月前
個人
転落防止用手摺
28日前
個人
地下型マンション
3か月前
積水樹脂株式会社
柵体
27日前
個人
筋交自動設定装置
8日前
個人
居住車両用駐車場
1か月前
ニチハ株式会社
建築板
1か月前
個人
水害と共にある家
4か月前
個人
壁断熱パネル
4か月前
個人
津波と共にある漁港
4か月前
個人
熱抵抗多層断熱建材
1か月前
株式会社タナクロ
テント
3か月前
個人
鋼管結合資材
3か月前
個人
柵
2か月前
個人
パーティション
4か月前
個人
地滑りと共にある山荘
4か月前
個人
補強部材
1か月前
積水樹脂株式会社
フェンス
5か月前
鹿島建設株式会社
壁体
1か月前
個人
循環流水式屋根融雪装置
3か月前
成友建設株式会社
建物
1か月前
個人
身体用シェルター
8日前
個人
身体用シェルター
8日前
個人
可搬型供養墓
6日前
三協立山株式会社
構造体
8日前
三協立山株式会社
構造体
8日前
三協立山株式会社
構造体
8日前
三協立山株式会社
構造体
8日前
三協立山株式会社
構造体
3か月前
三協立山株式会社
構造体
8日前
イワブチ株式会社
組立柱
27日前
株式会社熊谷組
吊り治具
5日前
続きを見る
他の特許を見る