TOP
|
特許
|
意匠
|
商標
特許ウォッチ
Twitter
他の特許を見る
公開番号
2025154189
公報種別
公開特許公報(A)
公開日
2025-10-10
出願番号
2024057060
出願日
2024-03-29
発明の名称
集合継手及び集合継手の製造方法
出願人
積水化学工業株式会社
代理人
個人
,
個人
,
個人
,
個人
主分類
E03C
1/12 20060101AFI20251002BHJP(上水;下水)
要約
【課題】排水の効率を向上した集合継手を提供する。
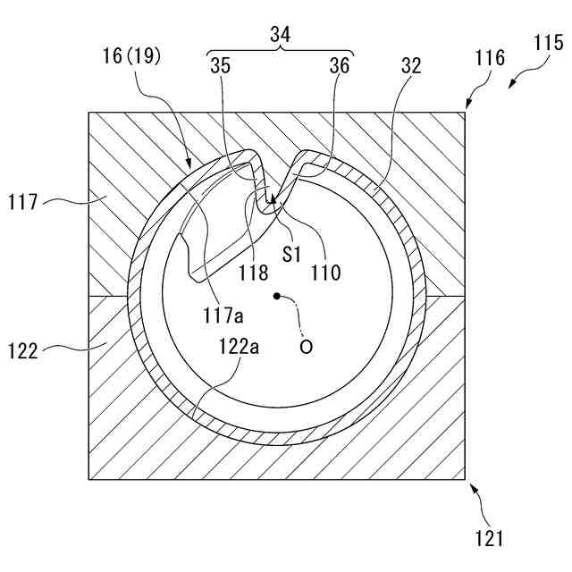
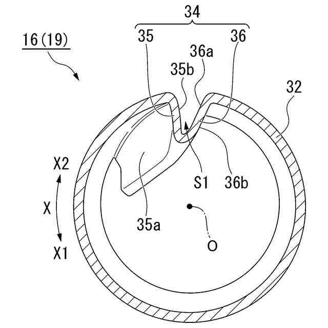
【解決手段】集合継手は、管状に形成され、自身の軸線Oが上下方向に沿うように配置された継手本体16と、継手本体の内周面に設けられた旋回羽根34と、を備え、旋回羽根は、それぞれの径方向内側の端部が互いに接続された第1羽根片35及び第2羽根片36を有し、第1羽根片と第2羽根片との間に、中空部S1が形成されている。
【選択図】図3
特許請求の範囲
【請求項1】
管状に形成され、自身の軸線が上下方向に沿うように配置された継手本体と、
前記継手本体の内周面に設けられた旋回羽根と、
を備え、
前記旋回羽根は、それぞれの径方向内側の端部が互いに接続された第1羽根片及び第2羽根片を有し、
前記第1羽根片と前記第2羽根片との間に、中空部が形成されている、集合継手。
続きを表示(約 390 文字)
【請求項2】
前記継手本体における、上下方向において前記旋回羽根が設けられた部分を、羽根配置部と規定したときに、
前記羽根配置部の内径は、上方から下方に向かうに従い漸次小さくなり、
前記羽根配置部の内径に対する、前記旋回羽根の前記径方向の長さの比率は、上方から下方に向かうに従い漸次大きくなる、請求項1に記載の集合継手。
【請求項3】
管状に形成され、自身の軸線が上下方向に沿うように配置された継手本体と、
前記継手本体の内周面に設けられた旋回羽根と、
を備える集合継手を製造する集合継手の製造方法であって、
前記旋回羽根が、それぞれの径方向内側の端部が互いに接続された第1羽根片及び第2羽根片を有するとともに、前記第1羽根片と前記第2羽根片との間に、中空部が形成されるように、ブロー成形により製造する、集合継手の製造方法。
発明の詳細な説明
【技術分野】
【0001】
本発明は、集合継手及び集合継手の製造方法に関する。
続きを表示(約 1,500 文字)
【背景技術】
【0002】
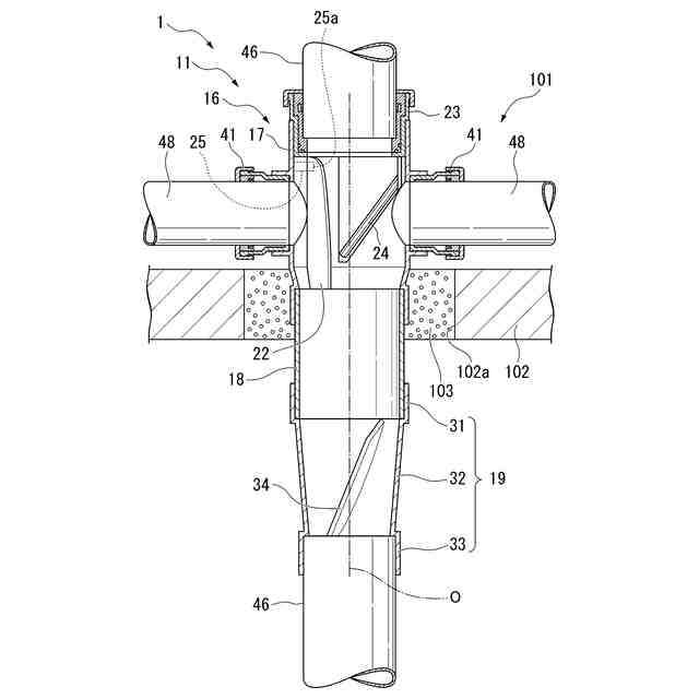
従来、集合住宅やオフィスビルディング等の建築物は、排水路等の集合継手システムを備えている(例えば、特許文献1参照)。例えば、集合継手システムは、建築物の各階で排水を集める横管と、各横管で集めた排水を下方に向かって流す縦管と、横管と縦管とを接続する集合継手と、を備えている。
【先行技術文献】
【特許文献】
【0003】
特開2020-038005号公報
【発明の概要】
【発明が解決しようとする課題】
【0004】
集合継手の内部に、排水の流れを整えるための旋回羽根が配置されることがある。特許文献1の集合継手は、継手本体の備える傾斜管部の内周面に、排水の旋回方向に対向する面(第3内面)を有する。前記第3内面は、軸線に平行、又は、下方に向かうに従い漸次、旋回羽根が傾斜する側に傾いている。前記第3内面に傾斜管部の内部を流れる排水が衝突すると、傾斜管部の内部における排水の流れが乱れ、排水の効率が低下する原因となる。
【0005】
本発明は、前述した事情に鑑みてなされたものであって、排水の効率を向上した集合継手、及び集合継手の製造方法を提供することを目的とする。
【課題を解決するための手段】
【0006】
前記課題を解決するために、この発明は以下の手段を提案している。
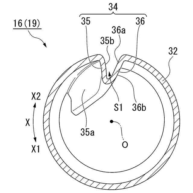
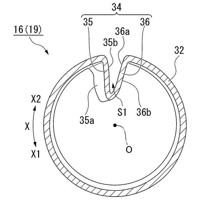
(1)本発明の態様1は、管状に形成され、自身の軸線が上下方向に沿うように配置された継手本体と、前記継手本体の内周面に設けられた旋回羽根と、を備え、前記旋回羽根は、それぞれの径方向内側の端部が互いに接続された第1羽根片及び第2羽根片を有し、前記第1羽根片と前記第2羽根片との間に、中空部が形成されている、集合継手である。
【0007】
(2)本発明の態様2は、前記継手本体における、上下方向において前記旋回羽根が設けられた部分を、羽根配置部と規定したときに、前記羽根配置部の内径は、上方から下方に向かうに従い漸次小さくなり、前記羽根配置部の内径に対する、前記旋回羽根の前記径方向の長さの比率は、上方から下方に向かうに従い漸次大きくなる、(1)に記載の集合継手であってもよい。
【0008】
(3)本発明の態様3は、管状に形成され、自身の軸線が上下方向に沿うように配置された継手本体と、前記継手本体の内周面に設けられた旋回羽根と、を備える集合継手を製造する集合継手の製造方法であって、前記旋回羽根が、それぞれの径方向内側の端部が互いに接続された第1羽根片及び第2羽根片を有するとともに、前記第1羽根片と前記第2羽根片との間に、中空部が形成されるように、ブロー成形により製造する、集合継手の製造方法である。
【発明の効果】
【0009】
本発明の集合継手及び集合継手の製造方法では、排水の効率を向上することができる。
【図面の簡単な説明】
【0010】
本発明の一実施形態に係る集合継手を備える集合継手システムの断面図である。
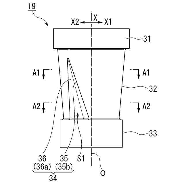
同集合継手の下部接続管の側面図である。
図2中の切断線A1-A1の断面図である。
図2中の切断線A2-A2の断面図である。
同集合継手の下部接続管の製造方法に用いられるパリソンにおいて、(A)は平面図であり、(B)は側面図である。
同下部接続管の製造方法に用いられる金型の断面図である。
【発明を実施するための形態】
(【0011】以降は省略されています)
この特許をJ-PlatPat(特許庁公式サイト)で参照する
関連特許
株式会社田中設備
蓋体
1日前
個人
ドクター中まミズつクル
27日前
TOTO株式会社
トイレ装置
9日前
TOTO株式会社
排水システム
7日前
TOTO株式会社
排水システム
7日前
TOTO株式会社
便座装置
1か月前
タイガースポリマー株式会社
側溝
1か月前
株式会社KVK
水栓
1か月前
株式会社KVK
水栓
1か月前
ミサワホーム株式会社
外構
6日前
株式会社KVK
水栓
1か月前
TOTO株式会社
トイレ装置
1か月前
TOTO株式会社
トイレ装置
1か月前
TOTO株式会社
トイレ装置
1か月前
株式会社タカギ
水栓装置
2か月前
ホーコス株式会社
床置型グリース阻集器
1か月前
TOTO株式会社
洗面器及び洗面台
1か月前
TOTO株式会社
洗面器及び洗面台
1か月前
クリナップ株式会社
キッチン
7日前
TOTO株式会社
浴室床
2か月前
三興建設株式会社
下水道バイパス装置
2か月前
TOTO株式会社
洗い場床
2か月前
株式会社Deto
吐水器
2日前
TOTO株式会社
トイレ装置
2か月前
TOTO株式会社
トイレ装置
2か月前
TOTO株式会社
排水管継手
2か月前
TOTO株式会社
排水管継手
2か月前
株式会社LIXIL
便器装置
1か月前
飛島建設株式会社
仮設壁の構築方法
7日前
株式会社LIXIL
便器装置
15日前
TOTO株式会社
トイレシステム
2か月前
株式会社タカギ
水栓
13日前
株式会社タカギ
水栓
13日前
新明和工業株式会社
吸引車
20日前
積水化学工業株式会社
継手
1か月前
株式会社タカギ
吐水装置
13日前
続きを見る
他の特許を見る