TOP
|
特許
|
意匠
|
商標
特許ウォッチ
Twitter
他の特許を見る
10個以上の画像は省略されています。
公開番号
2025158472
公報種別
公開特許公報(A)
公開日
2025-10-17
出願番号
2024061039
出願日
2024-04-04
発明の名称
配管構造及びプレハブ配管
出願人
積水化学工業株式会社
,
シーケー金属株式会社
代理人
個人
,
個人
,
個人
,
個人
主分類
F16L
23/02 20060101AFI20251009BHJP(機械要素または単位;機械または装置の効果的機能を生じ維持するための一般的手段)
要約
【課題】過度に大型化することなくシール性能を安定的に確保可能な配管構造及びプレハブ配管の提供。
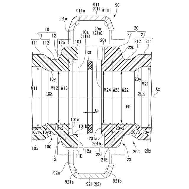
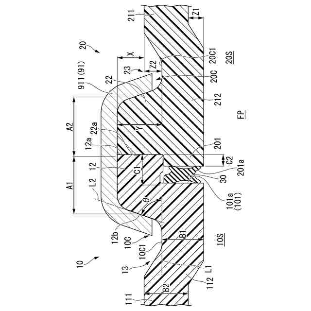
【解決手段】シール部材30が、第1係合部13の開口部11aの周方向に形成された閉環状の凹条部101に収容され、内周側が、第1配管部材10及び第2配管部材20内の流路FPに露出しており、第1膨出部12が、第1突き合わせ面12aとは反対側に第1テーパ面12bを有し、第2膨出部22が、第2突き合わせ面22aとは反対側に第2テーパ面22bを有し、接合部材90は、第1テーパ面12bに当接する第1当接テーパ面911a,921aと第2テーパ面22bに当接する第2当接テーパ面911b,921bとをそれぞれが有する複数の分割部材91,92が管軸方向に対し垂直方向に延びる固定具で連結される。
【選択図】図2
特許請求の範囲
【請求項1】
両端が開口する管状の第1管状部と、前記第1管状部の一端に設けられた第1膨出部と、を有し、前記第1管状部の前記一端と前記第1膨出部とがポリオレフィン系樹脂で形成された第1係合部を構成する第1配管部材と、
両端が開口する管状の第2管状部と、前記第2管状部の一端に設けられた第2膨出部と、を有し、前記第2管状部の前記一端と前記第2膨出部とがポリオレフィン系樹脂で形成された第2係合部を構成するとともに、前記第2係合部が前記第1係合部に連結される第2配管部材と、
前記第1係合部と前記第2係合部との連結箇所において、前記第1係合部と前記第2係合部とに液密に挟持される閉環状のシール部材と、
前記連結箇所において、前記第1膨出部と前記第2膨出部とを外周側から包囲し固定する閉環状の接合部材と、を備え、
前記第1係合部は、前記第2係合部と対向する第1突き合わせ面と、前記第2係合部と対向し前記第1管状部の開口部の周方向に形成された閉環状の凹条部とを有し、
前記第2係合部は、前記第1係合部と対向し前記第1突き合わせ面に突き合わせられる第2突き合わせ面を有し、
前記シール部材は、前記凹条部に収容され、内周側が、前記第1配管部材及び前記第2配管部材内の流路に露出しており、
前記第1膨出部は、前記第1突き合わせ面とは反対側に第1テーパ面を有し、
前記第2膨出部は、前記第2突き合わせ面とは反対側に第2テーパ面を有し、
前記接合部材は、前記第1テーパ面に当接する第1当接テーパ面と前記第2テーパ面に当接する第2当接テーパ面とをそれぞれが有する複数の分割部材が管軸方向に対し垂直方向に延びる固定具で連結されることにより、前記第1突き合わせ面と前記第2突き合わせ面とを密着させるとともに、前記シール部材を前記凹条部と前記第2係合部とに挟持させる配管構造。
続きを表示(約 510 文字)
【請求項2】
前記第2係合部は、前記第1係合部と対向し前記第2管状部の開口部の周方向に形成され、前記凹条部に嵌合する閉環状の凸条部を有し、
前記シール部材は、前記凸条部と前記凹条部とに挟持される請求項1に記載の配管構造。
【請求項3】
前記第1係合部の前記第1突き合わせ面及び前記凹条部を形成する第1金属板と、
前記第2係合部の前記第2突き合わせ面及び前記凸条部を形成する第2金属板と、
を有する請求項2に記載の配管構造。
【請求項4】
前記第1係合部は、前記第1管状部の外周面に前記第1膨出部と隣り合い周方向に形成された第1凹部を有し、
前記第2係合部は、前記第2管状部の外周面に前記第2膨出部と隣り合い周方向に形成された第2凹部を有し、
前記接合部材の内周側端部は、前記第1凹部及び前記第2凹部に挿入される請求項1に記載の配管構造。
【請求項5】
請求項1から4いずれか1項に記載の配管構造を有し、
前記第1管状部の他端及び前記第2管状部の他端の少なくとも一方に、樹脂材料で形成された継手が接続されているプレハブ配管。
発明の詳細な説明
【技術分野】
【0001】
本発明は、配管構造及びプレハブ配管に関する。
続きを表示(約 1,700 文字)
【背景技術】
【0002】
従来、内部に流体を流動させる配管として、樹脂製の配管部材が用いられている。このような配管部材同士を連結する構造として、配管部材の端部にそれぞれ設けられたフランジを対向させ、フランジ間にパッキン(シール部材)を挟持させた状態で互いのフランジ同士を係合させる配管構造が知られている(例えば、特許文献1参照)。配管構造の用途としては、給水用、給湯用、排水用、空調用、ガス用、燃料用の配管が知られている。
【先行技術文献】
【特許文献】
【0003】
特開2009-250407号公報
【発明の概要】
【発明が解決しようとする課題】
【0004】
上記特許文献1に記載の配管構造では、連結した配管に外力(例えば曲げ応力)が加わった場合、配管部材同士の接続部であるフランジの近傍に応力が集中しやすい。また、樹脂製の配管部材は、金属製の配管部材と比べ、気温変化による熱膨張、熱収縮の影響が大 きく、接続部に応力が加わりやすい。このように接続部に応力が加わると、フランジ間が離れ漏水するおそれがある。
【0005】
そこで、上記配管構造では、金属配管に用いられるシール部材と比べ相対的に大きなシール部材を用い、漏水を抑制していた。
【0006】
しかし、大きいシール部材を用いてシール性能を向上しようとする場合、シール部材の大きさに合わせて、配管部材が有するフランジも大きくする必要がある。そのため、配管部材の最外寸が大きくなり、施工しにくくなるという課題が生じる。
【0007】
さらに、大きいシール部材を用いた場合、シール部材を圧縮しシール性能を生み出すための締付トルクも相対的に大きくなる。そのため、配管構造の組み立て時の作業効率が低下するおそれがある。
【0008】
本発明はこのような事情に鑑みてなされたものであって、過度に大型化することなくシール性能を安定的に確保可能な配管構造を提供することを目的とする。また、このような配管構造を備えたプレハブ配管を提供することを合わせて目的とする。
【課題を解決するための手段】
【0009】
上記の課題を解決するため、本発明の一態様は、以下の態様を包含する。
【0010】
[1]両端が開口する管状の第1管状部と、前記第1管状部の一端に設けられた第1膨出部と、を有し、前記第1管状部の前記一端と前記第1膨出部とがポリオレフィン系樹脂で形成された第1係合部を構成する第1配管部材と、両端が開口する管状の第2管状部と、前記第2管状部の一端に設けられた第2膨出部と、を有し、前記第2管状部の前記一端と前記第2膨出部とがポリオレフィン系樹脂で形成された第2係合部を構成するとともに、前記第2係合部が前記第1係合部に連結される第2配管部材と、前記第1係合部と前記第2係合部との連結箇所において、前記第1係合部と前記第2係合部とに液密に挟持される閉環状のシール部材と、前記連結箇所において、前記第1膨出部と前記第2膨出部とを外周側から包囲し固定する閉環状の接合部材と、を備え、前記第1係合部は、前記第2係合部と対向する第1突き合わせ面と、前記第2係合部と対向し前記第1管状部の開口部の周方向に形成された閉環状の凹条部とを有し、前記第2係合部は、前記第1係合部と対向し前記第1突き合わせ面に突き合わせられる第2突き合わせ面を有し、前記シール部材は、前記凹条部に収容され、内周側が、前記第1配管部材及び前記第2配管部材内の流路に露出しており、前記第1膨出部は、前記第1突き合わせ面とは反対側に第1テーパ面を有し、前記第2膨出部は、前記第2突き合わせ面とは反対側に第2テーパ面を有し、前記接合部材は、前記第1テーパ面に当接する第1当接テーパ面と前記第2テーパ面に当接する第2当接テーパ面とをそれぞれが有する複数の分割部材が管軸方向に対し垂直方向に延びる固定具で連結されることにより、前記第1突き合わせ面と前記第2突き合わせ面とを密着させるとともに、前記シール部材を前記凹条部と前記第2係合部とに挟持させる配管構造。
(【0011】以降は省略されています)
この特許をJ-PlatPat(特許庁公式サイト)で参照する
関連特許
積水化学工業株式会社
製管装置
4日前
積水化学工業株式会社
集合継手
6日前
積水化学工業株式会社
更生管の製管装置
4日前
積水化学工業株式会社
防食用粘着テープ
6日前
積水化学工業株式会社
配管構造及びプレハブ配管
3日前
積水化学工業株式会社
配管構造及びプレハブ配管
3日前
積水化学工業株式会社
軒樋支持具および雨樋システム
3日前
積水化学工業株式会社
粒体、地盤改良材及び地盤改良方法
6日前
積水化学工業株式会社
集合継手および継手構造
3日前
積水化学工業株式会社
フレキシブルGHLC素子用シール剤
3日前
積水化学工業株式会社
排水口用保護具及びルーフドレーンの施工方法
3日前
積水化学工業株式会社
調光素子用シール剤、硬化性樹脂組成物の調光素子用シール剤としての使用、調光素子、及び、合わせガラス
4日前
積水化学工業株式会社
区画貫通処理構造、区画貫通処理材及び区画貫通処理構造の施工方法
6日前
積水化学工業株式会社
ポリオール組成物、難燃性ウレタン樹脂組成物、及びポリウレタン発泡体
6日前
個人
留め具
6日前
個人
鍋虫ねじ
1か月前
個人
回転伝達機構
2か月前
個人
紛体用仕切弁
1か月前
個人
ホース保持具
6か月前
個人
差動歯車用歯形
3か月前
個人
トーションバー
6か月前
個人
給排気装置
13日前
個人
ジョイント
1か月前
個人
ナット
1か月前
株式会社不二工機
電磁弁
5か月前
株式会社不二工機
電磁弁
3か月前
個人
ボルトナットセット
7か月前
個人
地震の揺れ回避装置
2か月前
個人
吐出量監視装置
1か月前
カヤバ株式会社
緩衝器
3か月前
カヤバ株式会社
緩衝器
3か月前
カヤバ株式会社
緩衝器
7か月前
カヤバ株式会社
緩衝器
12日前
カヤバ株式会社
ダンパ
3か月前
カヤバ株式会社
ダンパ
3か月前
柿沼金属精機株式会社
分岐管
2か月前
続きを見る
他の特許を見る