TOP
|
特許
|
意匠
|
商標
特許ウォッチ
Twitter
他の特許を見る
公開番号
2025144304
公報種別
公開特許公報(A)
公開日
2025-10-02
出願番号
2024044022
出願日
2024-03-19
発明の名称
遺伝子導入方法
出願人
積水化学工業株式会社
代理人
個人
,
個人
,
個人
,
個人
主分類
C12N
15/87 20060101AFI20250925BHJP(生化学;ビール;酒精;ぶどう酒;酢;微生物学;酵素学;突然変異または遺伝子工学)
要約
【課題】高い生存率で標的細胞にmRNAを導入できる遺伝子導入方法の提供。
【解決手段】インビトロで転写したmRNAを標的細胞に接触させる接触工程と、前記mRNAを前記標的細胞に導入する導入工程と、前記標的細胞にプラズマを照射するプラズマ照射工程と、含む、遺伝子導入方法。前記プラズマを照射する工程が、前記mRNAを前記標的細胞に導入する工程の前に行われてもよい。
【選択図】なし
特許請求の範囲
【請求項1】
インビトロで転写したmRNAを標的細胞に接触させる接触工程と、
前記mRNAを前記標的細胞に導入する導入工程と、
前記標的細胞にプラズマを照射するプラズマ照射工程と、
を含む、遺伝子導入方法。
続きを表示(約 660 文字)
【請求項2】
前記プラズマ照射工程が、前記導入工程の前に行われる、請求項1に記載の遺伝子導入方法。
【請求項3】
前記導入工程において、前記標的細胞が前記mRNAで一過的に形質転換される、請求項1又は2に記載の遺伝子導入方法。
【請求項4】
前記標的細胞が、血液由来細胞、接着細胞、及びiPS細胞からなる群から選択される少なくとも1種である、請求項1又は2に記載の遺伝子導入方法。
【請求項5】
前記血液由来細胞がCD3陽性細胞を含む、請求項4に記載の遺伝子導入方法。
【請求項6】
前記CD3陽性細胞がT細胞を含む、請求項5に記載の遺伝子導入方法。
【請求項7】
前記接着細胞がHEK293細胞、造血幹細胞、間葉系幹細胞及び脂肪由来幹細胞からなる群から選択される1種を含む、請求項4に記載の遺伝子導入方法。
【請求項8】
前記mRNAがキメラ抗原受容体をコードする核酸配列を含む、請求項1又は2に記載の遺伝子導入方法。
【請求項9】
前記キメラ抗原受容体をコードする核酸配列は、細胞外ドメイン、膜貫通ドメイン、共刺激シグナル伝達領域、及びCD3ζシグナル伝達ドメインの少なくとも一つをコードする核酸配列である、請求項8に記載の遺伝子導入方法。
【請求項10】
前記細胞外ドメインが、抗原結合部分を含む、請求項9に記載の遺伝子導入方法。
(【請求項11】以降は省略されています)
発明の詳細な説明
【技術分野】
【0001】
本発明は、遺伝子導入方法に関する。
続きを表示(約 2,200 文字)
【背景技術】
【0002】
ヒトゲノム及びマウスゲノムの解読がなされ、医学又は薬学等の分野において、分子生物学関連の研究開発又は医薬品開発を行なう際に、DNA若しくはRNA等のポリヌクレオチド又はその誘導体、シグナル伝達タンパク質若しくは転写調節因子等のタンパク質又はその誘導体等の高分子化合物、低分子生理活性物質、又は薬剤候補品等の分子を標的細胞内に導入し、標的細胞内での遺伝子の機能又は生理活性分子の生理的な活性を試験する必要が増している。
【0003】
標的細胞に遺伝子を導入する方法は、化学的手法、物理的手法、及び生物学的手法の大きく3つの手法がある。化学的手法は、カチオンポリマー、カチオン脂質、又はリン酸カルシウム等のトランスフェクション試薬を用いて、エンドサイトーシスにより遺伝子を標的細胞に取り込ませる手法である。物理的手法は、マイクロインジェクション、ソノポレーション、レーザー照射、又はエレクトロポレーション等の物理的操作により遺伝子を標的細胞に直接導入する手法である。生物学的手法は、レトロウイルス、レンチウイルス、アデノ随伴ウイルス(AAV)、又はアデノウイルス等のウイルスベクターを用い、ウイルスの感染能力によりウイルス粒子内の核酸を標的細胞内に移行させる手法である。
【0004】
非特許文献1は、T細胞へのCAR-mRNA導入をエレクトロポレーション法により行うことを開示している。
【先行技術文献】
【非特許文献】
【0005】
非特許文献1:R. Kitte et al., Lipid nanoparticles outperform electroporation in mRNA-based CAR T cell engineering, Mol. Ther. Methods Clin. Dev., Oct. 18, 2023
【発明の概要】
【発明が解決しようとする課題】
【0006】
非特許文献1が開示するエレクトロポレーション法でmRNAを細胞に導入する場合、細胞の生存率が低いことがある。
【0007】
本発明は、高い生存率で標的細胞にmRNAを導入できる遺伝子導入方法を提供することを課題とする。
【課題を解決するための手段】
【0008】
本発明は、以下の態様を包含する。
[1] インビトロで転写したmRNAを標的細胞に接触させる接触工程と、前記mRNAを前記標的細胞に導入する導入工程と、前記標的細胞に、プラズマを照射するプラズマ照射工程と、を含む、遺伝子導入方法。
[2] 前記プラズマ照射工程が、前記導入工程の前に行われる、[1]に記載の遺伝子導入方法。
[3] 前記導入工程において、前記標的細胞が前記mRNAで一過的に形質転換される、[1]又は[2]に記載の遺伝子導入方法。
[4] 前記標的細胞が、血液由来細胞、接着細胞、及びiPS細胞からなる群から選択される少なくとも1種である、[1]~[3]のいずれか一項に記載の遺伝子導入方法。
[5] 前記血液由来細胞がCD3陽性細胞を含む、[4]に記載の遺伝子導入方法。
[6] 前記CD3陽性細胞がT細胞を含む、[5]に記載の遺伝子導入方法。
[7] 前記接着細胞がHEK293F細胞、造血幹細胞、間葉系幹細胞及び脂肪由来幹細胞からなる群から選択される1種を含む、[4]~[6]のいずれか一項に記載の遺伝子導入方法。
[8] mRNAがキメラ抗原受容体をコードする核酸配列を含む、[1]又は[2]に記載の遺伝子導入方法。
[9] 前記キメラ抗原受容体をコードする核酸配列は、細胞外ドメイン、膜貫通ドメイン、共刺激シグナル伝達領域、及びCD3ζシグナル伝達ドメインの少なくとも一つをコードする核酸配列である、[8]に記載の遺伝子導入方法。
[10] 前記細胞外ドメインが、抗原結合部分を含む、[9]に記載の遺伝子導入方法。
[11] 前記抗原結合部分が、腫瘍抗原に結合する、[10]に記載の遺伝子導入方法。
[12] 前記腫瘍抗原が、乳がん、肺がん、前立腺がん、卵巣がん、脳がん、肝臓がん、子宮頚がん、結腸がん、腎臓がん、皮膚がん、頭頸部がん、骨がん、食道がん、膀胱がん、子宮がん、リンパ性がん、胃がん、膵臓がん、精巣がん、白血病、急性リンパ性白血病、急性骨髄性白血病、慢性リンパ性白血病、慢性骨髄性白血病、及びマントル細胞リンパ腫からなる群から選択される1種である、[11]に記載の遺伝子導入方法。
【発明の効果】
【0009】
本発明によれば、高い生存率で標的細胞にmRNAを導入できる遺伝子導入方法を提供することができる。
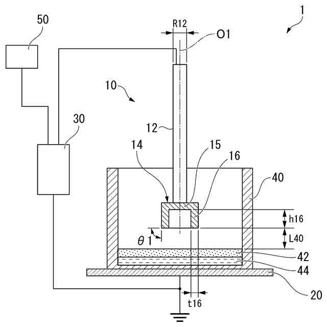
【図面の簡単な説明】
【0010】
本発明の遺伝子導入方法に用いることができる遺伝子導入装置の断面図である。
図1の照射体14の断面図である。
実験例1~2のフローサイトメーターによる測定結果を示すグラフである。
【発明を実施するための形態】
(【0011】以降は省略されています)
この特許をJ-PlatPat(特許庁公式サイト)で参照する
関連特許
個人
抗遺伝子劣化装置
1か月前
個人
細胞内探査とその利用
1か月前
杏林製薬株式会社
核酸検出用PCR溶液
4か月前
日本バイリーン株式会社
細胞用支持基材
3か月前
個人
細胞培養容器
3か月前
東洋紡株式会社
改変型RNAポリメラーゼ
3か月前
テルモ株式会社
吐出デバイス
29日前
サッポロビール株式会社
飲料
3か月前
株式会社タクマ
バイオマス処理装置
2か月前
株式会社タクマ
バイオマス処理装置
2か月前
日油株式会社
蛋白質安定化剤
3か月前
株式会社東洋新薬
経口組成物
1か月前
テルモ株式会社
容器蓋デバイス
29日前
宝酒造株式会社
アルコール飲料
8日前
東ソー株式会社
pH応答性マイクロキャリア
1か月前
大陽日酸株式会社
培養装置
1か月前
大陽日酸株式会社
培養装置
1か月前
株式会社ファンケル
SEC12タンパク発現促進剤
2か月前
トヨタ自動車株式会社
バイオ燃料製造方法
26日前
株式会社東海ヒット
灌流培養ユニット
3か月前
株式会社豊田中央研究所
細胞励起装置
6日前
オンキヨー株式会社
浸漬酒の製造方法、及び、浸漬酒
3か月前
アサヒビール株式会社
柑橘風味アルコール飲料
3か月前
アサヒビール株式会社
柑橘風味アルコール飲料
3か月前
個人
ナノ微粒子の製造方法
3か月前
テルモ株式会社
採取組織細切補助デバイス
29日前
株式会社シャローム
スフィンゴミエリン製造方法
1か月前
横河電機株式会社
藻類培養装置
18日前
株式会社今宮
瓶詰ビールの加熱殺菌方法および装置
1か月前
公立大学法人北九州市立大学
微生物の検知方法
1か月前
住友金属鉱山株式会社
連続発酵方法及び連続発酵装置
1か月前
株式会社ショウワ
キトサンオリゴマー分画方法
8日前
花王株式会社
リパーゼ変異体
3か月前
株式会社日本触媒
スフェロイドの輸送方法
4日前
池田食研株式会社
抗疲労用組成物
3か月前
積水化学工業株式会社
遺伝子導入方法
5日前
続きを見る
他の特許を見る