TOP
|
特許
|
意匠
|
商標
特許ウォッチ
Twitter
他の特許を見る
10個以上の画像は省略されています。
公開番号
2025147905
公報種別
公開特許公報(A)
公開日
2025-10-07
出願番号
2024048410
出願日
2024-03-25
発明の名称
螺旋管の製管装置
出願人
積水化学工業株式会社
代理人
弁理士法人湧泉特許事務所
主分類
B29C
63/32 20060101AFI20250930BHJP(プラスチックの加工;可塑状態の物質の加工一般)
要約
【課題】製管装置によって帯状部材から螺旋管を製管する際に、製管装置の駆動ローラの回転駆動によって帯状部材が損傷を受けるのを防止する。
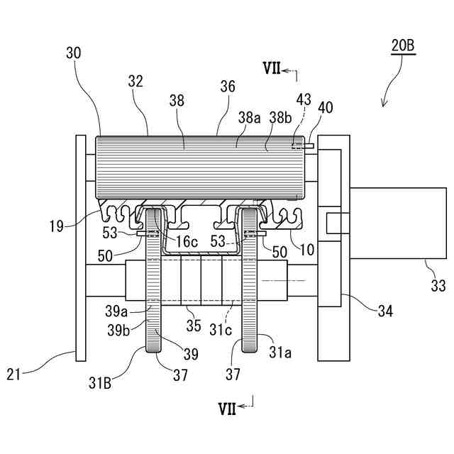
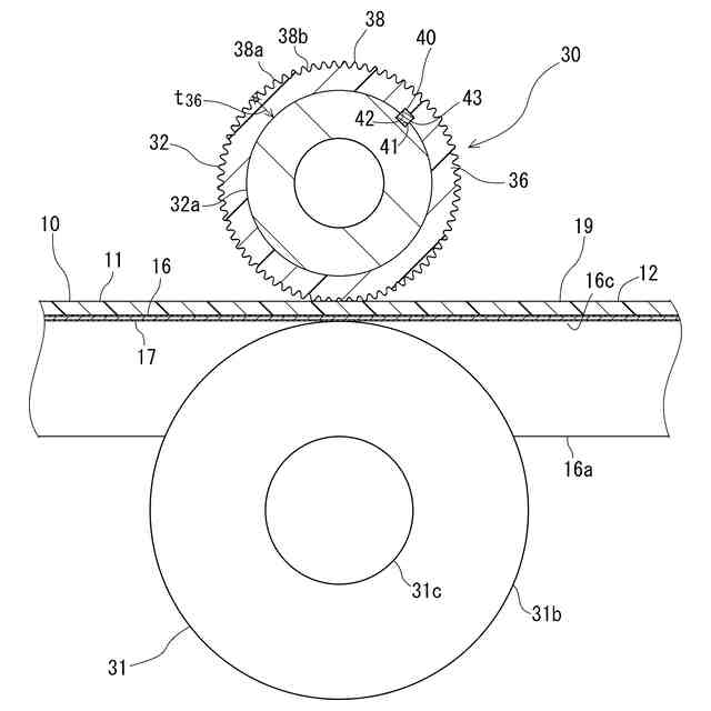
【解決手段】製管装置20は、帯状部材10における先行して製管された先行管部9の管端部9eに続く未製管の後続帯部19の外周側部と接するアウターローラ31と、後続帯部19の内周側面と接するインナーローラ32を含む。これらローラ31,32によって後続帯部19を挟み付ける。駆動モータ33によって、アウターローラ31及びインナーローラ32の少なくとも一方からなる駆動ローラ32を回転駆動させる。駆動ローラ32は、駆動モータ33とトルク伝達可能に接続された金属からなるローラ本体32aと、ローラ本体32aの外周に被さる樹脂又はゴムからなる環状のローラ外周部材36を含む。
【選択図】 図5
特許請求の範囲
【請求項1】
螺旋状に巻回された帯状部材の一周違いの対向する縁部どうしを嵌合させることによって螺旋管を製管する製管装置であって、
前記帯状部材の外周側部と接するアウターローラと、
前記帯状部材の内周側面と接し、前記アウターローラと協働して前記帯状部材を挟み付けるインナーローラと、
前記アウターローラ及びインナーローラの少なくとも一方からなる駆動ローラを回転駆動させる駆動モータと、
を備え、前記駆動ローラが、
前記駆動モータとトルク伝達可能に接続された金属からなるローラ本体と、
前記ローラ本体の外周に被さる樹脂又はゴムからなる環状のローラ外周部材と、
を含むことを特徴とする螺旋管の製管装置。
続きを表示(約 400 文字)
【請求項2】
前記アウターローラが前記駆動モータと非接続の従動ローラであり、前記インナーローラが前記駆動ローラである請求項1に記載の製管装置。
【請求項3】
前記ローラ外周部材の外周面には凹凸パターンが形成されている請求項1に記載の製管装置。
【請求項4】
前記凹凸パターンが、ローレットである請求項3に記載の製管装置。
【請求項5】
前記ローラ外周部材が、回り止め手段によって前記ローラ本体に対して回り止めされている請求項1~4の何れか1項に記載の製管装置。
【請求項6】
前記アウターローラが、ローラシャフトと、該ローラシャフトの外周に互いに離れて設けられた複数の円盤状のローラ部とを有し、隣接するローラ部どうし間のローラシャフトの外周には1又は複数の環状スペーサが設けられている請求項1~4の何れか1項に記載の製管装置。
発明の詳細な説明
【技術分野】
【0001】
本発明は、帯状部材から螺旋管を製管する製管装置に関し、特に、老朽化した既設管の更生に適した螺旋管製管装置に関する。
続きを表示(約 2,100 文字)
【背景技術】
【0002】
老朽化した下水管などの既設管の内周に更生管をライニングすることによって、既設管を更生させる方法は公知である(特許文献1、2等参照)。更生管は、例えば長尺の帯状部材(プロファイル)を螺旋状に巻回してなる螺旋管によって構成されている。帯状部材としては、例えば合成樹脂製の帯本体の外周側部(製管されたとき螺旋管(更生管)の外周側を向く側部)にスチール製の補強帯材を設けたものが知られている。さらに、補強帯材の表面が樹脂層によって被覆された帯状部材が知られている。
【0003】
更生管(螺旋管)は、製管機によって製管される。この種の製管機は、帯状部材の外周側部と接するアウターローラと、帯状部材の内周側面と接するインナーローラと、アウターローラに接続された駆動モータを備えている。通常、アウターローラの外周面には、ローレットなどの凹凸パターンが形成されている。アウターローラ及びインナーローラによって帯状部材における未製管の後続帯部を挟み付け、かつ駆動モータによる回転駆動によって、後続帯部を先行して製管済の先行管部の管端部へ送り込む。これによって、後続帯部が先行管部に組み込まれて新たな管端部となり、螺旋管が延伸製管される。
【先行技術文献】
【特許文献】
【0004】
特開2021-053842号公報
特開2022-034908号公報
【発明の概要】
【発明が解決しようとする課題】
【0005】
この種の製管装置においては、アウターローラ等の駆動ローラの回転駆動によって帯状部材が損傷を受けることがあった。例えば、被覆樹脂層を含む補強帯材付きの帯状部材においては、被覆樹脂層が削れることがあった。そうすると、アウターローラが空転して製管が停止する等の施工トラブルが起きることがあった。また、補強帯材のスチールがむき出しになり、錆が発生することがあった。
本発明は、かかる事情に鑑み、製管装置によって帯状部材から螺旋管を製管する際に、駆動ローラの回転駆動によって帯状部材が損傷を受けるのを防止することを目的とする。
【課題を解決するための手段】
【0006】
前記課題を解決するため、本発明は、螺旋状に巻回された帯状部材の一周違いの対向する縁部どうしを嵌合させることによって螺旋管を製管する製管装置であって、
前記帯状部材の外周側部と接するアウターローラと、
前記帯状部材の内周側面と接し、前記アウターローラと協働して前記帯状部材を挟み付けるインナーローラと、
前記アウターローラ及びインナーローラの少なくとも一方からなる駆動ローラを回転駆動させる駆動モータと、
を備え、前記駆動ローラが、
前記駆動モータとトルク伝達可能に接続された金属からなるローラ本体と、
前記ローラ本体の外周に被さる樹脂又はゴムからなる環状のローラ外周部材と、
を含むことを特徴とする。
【0007】
当該製管装置においては、駆動モータの回転トルクが、アウターローラ及びインナーローラの少なくとも1つからなる駆動ローラに伝達されて、駆動ローラが回転駆動される。これによって、螺旋状に巻回された帯状部材の一周違いの対向する縁部どうしが嵌合され、螺旋管の製管が進む。
アウターローラ及びインナーローラのうち駆動ローラにおいては、樹脂又はゴムからなるローラ外周部材が帯状部材と接する。金属からなるローラ本体が帯状部材と直接接触することはない。したがって、駆動ローラによる帯状部材の損傷を抑制できる。
アウターローラ及びインナーローラのうち駆動ローラと非接続の従動ローラは、帯状部材の送りに伴って従動回転される。したがって、従動ローラの金属部が帯状部材と接していたとしても、帯状部材が損傷するのを抑制できる。
【0008】
好ましくは、前記アウターローラが前記駆動モータと非接続の従動ローラであり、前記インナーローラが前記駆動ローラである。
駆動ローラであるインナーローラの外周部が、樹脂又はゴム製のローラ外周部材によって構成されていることで、帯状部材の内周側面が損傷するのを抑制できる。ひいては、更生管の内周面の損傷を抑制できる。
【0009】
好ましくは、前記ローラ外周部材の外周面には凹凸パターンが形成されている。
これによって、ローラ外周部材ひいては駆動ローラの外周面と帯状部材との接触面積を増大させることがでる。したがって、帯状部材の損傷を確実に防止できる。また、駆動ローラの駆動力を帯状部材に確実に伝達でき、螺旋管の製管を確実に行なうことができる。言い換えると、駆動力伝達のためにアウターローラ及びインナーローラによって帯状部材を強く挟み込む必要がないから、帯状部材の損傷を一層確実に防止できる。
【0010】
好ましくは、前記凹凸パターンは、ローレットである。ローレットとしては、平目ローレット、斜めローレット、綾目ローレット等が挙げられる。
(【0011】以降は省略されています)
この特許をJ-PlatPat(特許庁公式サイト)で参照する
関連特許
積水化学工業株式会社
複層管
7日前
積水化学工業株式会社
段ボール
15日前
積水化学工業株式会社
耐火処理構造
1日前
積水化学工業株式会社
耐火処理構造
1日前
積水化学工業株式会社
遺伝子導入方法
8日前
積水化学工業株式会社
螺旋管の製管装置
3日前
積水化学工業株式会社
螺旋管の製管装置
3日前
積水化学工業株式会社
更生管の製管方法
1日前
積水化学工業株式会社
熱伝導性樹脂組成物
7日前
積水化学工業株式会社
生産管理システムおよび方法
1日前
積水化学工業株式会社
生産管理システムおよび方法
1日前
積水化学工業株式会社
膜付き基材の製造方法及び粉体
3日前
積水化学工業株式会社
継手、配管構造、配管の施工方法
1日前
積水化学工業株式会社
プログラム及び情報処理システム
3日前
積水化学工業株式会社
メタサーフェスシート及び窓構造
3日前
積水化学工業株式会社
接着性樹脂組成物、及び、仮固定材
3日前
積水化学工業株式会社
区画貫通処理構造及び区画貫通処理材
8日前
積水化学工業株式会社
区画貫通処理構造及び区画貫通処理材
8日前
積水化学工業株式会社
区画貫通処理構造及び区画貫通処理材
8日前
積水化学工業株式会社
鉄道用枕木、及び鉄道用枕木の製造方法
1日前
積水化学工業株式会社
支持部材、蓄電設備及び蓄電設備付き建物
11日前
積水化学工業株式会社
樹脂材料、硬化物及び多層プリント配線板
1日前
積水化学工業株式会社
樹脂材料、硬化物及び多層プリント配線板
1日前
積水化学工業株式会社
情報処理システム、情報処理方法及びプログラム
3日前
積水化学工業株式会社
情報処理システム、情報処理方法及びプログラム
3日前
積水化学工業株式会社
センサ一体型電磁誘導ケーブル及び電磁誘導システム
11日前
積水化学工業株式会社
管継手
21日前
積水化学工業株式会社
樹脂材料、積層フィルム、硬化物及び多層プリント配線板
15日前
積水化学工業株式会社
粘着テープ
7日前
積水化学工業株式会社
フラットデッキ、防火区画構造及びフラットデッキの製造方法
1日前
積水化学工業株式会社
情報処理システム、情報処理方法、プログラム及び情報処理装置
3日前
積水化学工業株式会社
ポリオール組成物、不燃性ウレタン樹脂組成物、及びポリウレタン発泡体
1日前
積水化学工業株式会社
ポリオール組成物、難燃性ウレタン樹脂組成物、及びポリウレタン発泡体
1日前
積水化学工業株式会社
ポリオール組成物、難燃性ウレタン樹脂組成物、及びポリウレタン発泡体
1日前
積水化学工業株式会社
ポリオール液剤、ウレタン組成物、ポリウレタンフォーム及び金属フレーム
1日前
積水化学工業株式会社
還元剤およびガスの製造方法
15日前
続きを見る
他の特許を見る