TOP
|
特許
|
意匠
|
商標
特許ウォッチ
Twitter
他の特許を見る
10個以上の画像は省略されています。
公開番号
2025148182
公報種別
公開特許公報(A)
公開日
2025-10-07
出願番号
2024048810
出願日
2024-03-25
発明の名称
情報処理システム、情報処理方法、プログラム及び情報処理装置
出願人
積水化学工業株式会社
代理人
弁理士法人IPX
主分類
G16H
50/00 20180101AFI20250930BHJP(特定の用途分野に特に適合した情報通信技術)
要約
【課題】対象者の外観に関する画像に基づき認知機能に関する指標を出力するための情報処理システム、情報処理方法、プログラム及び情報処理装置を提供する。
【解決手段】情報処理装置2と、医療者端末3と、集音装置4と、フロントカメラ51及びサイドカメラ52とを備える撮像システム5とが、電気通信回線を通じて通信可能な情報処理システム1において、情報処理装置2は、通信バスと、通信部と、記憶部と、少なくとも1つのプロセッサと、を備える。少なくとも1つのプロセッサは、対象者の属性に関する属性情報と、対象者の顔の少なくとも一部を含む画像に関する画像情報とを取得する取得ステップと、画像情報と属性情報とに基づき、対象者の認知機能の状態を示す指標を出力する状態出力ステップと、を含むプログラムを実行する。
【選択図】図1
特許請求の範囲
【請求項1】
情報処理システムであって、
少なくとも1つのプロセッサを備え、
前記プロセッサは、次の各ステップがなされるようにプログラムを実行するように構成され、
取得ステップでは、対象者の属性に関する属性情報と、前記対象者の顔の少なくとも一部を含む画像に関する画像情報とを取得し、
状態出力ステップでは、前記画像情報と前記属性情報とに基づき、前記対象者の認知機能の状態を示す指標を出力する、システム。
続きを表示(約 750 文字)
【請求項2】
請求項1に記載の情報処理システムにおいて、
前記画像は、前記対象者の目又は口に対応する領域を含む、システム。
【請求項3】
請求項1に記載の情報処理システムにおいて、
前記属性情報は、前記対象者の生活環境または生活習慣に関する情報を含む、システム。
【請求項4】
請求項3に記載の情報処理システムにおいて、
前記対象者の生活環境または生活習慣に関する情報は、前記対象者の喫煙に関する情報を含む、システム。
【請求項5】
請求項1に記載の情報処理システムにおいて、
前記属性情報は、前記対象者の出生に関する情報を含む、システム。
【請求項6】
請求項1に記載の情報処理システムにおいて、
前記属性情報は、前記対象者の病歴に関する情報を含む、システム。
【請求項7】
請求項6に記載の情報処理システムにおいて、
前記対象者の病歴に関する情報は、前記対象者に対して行われた整形処置に関する情報を含む、システム。
【請求項8】
請求項1に記載の情報処理システムにおいて、
前記属性情報は、前記対象者の口腔内の状態に関する情報を含む、システム。
【請求項9】
請求項8に記載の情報処理システムにおいて、
前記対象者の口腔内の状態に関する情報は、前記対象者の残存歯に関する情報を含む、システム。
【請求項10】
請求項1に記載の情報処理システムにおいて、
属性抽出ステップでは、前記画像情報に基づき、前記属性情報の少なくとも一部を抽出する、システム。
(【請求項11】以降は省略されています)
発明の詳細な説明
【技術分野】
【0001】
本発明は、情報処理システム、情報処理方法、プログラム及び情報処理装置に関する。
続きを表示(約 1,600 文字)
【背景技術】
【0002】
特許文献1には、容易な測定により認知症などの脳機能疾患の診断に有用な情報を提供する診断支援情報提供装置が開示されている。
【0003】
診断支援情報提供装置において、顔向き測定部は、時系列の画像データそれぞれにおける被検者の顔向きを測定する。変化量算出部は、顔向き測定部が測定した顔向きに基づいて、時系列の顔向き変化量を算出する。診断支援情報生成部は、所定期間において顔向き変化量が所定値以下であった割合を変化量算出部が算出した顔向き変化量に基づいて算出し、算出結果を示す診断支援情報を生成する。出力部は、診断支援情報生成部が生成した診断支援情報を出力する。
【先行技術文献】
【特許文献】
【0004】
特開2019-055064号公報
【発明の概要】
【発明が解決しようとする課題】
【0005】
しかし、対象者の外観に関する画像に基づき認知機能に関する指標を出力するための技術には、未だ改善の余地がある。
【課題を解決するための手段】
【0006】
本発明の一態様によれば、情報処理システムが提供される。この情報処理システムは、少なくとも1つのプロセッサを備える。プロセッサは、次の各ステップがなされるようにプログラムを実行するように構成される。取得ステップでは、対象者の属性に関する属性情報と、対象者の顔の少なくとも一部を含む画像に関する画像情報とを取得する。状態出力ステップでは、画像情報と属性情報とに基づき、対象者の認知機能の状態を示す指標を出力する。
【0007】
このような構成によれば、より精度良く認知機能に関する指標を出力することができる。
【図面の簡単な説明】
【0008】
情報処理システム1の一例を表す構成図である。
情報処理装置2のハードウェア構成の一例を示すブロック図である。
医療者端末3のハードウェア構成の一例を示すブロック図である。
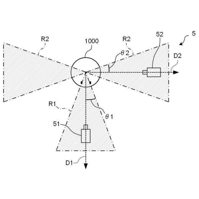
撮像システム5のセットアップの一例を示す平面図である。
撮像システム5のセットアップの別例を示す図である。
情報処理システム1において実行される情報処理の流れの一例を示すアクティビティ図である。
正常群と認知機能の低下が見られる群のそれぞれの見た目年齢と認知機能の低下度合いとを、喫煙の有無ごとにプロットした散布図の一例である。
フロントカメラ51によって撮像される画像である、正面画像6の一例を示す図である。
サイドカメラ52によって撮像される画像である、側面画像7の一例を示す図である。
医療者端末3の表示部34に表示される評価結果表示画面8の一例を示している。
対象者1000にタスクを実行させる場合における情報処理の流れの一例を示すアクティビティ図である。
タスクを提示するための画面の一例である、録音画面9を示す図である。
【発明を実施するための形態】
【0009】
以下、図面を用いて本発明の実施形態について説明する。以下に示す実施形態中で示した各種特徴事項は、互いに組み合わせ可能である。
【0010】
ところで、一実施形態に登場するソフトウェアを実現するためのプログラムは、コンピュータが読み取り可能な非一時的な記録媒体(Non-Transitory Computer-Readable Medium)として提供されてもよいし、外部のサーバからダウンロード可能に提供されてもよいし、外部のコンピュータで当該プログラムを起動させてクライアント端末でその機能を実現(いわゆるクラウドコンピューティング)するように提供されてもよい。
(【0011】以降は省略されています)
この特許をJ-PlatPat(特許庁公式サイト)で参照する
関連特許
積水化学工業株式会社
樹脂管
3日前
積水化学工業株式会社
複層管
10日前
積水化学工業株式会社
段ボール
18日前
積水化学工業株式会社
解析方法
3日前
積水化学工業株式会社
配管構造
3日前
積水化学工業株式会社
積層構造体
3日前
積水化学工業株式会社
耐火処理構造
4日前
積水化学工業株式会社
耐火処理構造
4日前
積水化学工業株式会社
遺伝子導入方法
11日前
積水化学工業株式会社
両面粘着テープ
3日前
積水化学工業株式会社
両面粘着テープ
3日前
積水化学工業株式会社
螺旋管の製管装置
6日前
積水化学工業株式会社
更生管の製管方法
4日前
積水化学工業株式会社
螺旋管の製管装置
6日前
積水化学工業株式会社
熱伝導性樹脂組成物
10日前
積水化学工業株式会社
樹脂組成物、放熱部材
3日前
積水化学工業株式会社
継手構造および接続構造
3日前
積水化学工業株式会社
床の施工方法及び建築物
3日前
積水化学工業株式会社
集合継手及び排水システム
3日前
積水化学工業株式会社
生産管理システムおよび方法
4日前
積水化学工業株式会社
生産管理システムおよび方法
4日前
積水化学工業株式会社
膜付き基材の製造方法及び粉体
6日前
積水化学工業株式会社
プログラム及び情報処理システム
6日前
積水化学工業株式会社
メタサーフェスシート及び窓構造
6日前
積水化学工業株式会社
継手、配管構造、配管の施工方法
4日前
積水化学工業株式会社
集合継手及び集合継手の製造方法
3日前
積水化学工業株式会社
接着性樹脂組成物、及び、仮固定材
6日前
積水化学工業株式会社
マスターバッチ、及びその製造方法
3日前
積水化学工業株式会社
防火区画貫通処理部材及び防火区画材
3日前
積水化学工業株式会社
区画貫通処理構造及び区画貫通処理材
11日前
積水化学工業株式会社
区画貫通処理構造及び区画貫通処理材
11日前
積水化学工業株式会社
区画貫通処理構造及び区画貫通処理材
11日前
積水化学工業株式会社
鉄道用枕木、及び鉄道用枕木の製造方法
4日前
積水化学工業株式会社
防火区画貫通処理シート及び防火区画材
3日前
積水化学工業株式会社
支持部材、蓄電設備及び蓄電設備付き建物
14日前
積水化学工業株式会社
樹脂材料、硬化物及び多層プリント配線板
4日前
続きを見る
他の特許を見る