TOP
|
特許
|
意匠
|
商標
特許ウォッチ
Twitter
他の特許を見る
10個以上の画像は省略されています。
公開番号
2025144374
公報種別
公開特許公報(A)
公開日
2025-10-02
出願番号
2024044120
出願日
2024-03-19
発明の名称
区画貫通処理構造及び区画貫通処理材
出願人
積水化学工業株式会社
代理人
個人
,
個人
主分類
E04B
1/94 20060101AFI20250925BHJP(建築物)
要約
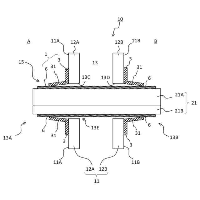
【課題】耐火性能のバラつきを低減し、かつ耐火性能を向上させることができる区画貫通処理構造及び区画貫通処理材を提供する。
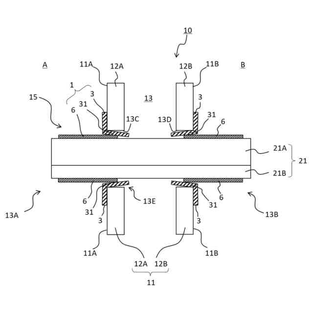
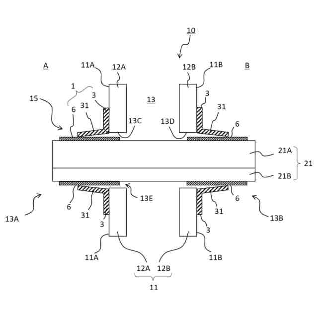
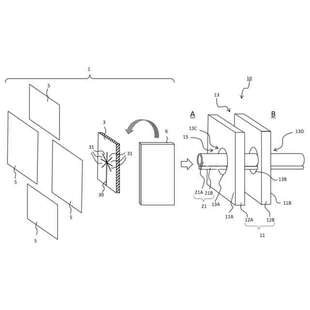
【解決手段】建築物の仕切り部11に形成され、かつ内部に長尺の挿通体21が挿通される区画貫通部15を耐火構造とする区画貫通処理構造10であって、仕切り部11の内部に少なくとも一部が存在し、仕切り部11に設けられる区画貫通部15の開口13Cと挿通体21との間の間隙の少なくとも一部を塞ぐテープ状部材6と、仕切り部11に設けられる区画貫通部15の開口13Cと挿通体21との間の間隙の少なくとも一部を塞ぐシート状部材3とを備え、シート状部材3の少なくとも一部が仕切り部11の外面11A上に設置されている、区画貫通処理構造。
【選択図】図1
特許請求の範囲
【請求項1】
建築物の仕切り部に形成され、かつ内部に長尺の挿通体が挿通される区画貫通部を耐火構造とする区画貫通処理構造であって、
前記仕切り部の内部に少なくとも一部が存在し、前記仕切り部に設けられる前記区画貫通部の開口と前記挿通体との間の間隙の少なくとも一部を塞ぐテープ状部材と、
前記仕切り部に設けられる前記区画貫通部の開口と前記挿通体との間の間隙の少なくとも一部を塞ぐシート状部材とを備え、
前記シート状部材の少なくとも一部が前記仕切り部の外面上に設置されている、区画貫通処理構造。
続きを表示(約 830 文字)
【請求項2】
前記テープ状部材は、少なくとも一部が前記挿通体に接するように設置される、請求項1に記載の区画貫通処理構造。
【請求項3】
前記挿通体を内部に通して前記仕切り部の内部に配設されるスリーブを備え、
前記テープ状部材は、少なくとも一部が前記スリーブに接するように設置される、請求項1に記載の区画貫通処理構造。
【請求項4】
前記テープ状部材は、前記仕切り部の外部から内部に渡って配置されている、請求項1に記載の区画貫通処理構造。
【請求項5】
前記テープ状部材は、基材、粘着層、クッション層及び耐火材層からなる群から選ばれる少なくとも1種の層を有する、請求項1に記載の区画貫通処理構造。
【請求項6】
前記テープ状部材が、前記基材及び前記耐火材層を有する、請求項5に記載の区画貫通処理構造。
【請求項7】
前記テープ状部材は、前記粘着層又は粘着性を有する前記耐火材層が、前記挿通体及び前記挿通体を内部に通して前記仕切り部の内部に配設されるスリーブの少なくともいずれかに接するように配置されている、請求項5に記載の区画貫通処理構造。
【請求項8】
前記テープ状部材は、前記クッション層、前記粘着層、又は粘着性を有する前記耐火材層のいずれかが、前記挿通体及び前記挿通体を内部に通して前記仕切り部の内部に配設されるスリーブの少なくともいずれかに接するように配置されている、請求項5に記載の区画貫通処理構造。
【請求項9】
前記シート状部材は、基材、粘着層、クッション層及び耐火材層からなる群から選ばれる少なくとも1種の層を有する、請求項1に記載の区画貫通処理構造。
【請求項10】
前記シート状部材が、前記基材及び前記耐火材層を有する、請求項9に記載の区画貫通処理構造。
(【請求項11】以降は省略されています)
発明の詳細な説明
【技術分野】
【0001】
本発明は、建築物などの仕切り部において形成される区画貫通処理構造及び区画貫通処理材に関する。
続きを表示(約 3,600 文字)
【背景技術】
【0002】
集合住宅、オフィスビル、学校等の建築物において、壁等の仕切り部には、ケーブル類、配管類などの長尺の挿通体を通すために、区画貫通部が設けられることがある。区画貫通部は、いずれかの区画で火災が発生した際に、他の区画への延焼を防止するために、防火措置を施した構造(耐火構造)にすることが求められている。仕切り部は、2枚の壁部からなり、壁部間が中空部となっている中空壁が一般的である。
【0003】
区画貫通部を耐火構造とする方法は、例えば、長尺の挿通体と貫通孔の間隙に、耐火パテなどの不定形充填材を充填する方法が知られている。不定形充填材を使用する場合、各壁部の貫通孔内部と、挿通体の間には、耐火材よりなる筒状部材などが合わせて配設されることもある(例えば、特許文献1、2参照)。
【先行技術文献】
【特許文献】
【0004】
特許第6150933号公報
特許第6348320号公報
【発明の概要】
【発明が解決しようとする課題】
【0005】
しかしながら、区画貫通部の防火処理に不定形充填材を使用した場合、作業者によるバラつきがあり、十分な耐火性能が得られないことがある。また、躯体内に耐火材及びその付属品等を設置する場合、それらがどの程度(量や厚み、長さ等)設置されているか明確でなかったり、規定通りに設置されているか判断できなかったりすることがある。そのため、規定通りに耐火材などが設置されているか否かを確認するためには、区画貫通処理構造を破壊して、内部構造を確認する必要がある。
【0006】
また、作業者によるバラつきを低減するため、あらかじめ決められた量、及び大きさの部材が一体化されたキットがあったが、部材点数が多い傾向があり、部材紛失や設置し忘れが生じやすく、また、キットごとの梱包のため、発生するゴミが多いという問題もある。
【0007】
また、内部にケーブル類及び配管類等の長尺の挿通体が挿通される区画貫通構造においては、区画貫通処理構造を施した後に挿通体を動かした場合には、内部に設置された耐火材などが設置されていた適切な位置からずれてしまうことがある。また、地震等の外力によっても、耐火材などが設置されていた適切な位置からずれてしまうことがある。また、耐火材が均一に膨張せずに偏って膨張すると設置されていた適切な位置からずれたり、脱落したりすることがある。このように、耐火材などが設置されていた適切な位置からずれてしまうことによって、区画貫通部の耐火構造として望まれる耐火性能を発揮することが困難となる。
【0008】
そこで、本発明は、耐火性能のバラつきを低減し、かつ耐火性能を向上させることができる区画貫通処理構造及び区画貫通処理材を提供することを課題とする。
【課題を解決するための手段】
【0009】
本発明は、上記課題を解決するためになされたものであり、本発明の要旨は、以下のとおりである。
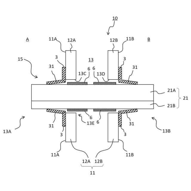
[1]建築物の仕切り部に形成され、かつ内部に長尺の挿通体が挿通される区画貫通部を耐火構造とする区画貫通処理構造であって、前記仕切り部の内部に少なくとも一部が存在し、前記仕切り部に設けられる前記区画貫通部の開口と前記挿通体との間の間隙の少なくとも一部を塞ぐテープ状部材と、前記仕切り部に設けられる前記区画貫通部の開口と前記挿通体との間の間隙の少なくとも一部を塞ぐシート状部材とを備え、前記シート状部材の少なくとも一部が前記仕切り部の外面上に設置されている、区画貫通処理構造。
[2]前記テープ状部材は、少なくとも一部が前記挿通体に接するように設置される、[1]に記載の区画貫通処理構造。
[3]前記挿通体を内部に通して前記仕切り部の内部に配設されるスリーブを備え、前記テープ状部材は、少なくとも一部が前記スリーブに接するように設置される、[1]又は[2]に記載の区画貫通処理構造。
[4]前記テープ状部材は、前記仕切り部の外部から内部に渡って配置されている、[1]~[3]のいずれかに記載の区画貫通処理構造。
[5]前記テープ状部材は、基材、粘着層、クッション層及び耐火材層からなる群から選ばれる少なくとも1種の層を有する、[1]~[4]のいずれかに記載の区画貫通処理構造。
[6]前記テープ状部材が、前記基材及び前記耐火材層を有する、[5]に記載の区画貫通処理構造。
[7]前記テープ状部材は、前記粘着層又は粘着性を有する前記耐火材層が、前記挿通体及び前記挿通体を内部に通して前記仕切り部の内部に配設されるスリーブの少なくともいずれかに接するように配置されている、[5]又は[6]に記載の区画貫通処理構造。
[8]前記テープ状部材は、前記クッション層、前記粘着層、又は粘着性を有する前記耐火材層のいずれかが、前記挿通体及び前記挿通体を内部に通して前記仕切り部の内部に配設されるスリーブの少なくともいずれかに接するように配置されている、[5]~[7]のいずれかに記載の区画貫通処理構造。
[9]前記シート状部材は、基材、粘着層、クッション層及び耐火材層からなる群から選ばれる少なくとも1種の層を有する、[1]~[8]のいずれかに記載の区画貫通処理構造。
[10]前記シート状部材が、前記基材及び前記耐火材層を有する、[9]に記載の区画貫通処理構造。
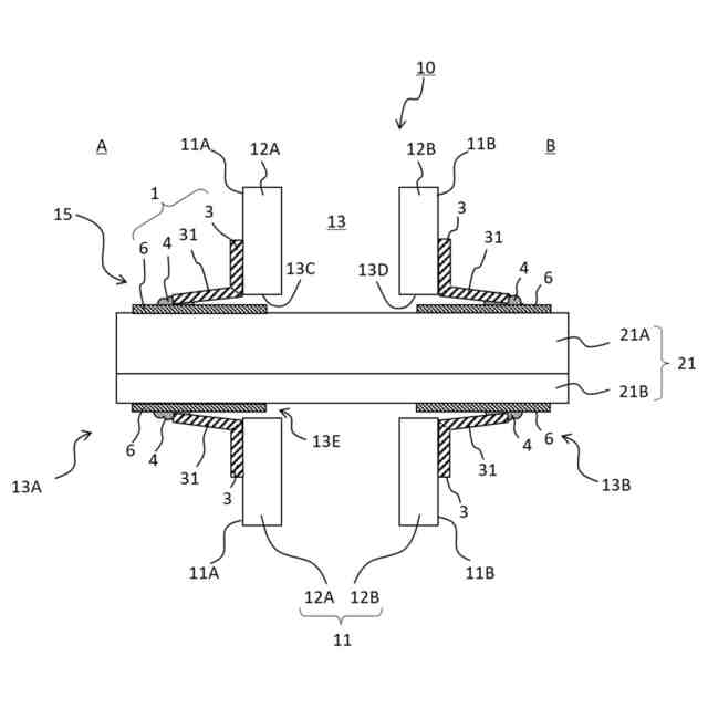
[11]前記シート状部材は、前記粘着層又は粘着性を有する前記耐火材層が、前記仕切り部、前記挿通体及び前記挿通体を内部に通して前記仕切り部の内部に配設されるスリーブの少なくともいずれかに接するように配置されている、[9]又は[10]に記載の区画貫通処理構造。
[12]前記シート状部材は、前記クッション層、前記粘着層、又は粘着性を有する前記耐火材層が、前記仕切り部、前記挿通体及び前記挿通体を内部に通して前記仕切り部の内部に配設されるスリーブの少なくともいずれかに接するように配置されている、[9]~[11]のいずれかに記載の区画貫通処理構造。
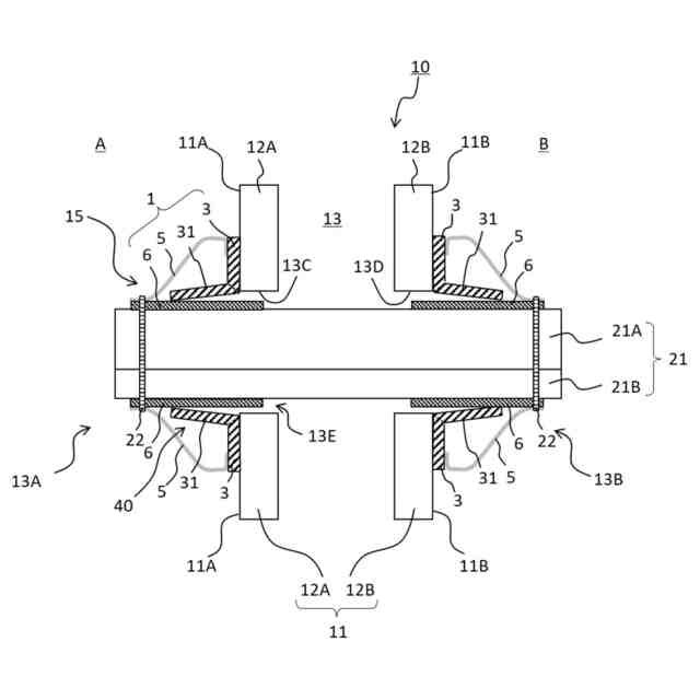
[13]前記シート状部材は、切込みによる切片を有し、前記切片が前記挿通体に沿って配置される、[1]~[12]のいずれかに記載の区画貫通処理構造。
[14]前記切片が、前記テープ状部材に接するように配置されている、[13]に記載の区画貫通処理構造。
[15]前記区画貫通部の開口と前記挿通体との間の間隙の少なくとも一部を塞ぐ耐火充填材をさらに備える、[1]~[14]のいずれかに記載の区画貫通処理構造。
[16]前記シート状部材及び前記テープ状部材が、前記仕切り部の両側に設けられる[1]~[15]のいずれかに記載の区画貫通処理構造。
[17]前記シート状部材と前記挿通体との間の間隙の少なくとも一部を塞ぐカバー部材をさらに備える、[1]~[16]のいずれかに記載の区画貫通処理構造。
[18]前記シート状部材及び前記カバー部材の少なくともいずれかが、前記粘着層又は粘着性を有する前記耐火材層、外周側から巻かれた紐状部材又は粘着テープ、外側から設置された固定部材、及び、前記カバー部材に形成された切込みによる固定片の少なくともいずれかによって、前記挿通体及び前記仕切り部に固定される、[17]に記載の区画貫通処理構造。
[19]前記シート状部材が前記カバー部材で覆われ、前記シート状部材の端面及び表面の少なくともいずれかが外部から視認可能である、[17]又は[18]に記載の区画貫通処理構造。
[20]前記シート状部材と前記カバー部材との間に空隙がある、[17]~[19]のいずれかに記載の区画貫通処理構造。
[21]建築物の仕切り部に形成され、かつ内部に長尺の挿通体が挿通される区画貫通部を耐火構造とする区画貫通処理材であって、前記仕切り部に設けられる前記区画貫通部の開口と前記挿通体との間の間隙の少なくとも一部を塞ぐシート状部材と、前記仕切り部の内部に少なくとも一部が存在し、前記仕切り部に設けられる前記区画貫通部の開口と前記挿通体との間の間隙の少なくとも一部を塞ぐテープ状部材とを備え、前記シート状部材の少なくとも一部が前記仕切り部の外面上に設置されている、区画貫通処理材。
【発明の効果】
【0010】
本発明によれば、耐火性能のバラつきを低減し、かつ耐火性能を向上させることができる区画貫通処理構造及び区画貫通処理材を提供することができる。
【図面の簡単な説明】
(【0011】以降は省略されています)
この特許をJ-PlatPat(特許庁公式サイト)で参照する
関連特許
積水化学工業株式会社
複層管
3日前
積水化学工業株式会社
段ボール
11日前
積水化学工業株式会社
遺伝子導入方法
4日前
積水化学工業株式会社
熱伝導性樹脂組成物
3日前
積水化学工業株式会社
ジオポリマー組成物
17日前
積水化学工業株式会社
区画貫通処理構造及び区画貫通処理材
4日前
積水化学工業株式会社
区画貫通処理構造及び区画貫通処理材
4日前
積水化学工業株式会社
区画貫通処理構造及び区画貫通処理材
4日前
積水化学工業株式会社
支持部材、蓄電設備及び蓄電設備付き建物
7日前
積水化学工業株式会社
螺旋管製管用スペーサおよび螺旋管製管方法
17日前
積水化学工業株式会社
センサ一体型電磁誘導ケーブル及び電磁誘導システム
7日前
積水化学工業株式会社
管継手
17日前
積水化学工業株式会社
樹脂材料、積層フィルム、硬化物及び多層プリント配線板
11日前
積水化学工業株式会社
粘着テープ
3日前
積水化学工業株式会社
樹脂管の接続装置
25日前
積水化学工業株式会社
排水部材及び雨樋
25日前
積水化学工業株式会社
成形被覆材、耐火被覆構造材、耐火被覆方法及び成形被覆材の製造方法
25日前
積水化学工業株式会社
硬化性樹脂シート、車両及び車両部品、並びに車両及び車両部品の製造方法
25日前
積水化学工業株式会社
蓄電素子ユニットの設置方法、蓄電素子ユニット及び蓄電素子ユニット組合体
10日前
積水化学工業株式会社
還元剤およびガスの製造方法
11日前
積水化学工業株式会社
蓄電素子ユニット、蓄電素子ユニット用の固定部材、及び蓄電素子ユニット付き建物
7日前
積水化学工業株式会社
ドレン部材、雨樋配管構造、及び建物
7日前
積水化学工業株式会社
合わせガラス用中間膜及び合わせガラス
3日前
積水化学工業株式会社
ドレン部材及び雨樋配管構造、建物、屋根
7日前
積水化学工業株式会社
有機物質の製造方法及び有機物質製造装置
7日前
積水化学工業株式会社
ポリオール含有組成物及び発泡性ポリウレタン組成物
今日
積水化学工業株式会社
発泡剤添加装置、吹付用発泡機、発泡剤添加方法及び発泡体製造方法
3日前
積水化学工業株式会社
区画貫通処理構造、区画貫通処理材、及び区画貫通処理構造の施工方法
11日前
積水化学工業株式会社
ポリオール組成物、発泡性ポリウレタン組成物及びポリウレタンフォーム
3日前
積水化学工業株式会社
ポリオール組成物、難燃性ウレタン樹脂組成物、及びポリウレタン発泡体
17日前
積水化学工業株式会社
蓄電素子ユニット組合体、蓄電素子ユニット組合体の設置方法、蓄電素子ユニット組合体付き建物、及び蓄電素子ユニット組合体付き建物の製造方法
4日前
個人
接合構造
今日
個人
屋台
17日前
個人
野良猫ハウス
1か月前
個人
キャチクランプ
4か月前
個人
フェンス
1か月前
続きを見る
他の特許を見る