TOP
|
特許
|
意匠
|
商標
特許ウォッチ
Twitter
他の特許を見る
10個以上の画像は省略されています。
公開番号
2025148592
公報種別
公開特許公報(A)
公開日
2025-10-07
出願番号
2025123832,2023143646
出願日
2025-07-24,2023-09-05
発明の名称
計量装置、計量システム、プログラム
出願人
株式会社寺岡精工
代理人
個人
,
個人
主分類
G01G
19/40 20060101AFI20250930BHJP(測定;試験)
要約
【課題】風袋引きが行われる計量販売を改善する。
【解決手段】計量装置は、載置台に載置された物品の質量を検出する質量検出手段と、載置台に載置された風袋に関する風袋情報を生成する風袋情報生成手段と、風袋情報と、風袋情報を管理するための管理情報と、を関連付ける関連付け手段と、風袋情報に関連付けられている管理情報のなかから一の管理情報を特定する管理情報特定手段と、商品を特定する商品特定手段とを備え、風袋情報生成手段によって風袋情報を生成する第1操作モード、又は、質量検出手段によって検出された風袋及び商品の質量と風袋情報生成手段によって生成された風袋情報であって管理情報特定手段によって特定された管理情報に関連付けられている風袋情報に含まれる風袋の質量と商品特定手段によって特定された商品の単価とに基づいて売価を算出する第2操作モードを有する。
【選択図】図1
特許請求の範囲
【請求項1】
載置台に載置された物品の質量を検出する質量検出手段と、
載置台に載置された風袋に関する風袋情報を生成する風袋情報生成手段と、
前記風袋情報生成手段によって生成された前記風袋情報と、前記風袋情報を管理するための管理情報と、を関連付ける関連付け手段と、
前記関連付け手段によって前記風袋情報に関連付けられている前記管理情報のなかから一の前記管理情報を特定する管理情報特定手段と、
商品を特定する商品特定手段と
を備え、
前記風袋情報生成手段によって前記風袋情報を生成する第1操作モード、又は、前記質量検出手段によって検出された風袋及び商品の質量と前記風袋情報生成手段によって生成された前記風袋情報であって前記管理情報特定手段によって特定された前記管理情報に関連付けられている前記風袋情報に含まれる風袋の質量と前記商品特定手段によって特定された商品の単価とに基づいて売価を算出する第2操作モードを有する
ことを特徴とする計量装置。
続きを表示(約 1,700 文字)
【請求項2】
前記関連付け手段による前記風袋情報と前記管理情報との関連付けを解除する解除手段を備え、
前記関連付け手段は、
一の取引において前記風袋情報生成手段によって生成される前記風袋情報を、他の取引において前記風袋情報生成手段によって生成された前記風袋情報と関連付けていない前記管理情報、又は、他の取引において前記風袋情報生成手段によって生成された前記風袋情報と関連付けた後に前記解除手段によって当該関連付けが解除された前記管理情報に関連付けることを特徴とする請求項1に記載の計量装置。
【請求項3】
前記風袋情報生成手段は、
一の取引において複数の風袋の夫々に対応する複数の前記風袋情報を生成し、
前記関連付け手段は、
一の取引において前記風袋情報生成手段によって生成された複数の前記風袋情報を1つの前記管理情報に関連付けることを特徴とする請求項1又は請求項2に記載の計量装置。
【請求項4】
表示手段と、
前記風袋情報に関連付けられている前記管理情報のなかから一の前記管理情報を特定する管理情報特定手段と
を備え、
前記表示手段は、
前記管理情報特定手段によって特定された前記管理情報に関連付けられている1以上の前記風袋情報を表示するとともに一の風袋の指定を受け付ける風袋指定画面を表示することを特徴とする請求項3に記載のいずれかの計量装置。
【請求項5】
載置台に載置された物品を撮像する撮像手段を備え、
前記風袋情報生成手段は、
前記質量検出手段によって検出された風袋の質量と前記撮像手段で撮像された風袋の撮像画像とを含む風袋情報を生成することを特徴とする請求項1又は請求項2に記載の計量装置。
【請求項6】
計量装置を含むシステムであって、
載置台に載置された物品の質量を検出する質量検出部と、
載置台に載置された風袋に関する風袋情報を生成する風袋情報生成部と、
前記風袋情報生成部によって生成された前記風袋情報と、前記風袋情報を管理するための管理情報と、を関連付ける関連付け部と、
前記関連付け部によって前記風袋情報に関連付けられている前記管理情報のなかから一の前記管理情報を特定する管理情報特定部と、
商品を特定する商品特定部と
を備え、
計量装置は、
前記風袋情報生成部によって前記風袋情報を生成する第1操作モード、又は、前記質量検出部によって検出された風袋及び商品の質量と前記風袋情報生成部によって生成された前記風袋情報であって前記管理情報特定部によって特定された前記管理情報に関連付けられている前記風袋情報に含まれる風袋の質量と前記商品特定部によって特定された商品の単価とに基づいて売価を算出する第2操作モードを有する
ことを特徴とする計量システム。
【請求項7】
計量装置としてコンピュータを機能させるためのプログラムであって、
前記コンピュータを、
載置台に載置された物品の質量を検出する質量検出手段、
載置台に載置された風袋に関する風袋情報を生成する風袋情報生成手段、
前記風袋情報生成手段によって生成された前記風袋情報と、前記風袋情報を管理するための管理情報と、を関連付ける関連付け手段、
前記関連付け手段によって前記風袋情報に関連付けられている前記管理情報のなかから一の前記管理情報を特定する管理情報特定手段、
商品を特定する商品特定手段
として機能させ、
前記風袋情報生成手段によって前記風袋情報を生成する第1操作モード、又は、前記質量検出手段によって検出された風袋及び商品の質量と前記風袋情報生成手段によって生成された前記風袋情報であって前記管理情報特定手段によって特定された前記管理情報に関連付けられている前記風袋情報に含まれる風袋の質量と前記商品特定手段によって特定された商品の単価とに基づいて売価を算出する第2操作モードとして機能させる
ことを特徴とするプログラム。
発明の詳細な説明
【技術分野】
【0001】
本発明は、計量装置、計量システム、プログラムに関する。
続きを表示(約 1,300 文字)
【背景技術】
【0002】
例えば、計量販売において風袋引きが行われるシステムが知られている(例えば、特許文献1参照)。
【先行技術文献】
【特許文献】
【0003】
実全昭58-172836号公報
【発明の概要】
【発明が解決しようとする課題】
【0004】
しかしながら、風袋引きが行われる計量販売には改善の余地がある。
【0005】
本発明は、このような事情に鑑みてなされたもので、その目的は、風袋引きが行われる計量販売を改善する技術を提供することにある。
【課題を解決するための手段】
【0006】
上述した課題を解決するために、本発明の一態様である計量装置は、載置台に載置された物品の質量を検出する質量検出手段と、載置台に載置された風袋に関する風袋情報を生成する風袋情報生成手段と、前記風袋情報生成手段によって生成された前記風袋情報と、前記風袋情報を管理するための管理情報と、を関連付ける関連付け手段とを備えることを特徴とする計量装置である。
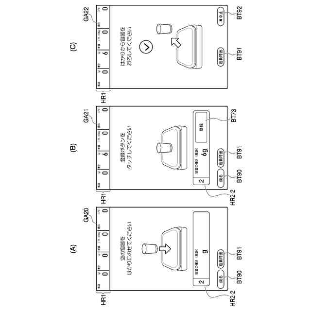
【図面の簡単な説明】
【0007】
実施形態に係る計量装置の外観の一例を示す説明図である。
計量装置の構成の一例を示す説明図である。
計量装置の表示例である。
計量装置の表示例である。
計量装置の表示例である。
計量装置の表示例である。
計量装置の表示例である。
計量装置の表示例である。
計量装置の表示例である。
計量装置の表示例である。
計量装置の表示例である。
計量装置の表示例である。
計量装置の表示例である。
計量装置の表示例である。
計量装置の表示例である。
【発明を実施するための形態】
【0008】
図1は、本発明の実施形態に係る計量装置20の外観の一例を示す説明図である。計量装置20は、計量して販売する計量販売商品(「バラ売り商品」、「計量値付け商品」と称する場合がある)を販売する店舗(スーパーマーケット、コンビニエンスストア、ドラッグストア、ホームセンタ、家電量販店等)に設置される。計量販売商品は、例えば、ナッツ、チョコレート、ドライフルーツ、調味料、酒類等の食品であるが、製品や材料等であってもよい。なお、図1の各符号については後述する(図2とともに参照する)。
【0009】
以下、計量装置20は、スーパーマーケット(店舗S)に設置されるものとして説明する。計量装置20は、店舗Sの店員、又は、店舗Sに来店(入店)した顧客によって操作される。以下の説明では、計量装置20は、セルフの装置として、基本的には(つまり、例えば店員呼出等によって店員がサポートする場合を除き)、店舗Sに来店した顧客によって操作されるものとする。
【0010】
店舗Sでは、計量販売商品に加え、計量販売商品以外の商品(例えば、バーコードが付されている商品等)も販売される。店舗Sには、計量装置20の他、例えば、レジ(登録装置、精算装置、登録精算装置等)も設置されている。
(【0011】以降は省略されています)
この特許をJ-PlatPat(特許庁公式サイト)で参照する
関連特許
株式会社寺岡精工
商品登録システム
6日前
株式会社寺岡精工
販売データ処理装置
1日前
株式会社寺岡精工
販売データ処理装置、およびプログラム
9日前
株式会社寺岡精工
精算装置、システム、およびプログラム
1か月前
株式会社寺岡精工
プログラム、携帯端末、システム、サーバ及び報知方法
1か月前
株式会社寺岡精工
プログラム、携帯端末、システム、サーバ及び報知方法
14日前
株式会社寺岡精工
販売データ処理装置、販売データ処理方法、およびプログラム
1か月前
株式会社寺岡精工
取引状況監視装置
9日前
株式会社寺岡精工
商品販売データ処理装置
6日前
株式会社寺岡精工
荷物引受装置、プログラム
1か月前
株式会社寺岡精工
POS端末、およびプログラム
1か月前
株式会社寺岡精工
商品情報処理装置、プログラム
23日前
株式会社デジアイズ
炭酸水製造装置
24日前
株式会社寺岡精工
計量装置、計量システム、プログラム
16日前
株式会社寺岡精工
情報処理システム、情報処理装置及びプログラム
20日前
株式会社寺岡精工
商品データ処理装置、商品データ処理システム、商品データ処理装置用プログラム、及び商品データ処理システム用プログラム
6日前
デジシンガポール ピーティイー リミテッド
商品販売データ処理システム、計量装置
23日前
個人
メジャー文具
16日前
個人
高精度同時多点測定装置
8日前
個人
アクセサリー型テスター
9日前
日本精機株式会社
位置検出装置
22日前
日本精機株式会社
位置検出装置
22日前
ユニパルス株式会社
ロードセル
15日前
日本精機株式会社
位置検出装置
22日前
大和製衡株式会社
組合せ秤
27日前
大和製衡株式会社
組合せ秤
27日前
アズビル株式会社
電磁流量計
2日前
アズビル株式会社
圧力センサ
21日前
トヨタ自動車株式会社
検査装置
24日前
株式会社東芝
センサ
27日前
株式会社東芝
センサ
27日前
エイブリック株式会社
磁気センサ回路
21日前
ダイキン工業株式会社
監視装置
13日前
株式会社チノー
放射光測温装置
15日前
株式会社ユーシン
操作検出装置
24日前
トヨタ自動車株式会社
監視装置
14日前
続きを見る
他の特許を見る