TOP
|
特許
|
意匠
|
商標
特許ウォッチ
Twitter
他の特許を見る
10個以上の画像は省略されています。
公開番号
2025159184
公報種別
公開特許公報(A)
公開日
2025-10-17
出願番号
2025136918,2024187892
出願日
2025-08-20,2018-01-31
発明の名称
商品販売データ処理装置
出願人
株式会社寺岡精工
代理人
個人
,
個人
主分類
G07G
1/12 20060101AFI20251009BHJP(チェック装置)
要約
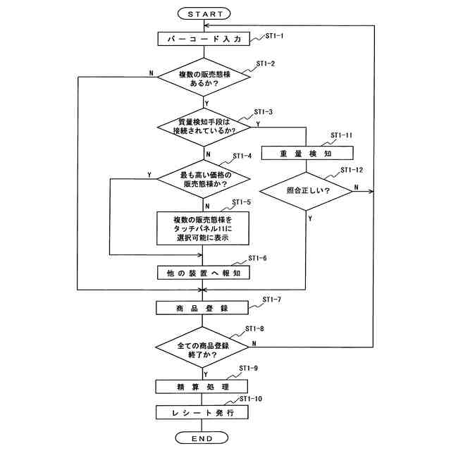
【課題】複数の販売態様があることによる操作ミスを未然に回避することができる商品販売データ処理装置を提供すること。
【解決手段】商品識別情報(バーコード情報)を入力するスキャナ部(入力手段)13と、販売する各商品の販売態様毎の価格と各商品の販売態様毎に付与された商品識別情報とを関連付けて記憶する記憶手段(RAM)205と、スキャナ部13によって入力された商品識別情報に係る商品について、複数の販売態様がある場合に、これら販売態様の情報を出力する出力手段(ステップST1-5においてタッチパネル11に複数の販売態様の情報を出力するCPU201など)と、を備える商品販売データ処理装置(フルセルフPOS装置)1-1である。これによって、複数の販売態様を有する商品について、販売態様の選択ミスがあるか否かの確認を促すことができ、操作ミスを防止することができる。
【選択図】図5
特許請求の範囲
【請求項1】
商品識別情報を入力する入力手段と、
販売する各商品の販売態様毎の価格と、各商品の販売態様毎に付与された商品識別情報とを関連付けて記憶する記憶手段と、
前記入力手段によって入力された商品識別情報に係る商品について、複数の販売態様がある場合に、当該販売態様の情報を出力する出力手段と、
を備えることを特徴とする商品販売データ処理装置。
続きを表示(約 550 文字)
【請求項2】
前記販売態様の情報を出力する際、その旨を、自装置と異なる他の装置へ報知することを特徴とする請求項1に記載の商品販売データ処理装置。
【請求項3】
前記入力手段によって入力された商品識別情報に係る商品について複数の販売態様がある場合に、当該複数の販売態様を選択可能に表示する表示手段を有することを特徴とする請求項1又は2に記載の商品販売データ処理装置。
【請求項4】
前記表示手段には、前記入力手段によって入力された商品識別情報に係る商品の販売態様の正否を確認する確認手段を表示することを特徴とする請求項3に記載の商品販売データ処理装置。
【請求項5】
質量検知手段の接続の有無を判定する判定手段を備え、
前記判定手段が前記質量検知手段と接続されていると判定した場合、前記出力手段は、販売態様の情報の出力を制限することを特徴とする請求項1に記載の商品販売データ処理装置。
【請求項6】
前記入力手段によって商品識別情報を入力した商品の販売態様が、前記複数の販売態様の内で最も高い価格が設定されている販売態様の場合、前記出力手段は、販売態様の情報の出力を制限することを特徴とする請求項1に記載の商品販売データ処理装置。
発明の詳細な説明
【技術分野】
【0001】
本発明は、複数の販売態様のある商品登録を好適に実行可能な商品販売データ処理装置に関するものである。
続きを表示(約 1,200 文字)
【背景技術】
【0002】
従来、顧客が購入しようとする商品を、顧客自らが登録して支払い処理を行う、いわゆるフルセルフPOS装置がある。この種のフルセルフPOS装置の場合、秤を接続しておき、商品登録後に、その商品の質量を秤によって計量し、当該計量した質量を、予め登録しておいたその商品の基準質量と照合し、これによって登録した商品が正しいことを確認(照合)する方法が用いられる。
【0003】
しかし、秤による商品質量の照合を行うと、その商品が正しい商品であったとしても、実際の計量質量と、基準質量との間に所定値以上の差がある場合があり、このような場合はエラーが発生してしまい、これによってその登録操作が煩雑になってしまう虞があった。
【0004】
また、未登録商品を載置する載置部から登録済商品を載置する載置部への質量値の移動が正しいか否かを秤で確認することや、登録済商品の載置部に質量加算されることで商品登録が実行されているとみなして確認に代えている場合などもある。
【0005】
また、上記エラーによる復旧操作などの煩雑さを回避してフルセルフPOS装置の利用頻度の向上を図る為や、設置スペースの問題で、秤自体を設置しない現場もある。
【先行技術文献】
【特許文献】
【0006】
特開2016-162208号公報
【発明の概要】
【発明が解決しようとする課題】
【0007】
しかし、上述のように、予め登録している基準質量を基準にした商品質量チェックを行わない場合や、秤を設置しない場合は、同一商品において異なる販売態様(例えば缶ビールにおける単品販売や6缶パック販売やケース販売など)があってそれぞれの販売態様に対して異なるバーコードが設定・印刷(または貼付)されている商品において問題が発生する虞があった。
【0008】
即ち例えば、6缶パックを購入しようとした場合に誤って(または不正に)単品に印刷されている単品販売用のバーコードをスキャンしてしまったり、ケース販売においてもケース上に単品販売用のバーコードが印刷されていることがあるので誤って(または不正に)これをスキャンしてしまったりする場合があった。
【0009】
このように、ケースもしくは6缶パックを単品のバーコードでスキャンされると、ケースもしくは6缶パックを単品の価格で販売してしまうことになるので、店舗にとって非常に大きな打撃となる。
【0010】
また、フルセルフPOS装置などでは、上記商品購入時の誤った登録操作が、不正なのか操作ミスなのかを判断することが難しく、操作ミスの場合は顧客に良い印象を与えないし、不正の場合はこれを発見したとしてもその不正を追及できない可能性もあった。
(【0011】以降は省略されています)
この特許をJ-PlatPat(特許庁公式サイト)で参照する
関連特許
株式会社寺岡精工
商品登録システム
5日前
株式会社寺岡精工
販売データ処理装置
今日
株式会社寺岡精工
販売データ処理装置、およびプログラム
8日前
株式会社寺岡精工
精算装置、システム、およびプログラム
1か月前
株式会社寺岡精工
プログラム、携帯端末、システム、サーバ及び報知方法
13日前
株式会社寺岡精工
プログラム、携帯端末、システム、サーバ及び報知方法
1か月前
株式会社寺岡精工
取引状況監視装置
8日前
株式会社寺岡精工
商品販売データ処理装置
5日前
株式会社寺岡精工
商品情報処理装置、プログラム
22日前
株式会社寺岡精工
計量装置、計量システム、プログラム
15日前
株式会社デジアイズ
炭酸水製造装置
23日前
株式会社寺岡精工
情報処理システム、情報処理装置及びプログラム
19日前
株式会社寺岡精工
商品データ処理装置、商品データ処理システム、商品データ処理装置用プログラム、及び商品データ処理システム用プログラム
5日前
デジシンガポール ピーティイー リミテッド
商品販売データ処理システム、計量装置
22日前
株式会社イシダ
商品処理装置
21日前
富士電機株式会社
通貨識別装置
3か月前
沖電気工業株式会社
媒体処理装置
1か月前
沖電気工業株式会社
媒体処理装置
2か月前
沖電気工業株式会社
紙幣処理装置
1か月前
沖電気工業株式会社
媒体処理装置
1か月前
沖電気工業株式会社
施錠開閉装置
14日前
株式会社ライト
情報処理装置
2か月前
富士電機株式会社
自動販売機
1か月前
株式会社ライト
情報処理装置
3か月前
株式会社ライト
情報処理装置
2か月前
株式会社デンソー
車載器
19日前
富士電機株式会社
金銭処理装置
2か月前
グローリー株式会社
物品投出装置
1か月前
株式会社寺岡精工
商品登録システム
5日前
日本金銭機械株式会社
硬貨処理装置
23日前
株式会社トイスピリッツ
景品提供システム
2か月前
日本金銭機械株式会社
硬貨処理装置
23日前
ユニティガードシステム株式会社
入館監視システム
2か月前
株式会社寺岡精工
販売データ処理装置
今日
沖電気工業株式会社
現金処理装置
2か月前
沖電気工業株式会社
媒体処理装置
1か月前
続きを見る
他の特許を見る