TOP
|
特許
|
意匠
|
商標
特許ウォッチ
Twitter
他の特許を見る
10個以上の画像は省略されています。
公開番号
2025142279
公報種別
公開特許公報(A)
公開日
2025-09-30
出願番号
2025125679,2024203293
出願日
2025-07-28,2020-01-10
発明の名称
商品販売データ処理システム、計量装置
出願人
デジシンガポール ピーティイー リミテッド
,
株式会社寺岡精工
代理人
個人
,
個人
主分類
G07G
1/00 20060101AFI20250919BHJP(チェック装置)
要約
【課題】セルフ販売に好適な技術を提供する。
【解決手段】変位を検出する変位検出機器と、計量装置を備える商品販売データ処理システムであって、前記変位検出機器は、自機器の変位を検出可能な検出手段と、自機器の識別情報を記憶する記憶手段と、前記記憶手段で記憶した前記識別情報を出力する出力手段とを備え、前記計量装置は、前記出力手段で出力された前記変位検出機器の前記識別情報を入力する入力手段と、前記入力手段で入力された前記変位検出機器の前記識別情報と関連付けられた商品情報を表示する表示手段とを備え、前記変位検出機器は、商品の容器の開閉に際し、位置が変化する場所に配置され、前記検出手段で所定の変位値を検出した場合に、前記出力手段で前記識別情報を出力する。
【選択図】図1
特許請求の範囲
【請求項1】
変位を検出する変位検出機器と、複数の計量装置を備える商品販売データ処理システムであって、
前記変位検出機器は、
自機器の変位を検出可能な検出手段と、
自機器の識別情報を記憶する記憶手段と、
前記検出手段で所定の変位値を検出した場合に、前記記憶手段で記憶した前記識別情報を複数の前記計量装置に出力する出力手段と、
を備え、
前記計量装置は、
計量手段と、
前記出力手段で出力された前記変位検出機器の前記識別情報を入力する入力手段と、
前記入力手段で入力された前記変位検出機器の前記識別情報と関連付けられた商品ボタンを操作可能に表示する表示手段と、
前記表示手段で表示されている一の前記商品ボタンの操作があった場合に、当該商品ボタンに対応する商品の前記計量手段による計量値と、当該商品の重量単価と、に基づいて当該商品の販売価格を決定する決定手段と、
前記表示手段で表示されている一の前記商品ボタンの操作があった場合に、当該商品ボタンが操作された旨を、他の全ての前記計量装置に通知する通知手段と
を備え、
前記計量装置は、
他の前記計量装置から一の前記商品ボタンが操作された旨の通知があった場合に、前記表示手段で表示されている当該商品ボタンを消去する
こと特徴とする商品販売データ処理システム。
続きを表示(約 450 文字)
【請求項2】
変位を検出する変位検出機器と、複数の計量装置を備える商品販売データ処理システムにおける計量装置であって、
計量手段と、
前記変位検出機器から出力された前記変位検出機器の識別情報を入力する入力手段と、
前記入力手段で入力された前記変位検出機器の前記識別情報と関連付けられた商品ボタンを操作可能に表示する表示手段と、
前記表示手段で表示されている一の前記商品ボタンの操作があった場合に、当該商品ボタンに対応する商品の前記計量手段による計量値と、当該商品の重量単価と、に基づいて当該商品の販売価格を決定する決定手段と、
前記表示手段で表示されている一の前記商品ボタンの操作があった場合に、当該商品ボタンが操作された旨を、他の全ての前記計量装置に通知する通知手段と
を備え、
他の前記計量装置から一の前記商品ボタンが操作された旨の通知があった場合に、前記表示手段で表示されている当該商品ボタンを消去する
こと特徴とする計量装置。
発明の詳細な説明
【技術分野】
【0001】
本発明は、商品販売データ処理システム、計量装置に関する。
続きを表示(約 2,400 文字)
【背景技術】
【0002】
例えば、ショーケースからトレーを引き出したときにトレーに貼付されたICタグをショーケースの枠に配置されたアンテナで検出することにより、当該ICタグの検出結果から商品を特定するシステムが知られている(例えば、特許文献1参照)。
【先行技術文献】
【特許文献】
【0003】
特開平5-18809号公報
【発明の概要】
【発明が解決しようとする課題】
【0004】
しかしながら、アンテナに検出されるようにトレーを引き出す必要があるなど、セルフ販売には適さないという問題がある。
【0005】
本発明は、このような事情に鑑みてなされたもので、その目的は、セルフ販売に好適な技術を提供することにある。
【課題を解決するための手段】
【0006】
上述した課題を解決するために、本発明の一態様である商品販売データ処理システムは、変位を検出する変位検出機器と、計量装置を備える商品販売データ処理システムであって、前記変位検出機器は、自機器の変位を検出可能な検出手段と、自機器の識別情報を記憶する記憶手段と、前記記憶手段で記憶した前記識別情報を出力する出力手段とを備え、前記計量装置は、前記出力手段で出力された前記変位検出機器の前記識別情報を入力する入力手段と、前記入力手段で入力された前記変位検出機器の前記識別情報と関連付けられた商品情報を表示する表示手段とを備え、前記変位検出機器は、商品の容器の開閉に際し、位置が変化する場所に配置され、前記検出手段で所定の変位値を検出した場合に、前記出力手段で前記識別情報を出力すること特徴とする。
【図面の簡単な説明】
【0007】
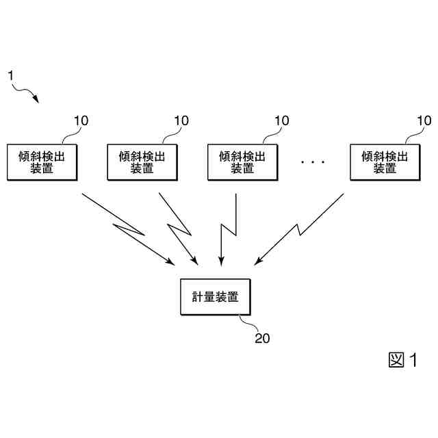
実施形態に係る販売処理システム1のネットワーク構成の一例である。
傾斜検出装置10の外観の一例を示す説明図である。
傾斜検出装置10の構成の一例を示す説明図である。
傾斜検出装置10の機能の一例を示す説明図である。
傾斜の検出について説明する説明図である。
傾斜の検出について説明する説明図である。
傾斜の検出について説明する説明図である。
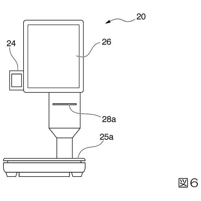
計量装置20の外観の一例を示す説明図である。
計量装置20の構成の一例を示す説明図である。
計量装置20が記憶する情報の一例である。
計量装置20が記憶する情報の一例である。
計量装置20が記憶する情報の一例である。
計量装置20が記憶する情報の一例である。
販売処理システム1が適用された店舗の例を示す説明図である。
容器300に設置された傾斜検出装置10の様子を示す説明図である。
容器300に設置された傾斜検出装置10の様子を示す説明図である。
容器400に設置された傾斜検出装置10の様子を示す説明図である。
容器400に設置された傾斜検出装置10の様子を示す説明図である。
商品ボタンの表示制御について概説する説明図である。
商品ボタンの表示制御について概説する説明図である
商品ボタンの表示制御について概説する説明図である
商品ボタンの表示制御に関するフローチャートである。
商品ボタンの表示制御に関するフローチャートである。
計量装置20における商品ボタンの表示を説明する説明図である。
計量装置20における商品ボタンの表示を説明する説明図である。
計量装置20における商品ボタンの表示を説明する説明図である。
計量装置20における商品ボタンの表示を説明する説明図である。
計量装置20における商品ボタンの表示を説明する説明図である。
計量装置20における商品ボタンの表示を説明する説明図である。
計量装置20における商品ボタンの表示を説明する説明図である。
計量装置20における商品ボタンの表示を説明する説明図である。
計量装置20における表示画面の一例である。
計量装置20における表示画面の一例である。
計量装置20における表示画面の一例である。
計量装置20における表示画面の一例である。
計量装置20における表示画面の一例である。
計量装置20における表示画面の一例である。
【発明を実施するための形態】
【0008】
図1は、本発明の実施形態に係る販売処理システム1のネットワーク構成の一例である。販売処理システム1は、重量を計量して販売される商品(量り売り商品)を取り扱う店舗(例えば、スーパーマーケット等)に導入される。
【0009】
販売処理システム1は、複数台の傾斜検出装置10と、計量装置20とを含む。夫々の傾斜検出装置10と、計量装置20とは、通信可能に接続されている。なお、本例では、設置されたときの見た目を考慮し、無線(例えば、無線LAN(Local Area Network)、Bluetooth(登録商標)等)により接続される例を説明するが、有線により通信可能に接続されるようにしてもよい。
【0010】
図2は、傾斜検出装置10の外観の一例を示す説明図である。傾斜検出装置10は、傾斜(回転)を検出可能なセンサである。傾斜検出装置10は、傾斜を検出する対象物(本実施形態では、食品の容器等)に設置(装着)され、該対象物(又は、該対象物の一部分)の傾斜動作(回転動作)を検出する。傾斜検出装置10は、図2に示すように、例えば円筒形状である。
(【0011】以降は省略されています)
この特許をJ-PlatPat(特許庁公式サイト)で参照する
関連特許
株式会社イシダ
商品処理装置
今日
株式会社バンダイ
物品供給装置
3か月前
株式会社バンダイ
物品供給装置
2か月前
株式会社バンダイ
物品供給装置
2か月前
株式会社バンダイ
物品供給装置
2か月前
株式会社バンダイ
物品供給装置
2か月前
株式会社バンダイ
物品供給装置
3か月前
株式会社バンダイ
物品供給装置
3か月前
富士電機株式会社
通貨識別装置
2か月前
沖電気工業株式会社
媒体処理装置
1か月前
沖電気工業株式会社
媒体処理装置
1か月前
沖電気工業株式会社
紙幣処理装置
1か月前
三和ニューテック株式会社
釣銭機
4か月前
沖電気工業株式会社
媒体処理装置
28日前
株式会社ライト
情報処理装置
1か月前
富士電機株式会社
自動販売機
1か月前
株式会社ライト
情報処理装置
1か月前
富士電機株式会社
自動販売機
4か月前
株式会社ライト
情報処理装置
2か月前
富士電機株式会社
金銭処理装置
2か月前
グローリー株式会社
物品投出装置
22日前
トヨタ車体株式会社
出入検知装置
3か月前
グローリー株式会社
硬貨処理装置
2か月前
グローリー株式会社
現金処理装置
4か月前
トヨタ車体株式会社
出入検知装置
3か月前
グローリー株式会社
媒体処理装置
4か月前
株式会社トイスピリッツ
景品提供システム
1か月前
日本金銭機械株式会社
硬貨処理装置
2日前
日本金銭機械株式会社
硬貨処理装置
2日前
富士電機株式会社
自動販売機システム
4か月前
パイオニア株式会社
ドライブレコーダ
3か月前
トヨタ自動車株式会社
記録装置
3か月前
ユニティガードシステム株式会社
入館監視システム
1か月前
沖電気工業株式会社
棒金収納装置
1か月前
沖電気工業株式会社
媒体処理装置
3か月前
沖電気工業株式会社
媒体処理装置
26日前
続きを見る
他の特許を見る