TOP
|
特許
|
意匠
|
商標
特許ウォッチ
Twitter
他の特許を見る
10個以上の画像は省略されています。
公開番号
2025142355
公報種別
公開特許公報(A)
公開日
2025-09-30
出願番号
2025128124,2022063394
出願日
2025-07-31,2022-04-06
発明の名称
商品情報処理装置、プログラム
出願人
株式会社寺岡精工
代理人
個人
,
個人
主分類
G07G
1/12 20060101AFI20250919BHJP(チェック装置)
要約
【課題】セルフレジを効果的に運用する。
【解決手段】顧客が操作して商品の登録と精算とが可能な商品情報処理装置であって、商品を登録する登録手段と、前記登録手段による商品の登録を完了させる登録完了指示を受け付ける受付手段と、前記受付手段による前記登録完了指示を受けるまでの間において年齢の確認を必要とする年齢確認商品が登録されている場合、前記登録完了指示を受け付けた後に顧客の年齢を確認する年齢確認処理を実行可能な年齢確認手段とを備え、前記登録完了指示を受けるまでの間において前記年齢確認商品が登録されている場合において、前記登録完了指示を受けるまでの間において店員の介在があった場合と、前記登録完了指示を受けるまでの間において店員の介在がなかった場合とで、前記年齢確認処理について異なる制御を実行する。
【選択図】図1
特許請求の範囲
【請求項1】
顧客が操作して商品の登録と精算とが可能な商品情報処理装置であって、
商品を登録する登録手段と、
前記登録手段による商品の登録を完了させる登録完了指示を受け付ける受付手段と、
前記受付手段による前記登録完了指示を受けるまでの間において年齢の確認を必要とする年齢確認商品が登録されている場合、前記登録完了指示を受け付けた後に顧客の年齢を確認する年齢確認処理を実行可能な年齢確認手段と
を備え、
前記登録完了指示を受けるまでの間において前記年齢確認商品が登録されている場合において、前記登録完了指示を受けるまでの間において店員の介在があった場合と、前記登録完了指示を受けるまでの間において店員の介在がなかった場合とで、前記年齢確認処理について異なる制御を実行する商品情報処理装置。
続きを表示(約 1,300 文字)
【請求項2】
前記年齢確認手段は、
年齢を確認可能な媒体を用いた前記年齢確認処理を実行可能である
請求項1に記載の商品情報処理装置。
【請求項3】
前記店員の介在は、店員による前記年齢確認商品の登録であり、
前記年齢確認手段は、
前記登録完了指示を受けるまでの間において前記年齢確認商品が登録されている場合であっても店員が前記年齢確認商品を登録した場合には前記年齢確認処理を実行せず、
前記登録完了指示を受けるまでの間において前記年齢確認商品が登録されている場合であって店員が前記年齢確認商品を登録しなかった場合には前記年齢確認処理を実行する
請求項1又は請求項2の商品情報処理装置。
【請求項4】
前記店員の介在は、他の装置における店員の年齢確認操作であり、
前記年齢確認手段は、
前記登録完了指示を受けるまでの間において前記年齢確認商品が登録されている場合であっても店員が他の装置において前記年齢確認操作をした場合には前記年齢確認処理を行わず、
前記登録完了指示を受けるまでの間において前記年齢確認商品が登録されている場合であって店員が他の装置において前記年齢確認操作をしなかった場合には前記年齢確認処理を実行する請求項1又は請求項2の商品情報処理装置。
【請求項5】
顧客が操作して商品の登録と精算とが可能な商品情報処理システムであって、
商品を登録する登録手段と、
前記登録手段による商品の登録を完了させる登録完了指示を受け付ける受付手段と、
前記受付手段による前記登録完了指示を受けるまでの間において年齢の確認を必要とする年齢確認商品が登録されている場合、前記登録完了指示を受け付けた後に顧客の年齢を確認する年齢確認処理を実行可能な年齢確認手段と
を備え、
前記登録完了指示を受けるまでの間において前記年齢確認商品が登録されている場合において、前記登録完了指示を受けるまでの間において店員の介在があった場合と、前記登録完了指示を受けるまでの間において店員の介在がなかった場合とで、前記年齢確認処理について異なる制御を実行する商品情報処理システム。
【請求項6】
顧客が操作して商品の登録と精算とが可能な商品情報処理装置としてコンピュータを機能させるプログラムであって、
前記コンピュータを、
商品を登録する登録手段、
前記登録手段による商品の登録を完了させる登録完了指示を受け付ける受付手段、
前記受付手段による前記登録完了指示を受けるまでの間において年齢の確認を必要とする年齢確認商品が登録されている場合、前記登録完了指示を受け付けた後に顧客の年齢を確認する年齢確認処理を実行可能な年齢確認手段
として機能させ、
前記登録完了指示を受けるまでの間において前記年齢確認商品が登録されている場合において、前記登録完了指示を受けるまでの間において店員の介在があった場合と、前記登録完了指示を受けるまでの間において店員の介在がなかった場合とで、前記年齢確認処理について異なる制御を実行するプログラム。
発明の詳細な説明
【技術分野】
【0001】
本発明は、商品情報処理装置、商品情報処理システム、プログラムに関する。
続きを表示(約 2,000 文字)
【背景技術】
【0002】
顧客自らが操作して、商品を登録して精算を行う、いわゆるセルフレジが知られている(例えば、特許文献1参照)。
【先行技術文献】
【特許文献】
【0003】
特開平10-069574号公報
【発明の概要】
【発明が解決しようとする課題】
【0004】
しかしながら、セルフレジの運用には、例えば利便性等について、改善の余地がある。
【0005】
本発明は、このような事情に鑑みてなされたもので、セルフレジを効果的に運用する技術を提供することを目的とする。
【課題を解決するための手段】
【0006】
上述した課題を解決するための一態様である商品情報処理装置は、顧客が操作して商品の登録と精算とが可能な商品情報処理装置であって、商品を登録する登録手段と、前記登録手段による商品の登録を完了させる登録完了指示を受け付ける受付手段と、前記受付手段による前記登録完了指示を受けるまでの間において年齢の確認を必要とする年齢確認商品が登録されている場合、前記登録完了指示を受け付けた後に顧客の年齢を確認する年齢確認処理を実行可能な年齢確認手段とを備え、前記登録完了指示を受けるまでの間において前記年齢確認商品が登録されている場合において、前記登録完了指示を受けるまでの間において店員の介在があった場合と、前記登録完了指示を受けるまでの間において店員の介在がなかった場合とで、前記年齢確認処理について異なる制御を実行する商品情報処理装置である。
【図面の簡単な説明】
【0007】
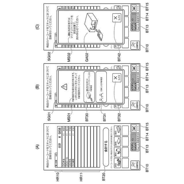
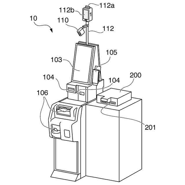
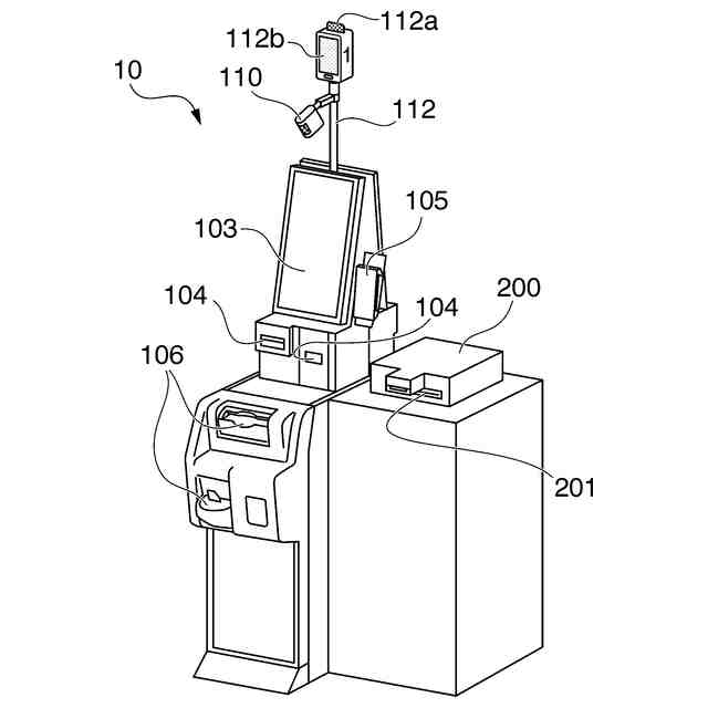
登録精算装置の外観の一例である。
登録精算装置の構成例である。
登録精算装置の表示例である。
登録精算装置の表示例である。
登録精算装置の表示例である。
取引状況管理装置の表示例である。
取引状況管理装置の表示例である。
取引状況管理装置の表示例である。
取引状況管理装置の表示例である。
取引状況管理装置の表示例である。
登録精算装置の動作の一例を示すフローチャートである。
登録精算装置の動作の一例を示すフローチャートである。
登録精算装置の動作の一例を示すフローチャートである。
登録精算装置の動作の一例を示すフローチャートである。
【発明を実施するための形態】
【0008】
(販売システム)
本実施形態の登録精算装置10は、販売システム1(非図示)を構成する装置の1つである。販売システム1は、種々の業態(スーパーマーケット、コンビニエンスストア、ドラッグストア、ホームセンタ、家電量販店等)に導入可能である。販売システム1は、登録精算装置10の他に、取引状況管理装置30(非図示)、ストアコントローラ40(非図示)、本部サーバ50(非図示)を含む。登録精算装置10、取引状況管理装置30及びストアコントローラ40は、店舗内に設置される。これらは、LAN(有線でも無線でもよい)を介して通信可能に接続される。本部サーバ50は、店舗外(例えば、本社やデータセンタ等)に設置される。店舗内に設置されている装置(登録精算装置10、取引状況管理装置30、ストアコントローラ40)と、店舗外に設置されている装置(本部サーバ50)とは、通信(直接的に通信、又は、ストアコントローラ40を介して通信)可能である。なお、各装置の設置台数は特に限定しない。例えば、登録精算装置10を店舗内に4台設置してもよい。
【0009】
(登録精算装置10)
登録精算装置10は、顧客の操作に基づいて商品を登録し、顧客の操作に基づいて精算する、いわゆるフルセルフのレジである。つまり、登録精算装置10は、商品を登録する登録処理と、登録した商品を精算する精算処理とを実行するが、両処理ともに、基本的には(本来は)、顧客自身の操作に基づいて実行する。つまり、登録精算装置10は、基本的には顧客によって操作されるが、店員が操作する場合もある。
【0010】
(取引状況管理装置30)
取引状況管理装置30は、店舗内に設置されている装置を管理(処理状況、動作状況等を監視、制御等)する装置(例えば、パーソナルコンピュータ)である。取引状況管理装置30は、少なくとも、CPU、記憶部、表示部(タッチパネルとして構成してもよい)、操作部(キーボード、マウス等)、通信部を備える。取引状況管理装置30は、印刷装置(非図示)と通信可能であり、種々の情報を印刷装置から出力してもよい。取引状況管理装置30は、店員によって使用される。
(【0011】以降は省略されています)
この特許をJ-PlatPat(特許庁公式サイト)で参照する
関連特許
株式会社寺岡精工
搬送装置
1か月前
株式会社寺岡精工
包装装置
1か月前
株式会社寺岡精工
施設管理システム
1か月前
株式会社寺岡精工
システム及びプログラム
1か月前
株式会社寺岡精工
監視装置、精算装置、およびプログラム
1か月前
株式会社寺岡精工
精算装置、システム、およびプログラム
12日前
株式会社寺岡精工
ラベル発行装置およびコンピュータプログラム
1か月前
株式会社寺岡精工
ラベル発行装置およびコンピュータプログラム
1か月前
株式会社寺岡精工
プログラム、携帯端末、システム、サーバ及び報知方法
12日前
株式会社寺岡精工
包装装置
1か月前
株式会社寺岡精工
販売データ処理装置、販売データ処理方法、およびプログラム
20日前
株式会社寺岡精工
荷物引受装置、プログラム
14日前
株式会社寺岡精工
POS端末、およびプログラム
1か月前
株式会社寺岡精工
商品情報処理装置、プログラム
1日前
株式会社寺岡精工
システム、精算装置、プログラム
1か月前
株式会社デジアイズ
炭酸水製造装置
2日前
株式会社寺岡精工
生産管理システム、生産管理プログラム
1か月前
株式会社寺岡精工
商品販売データ処理装置およびプログラム
1か月前
デジシンガポール ピーティイー リミテッド
商品販売データ処理システム、計量装置
1日前
株式会社イシダ
商品処理装置
今日
株式会社バンダイ
物品供給装置
2か月前
株式会社バンダイ
物品供給装置
2か月前
株式会社バンダイ
物品供給装置
3か月前
株式会社バンダイ
物品供給装置
3か月前
株式会社バンダイ
物品供給装置
3か月前
株式会社バンダイ
物品供給装置
2か月前
株式会社バンダイ
物品供給装置
2か月前
富士電機株式会社
通貨識別装置
2か月前
沖電気工業株式会社
媒体処理装置
1か月前
沖電気工業株式会社
媒体処理装置
1か月前
沖電気工業株式会社
媒体処理装置
28日前
沖電気工業株式会社
紙幣処理装置
1か月前
株式会社ライト
情報処理装置
1か月前
富士電機株式会社
自動販売機
1か月前
株式会社ライト
情報処理装置
2か月前
株式会社ライト
情報処理装置
1か月前
続きを見る
他の特許を見る