TOP
|
特許
|
意匠
|
商標
特許ウォッチ
Twitter
他の特許を見る
10個以上の画像は省略されています。
公開番号
2025158468
公報種別
公開特許公報(A)
公開日
2025-10-17
出願番号
2024061030
出願日
2024-04-04
発明の名称
商品登録システム
出願人
株式会社寺岡精工
代理人
個人
,
個人
主分類
G07G
1/12 20060101AFI20251009BHJP(チェック装置)
要約
【課題】携帯端末を用いた商品の登録を好適に実施する。
【解決手段】売り場にて顧客が購入する商品を登録する商品登録システムであって、購入する商品を登録する登録部と、購入する商品として顧客によって確保された商品を撮像可能な撮像部と、前記撮像部から取得した撮像画像に基づいて顧客による商品の確保に関する特定行動を認識する認識部と、前記登録部による登録状況と前記認識部による認識状況とに基づく情報を報知する報知部とを備え、前記認識部は、第1認識部と、前記第1認識部よりも認識の精度が高い第2認識部と、を有する。
【選択図】図1
特許請求の範囲
【請求項1】
売り場にて顧客が購入する商品を登録する商品登録システムであって、
購入する商品を登録する登録部と、
購入する商品として顧客によって確保された商品を撮像可能な撮像部と、
前記撮像部から取得した撮像画像に基づいて顧客による商品の確保に関する特定行動を認識する認識部と、
前記登録部による登録状況と前記認識部による認識状況とに基づく情報を報知する報知部と
を備え、
前記認識部は、
第1認識部と、前記第1認識部よりも認識の精度が高い第2認識部と、を有する
ことを特徴とする商品登録システム。
続きを表示(約 1,400 文字)
【請求項2】
売り場にて顧客が購入する商品を登録する商品登録システムであって、
購入する商品を登録する登録部と、
購入する商品の数量の変更の操作、又は、購入の取消の操作を受け付ける数量変更取消操作受付部と、
購入する商品として顧客によって確保された商品を撮像可能な撮像部と、
前記撮像部から取得した撮像画像に基づいて顧客による商品の確保に関する特定行動を認識する認識部と、
前記数量変更取消操作受付部による操作状況と前記認識部による認識状況とに基づく情報を報知する報知部と
を備え、
前記認識部は、
第1認識部と、前記第1認識部よりも認識の精度が高い第2認識部と、を有する
ことを特徴とする商品登録システム。
【請求項3】
前記第2認識部は、
前記第1認識部による前記特定行動の認識後に前記特定行動を認識する
ことを特徴とする請求項1又は請求項2に記載の商品登録システム。
【請求項4】
前記報知部は、
前記登録部による登録状況と前記第1認識部による認識状況とに基づく情報と、前記登録部による登録状況と前記第2認識部による認識状況とに基づく情報とが異なる場合には、異なる旨を報知する
ことを特徴とする請求項1に記載の商品登録システム。
【請求項5】
前記報知部は、
前記数量変更取消操作受付部による操作状況と前記第1認識部による認識状況とに基づく情報と、前記数量変更取消操作受付部による操作状況と前記第2認識部による認識状況とに基づく情報とが異なる場合には、異なる旨を報知する
ことを特徴とする請求項2に記載の商品登録システム。
【請求項6】
購入する商品を精算する精算処理へと移行させる精算移行処理を実行する精算移行部
を備え、
前記精算移行部は、
購入する全商品について前記第2認識部による認識の完了後に前記精算移行処理を実行する
ことを特徴とする請求項1又は請求項2に記載の商品登録システム。
【請求項7】
購入する商品を精算する精算処理を実行する精算部
を備え、
前記精算部は、
購入する全商品について前記第2認識部による認識の完了後に前記精算処理を実行する
ことを特徴とする請求項1又は請求項2に記載の商品登録システム。
【請求項8】
少なくとも前記登録部を備える情報通信端末と、
少なくとも前記登録部による登録情報を記憶するサーバと、
購入する商品を精算する精算処理を実行する精算装置と
を含み、
前記情報通信端末が、前記第1認識部を備え、
前記サーバ又は前記精算装置が、前記第2認識部を備える
ことを特徴とする請求項1又は請求項2に記載の商品登録システム。
【請求項9】
少なくとも前記登録部を備える情報通信端末と、
購入する商品を精算する精算処理を実行する精算装置と
を含み、
前記報知部は、
前記第1認識部による認識状況に基づく情報を前記情報通信端末において報知し、
前記第2認識部による認識状況に基づく情報を前記精算装置において報知する
ことを特徴とする請求項1又は請求項2に記載の商品登録システム。
発明の詳細な説明
【技術分野】
【0001】
本発明は、商品登録システムに関する。
続きを表示(約 1,800 文字)
【背景技術】
【0002】
携帯端末を用いて顧客自ら商品を登録するシステムが知られている(例えば、特許文献1参照)。
【先行技術文献】
【特許文献】
【0003】
特開2018-055700号公報
【発明の概要】
【発明が解決しようとする課題】
【0004】
しかしながら、上述のようなシステムには、例えば悪意のある顧客や不慣れな顧客への対策において改善の余地がある。
【0005】
本発明は、このような事情に鑑みてなされたもので、携帯端末を用いた商品の登録を好適に実施する技術を提供することを目的とする。
【課題を解決するための手段】
【0006】
上述した課題を解決するための一態様である商品登録システムは、売り場にて顧客が購入する商品を登録する商品登録システムであって、購入する商品を登録する登録部と、購入する商品として顧客によって確保された商品を撮像可能な撮像部と、前記撮像部から取得した撮像画像に基づいて顧客による商品の確保に関する特定行動を認識する認識部と、前記登録部による登録状況と前記認識部による認識状況とに基づく情報を報知する報知部とを備え、前記認識部は、第1認識部と、前記第1認識部よりも認識の精度が高い第2認識部と、を有することを特徴とする商品登録システムである。
【図面の簡単な説明】
【0007】
販売システムを説明するためのネットワークの概念図である。
携帯端末を取り付け可能なカートについて説明する説明図である。
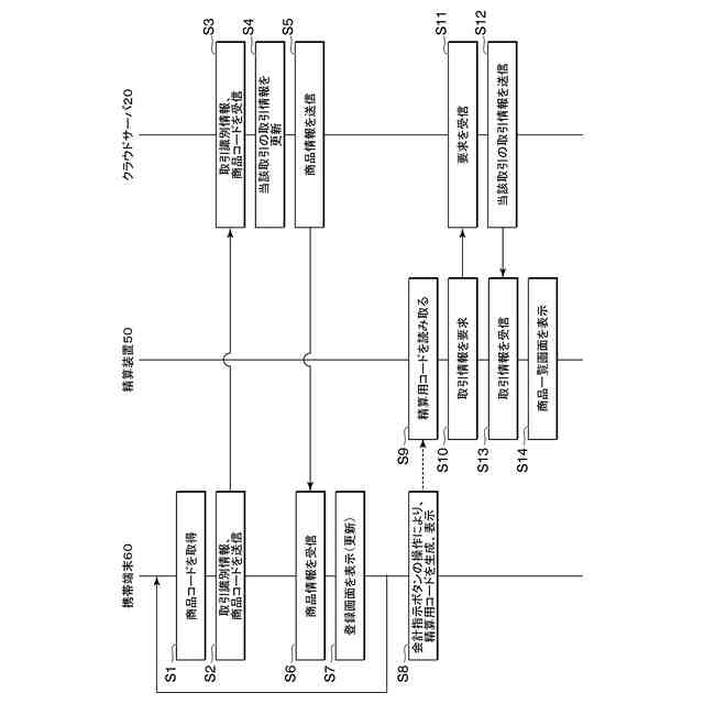
携帯端末、クラウドサーバ、精算装置の動作の概要を説明するシーケンス図である。
携帯端末の表示例である。
不正等の報知について説明する説明図である。
不正等の報知について説明する説明図である。
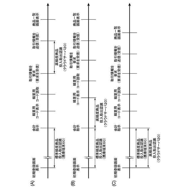
2種類の商品投入取出認識の実行主体、実行タイミングについて説明する説明図である。
精算装置の表示例である。
商品投入取出認識について説明するための撮像画像の一例である。
商品投入取出認識について説明するための撮像画像の一例である。
商品投入取出認識について説明するための撮像画像の一例である。
【発明を実施するための形態】
【0008】
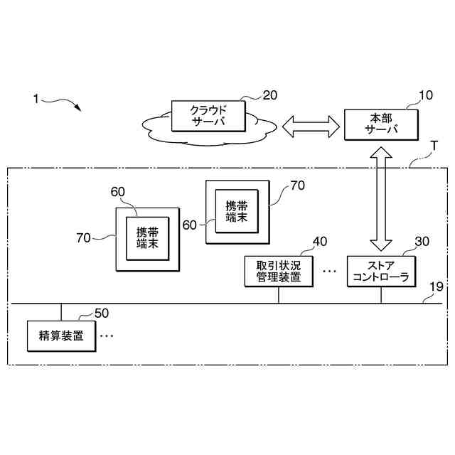
図1は、実施形態の一例である販売システム1を説明するためのネットワークの概念図である。図1に示す販売システム(「商品登録システム」、「販売データ処理システム」などと称してもよい)1は、本部サーバ10、クラウドサーバ20、ストアコントローラ30、取引状況管理装置40(例えば、パーソナルコンピュータ等)、精算装置50、携帯端末(「情報通信端末」「移動通信端末」「移動登録端末」「可搬型登録端末」などと称してもよい)60を含む。
【0009】
販売システム1は、種々の業態(スーパーマーケット、コンビニエンスストア、ドラッグストア、ホームセンタ、家電量販店等)に導入可能である。図1において、破線Tは、店舗内(商品陳列エリア、会計エリア、バックヤード、事務所等)を示している。図1に示すように、ストアコントローラ30、取引状況管理装置40、精算装置50は、店舗内に設置される。これらは、LAN19(有線でも無線でもよい)を介して通信可能に接続される。店舗内には、携帯端末60が存在する。携帯端末60は、基本的には、カート(ショッピングカート)70に取り付けられた状態(セットされた状態)で使用される。本部サーバ10及びクラウドサーバ20は、店舗外(例えば、本社やデータセンタ等)に設置される。店舗内に設置されている装置(ストアコントローラ30、取引状況管理装置40、精算装置50)と店舗外に設置されている装置(本部サーバ10、クラウドサーバ20)とは、通信(直接的に通信、又は、ストアコントローラ30を介して通信)可能である。
【0010】
販売システム1は、携帯端末60を使用して商品を登録し、精算装置50を使用して精算するといった態様のセルフサービス(以下、サービスAと称する場合がある)を提供する。つまり、サービスAは、顧客自身が商品登録と精算とを行うが、商品登録に関しては携帯端末60を使用し、精算に関しては精算装置50を使用するといった態様のセルフサービスである。
(【0011】以降は省略されています)
この特許をJ-PlatPat(特許庁公式サイト)で参照する
関連特許
株式会社寺岡精工
商品登録システム
3日前
株式会社寺岡精工
販売データ処理装置、およびプログラム
6日前
株式会社寺岡精工
精算装置、システム、およびプログラム
1か月前
株式会社寺岡精工
プログラム、携帯端末、システム、サーバ及び報知方法
11日前
株式会社寺岡精工
プログラム、携帯端末、システム、サーバ及び報知方法
1か月前
株式会社寺岡精工
販売データ処理装置、販売データ処理方法、およびプログラム
1か月前
株式会社寺岡精工
取引状況監視装置
6日前
株式会社寺岡精工
商品販売データ処理装置
3日前
株式会社寺岡精工
荷物引受装置、プログラム
1か月前
株式会社寺岡精工
商品情報処理装置、プログラム
20日前
株式会社寺岡精工
計量装置、計量システム、プログラム
13日前
株式会社デジアイズ
炭酸水製造装置
21日前
株式会社寺岡精工
情報処理システム、情報処理装置及びプログラム
17日前
株式会社寺岡精工
商品データ処理装置、商品データ処理システム、商品データ処理装置用プログラム、及び商品データ処理システム用プログラム
3日前
デジシンガポール ピーティイー リミテッド
商品販売データ処理システム、計量装置
20日前
株式会社イシダ
商品処理装置
19日前
株式会社バンダイ
物品供給装置
3か月前
株式会社バンダイ
物品供給装置
3か月前
株式会社バンダイ
物品供給装置
3か月前
株式会社バンダイ
物品供給装置
3か月前
富士電機株式会社
通貨識別装置
2か月前
沖電気工業株式会社
施錠開閉装置
12日前
沖電気工業株式会社
媒体処理装置
1か月前
沖電気工業株式会社
紙幣処理装置
1か月前
沖電気工業株式会社
媒体処理装置
1か月前
沖電気工業株式会社
媒体処理装置
2か月前
富士電機株式会社
自動販売機
1か月前
株式会社ライト
情報処理装置
2か月前
株式会社ライト
情報処理装置
2か月前
株式会社ライト
情報処理装置
2か月前
富士電機株式会社
金銭処理装置
2か月前
株式会社デンソー
車載器
17日前
グローリー株式会社
硬貨処理装置
3か月前
グローリー株式会社
物品投出装置
1か月前
トヨタ車体株式会社
出入検知装置
3か月前
日本金銭機械株式会社
硬貨処理装置
21日前
続きを見る
他の特許を見る