TOP
|
特許
|
意匠
|
商標
特許ウォッチ
Twitter
他の特許を見る
公開番号
2025149294
公報種別
公開特許公報(A)
公開日
2025-10-08
出願番号
2024049844
出願日
2024-03-26
発明の名称
物品供給装置、及び物品供給装置セット
出願人
株式会社バンダイ
代理人
主分類
G07F
11/46 20060101AFI20251001BHJP(チェック装置)
要約
【課題】利便性の高い物品供給装置を提供する。
【解決手段】物品供給装置1であって、前面部12、背面部13、及び底面部14を含んでいる本体部10と、前面部12に設けられ物品の供給操作が可能な操作部4と、前面部12に設けられて装置内の物品を供給可能な供給口部9と、を備え、本体部10は、底面部14を浮かせた状態で保持可能に構成されている。例えば、本体部10には、背面部13を人体の胴体部の前面、背面、又は側面に対向させた状態で本体部10を保持可能な保持部30が設けられている。
【選択図】図1
特許請求の範囲
【請求項1】
物品供給装置であって、
前面部、背面部、及び底面部を含んでいる本体部と、
前記前面部に設けられ物品の供給操作が可能な操作部と、
前記前面部に設けられ装置内の前記物品を供給可能な供給口部と、
を備え、
前記本体部は、前記底面部を浮かせた状態で保持可能に構成されている、物品供給装置。
続きを表示(約 900 文字)
【請求項2】
請求項1に記載の物品供給装置であって、
前記本体部には、前記背面部を人体の胴体部の前面、背面、又は側面に対向させた状態で前記本体部を保持可能な保持部が設けられている、物品供給装置。
【請求項3】
請求項2に記載の物品供給装置であって、
前記背面部は、クッション材を含んでいる、物品供給装置。
【請求項4】
請求項3に記載の物品供給装置であって、
前記クッション材は、その表面が凹凸面を成している、物品供給装置。
【請求項5】
請求項4に記載の物品供給装置であって、
前記保持部は、その一方端部、及び他方端部が前記背面部の異なる位置に取り付けられている、物品供給装置。
【請求項6】
請求項5に記載の物品供給装置であって、
前記本体部は、上面部を含み、
前記保持部は、前記一方端部が前記上面部又は前記上面部近傍に取り付けられ、前記他方端部が前記底面部又は前記底面部近傍に取り付けられている、物品供給装置。
【請求項7】
請求項5に記載の物品供給装置であって、
前記本体部は、側面部を含み、
前記保持部は、前記一方端部、及び前記他方端部が前記側面部の異なる位置に取り付けられている、物品供給装置。
【請求項8】
請求項2~7の何れか一項に記載の物品供給装置であって、
前記保持部は、第1保持部と第2保持部とを含み、前記第1保持部と前記第2保持部とは、一定の距離を隔てて設けられている、物品供給装置。
【請求項9】
請求項8に記載の物品供給装置であって、
前記第1保持部と前記第2保持部とは、各々、長辺の長さを変更可能に構成されている、物品供給装置。
【請求項10】
請求項9に記載の物品供給装置であって、
前記第1保持部及び前記第2保持部は、各々、前記背面部との間で輪を構成し、輪の長さを変更に構成されている、物品供給装置。
(【請求項11】以降は省略されています)
発明の詳細な説明
【技術分野】
【0001】
本発明は、物品供給装置、及び物品供給装置セットに関する。
続きを表示(約 1,300 文字)
【背景技術】
【0002】
従来、商品を自動で販売するために各種の物品供給装置(自動販売機)がある。物品供給装置においては、商品の購入に必要な代価を判定する各種の機能が設けられている。例えば特許文献1においては、正規コインが投入されたときに係止部材を動作させて商品購入の操作が可能に制御する物品供給装置についての構成、が開示されている。
【先行技術文献】
【特許文献】
【0003】
特開2017-59114号公報
【発明の概要】
【発明が解決しようとする課題】
【0004】
特許文献1においては、物品供給装置における物品購入に関わる制御についてものである。この種の装置は、地面等の低い位置に設置されていると、商品(物品)を購入するためには姿勢を低くする必要がある。
【0005】
本発明は、ユーザにとって従来に比べて利便性の高い物品供給装置を提供することを目的とする。
【課題を解決するための手段】
【0006】
本発明の一態様の物品供給装置は、物品供給装置であって、前面部、背面部、及び底面部を含んでいる本体部と、前面部に設けられ物品の供給操作が可能な操作部と、前面部に設けられ装置内の物品を供給可能な供給口部と、を備え、本体部は、底面部を浮かせた状態で保持可能に構成されている、ものである。
【発明の効果】
【0007】
本発明によれば、利便性の高い物品供給装置を提供することができる。
【図面の簡単な説明】
【0008】
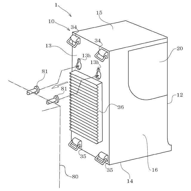
本発明の一態様の物品供給装置の外観を示す斜視図である。
図1のX-X線に沿った部分の概略断面図である。
物品供給装置の保持状態を側面側から見た側面図である。
物品供給装置の保持状態を後ろ側から見た背面図である。
物品供給装置の操作可能状態の一例を示す斜視図である。
物品供給装置の背負い方の他の例を示す側面図である。
物品供給装置の他の保持状態を示す斜視図である。
【発明を実施するための形態】
【0009】
以下、本発明の一態様である物品供給装置について、図を参照して説明する。
図1は、本態様の物品供給装置1の外観を示す斜視図であり、図2は、図1のX-X線に沿った部分の概略断面図である。
【0010】
図1、及び図2に示す物品供給装置1は、本体部10が前面部12、背面部13、底面部14、及び左右側面部16、を備える箱形の形状となっている。そして、内部に収容された物品P、すなわち、玩具や小型部品等が収容された球形状のカプセルケースの物品P(商品)を供給可能な装置である。物品供給装置1は、物品Pをランダムな配置で複数収容可能な物品収容部20と、物品収容部20の底部20bに回転可能に設けられて物品Pを一つずつ無作為に選択・供給可能な回転盤22を有する供給部21と、供給部21を動作不能にロックするロック部41と、投入口5からのコインCの投入でロック部41の解除が可能な制御部40と、を備える。
(【0011】以降は省略されています)
この特許をJ-PlatPat(特許庁公式サイト)で参照する
関連特許
株式会社バンダイ
玩具
2日前
株式会社バンダイ
玩具
1か月前
株式会社バンダイ
玩具
1か月前
株式会社バンダイ
玩具
1か月前
株式会社バンダイ
物品
4日前
株式会社バンダイ
玩具
9日前
株式会社バンダイ
玩具
11日前
株式会社バンダイ
玩具
16日前
株式会社バンダイ
模型部品
17日前
株式会社バンダイ
発光玩具
23日前
株式会社バンダイ
ゲーム装置
4日前
株式会社バンダイ
ゲーム装置
4日前
株式会社バンダイ
ゲーム装置
4日前
株式会社バンダイナムコエクスペリエンス
袋体供給装置
2日前
株式会社バンダイナムコエクスペリエンス
ゲームシステム
3日前
株式会社バンダイナムコエンターテインメント
コンピュータシステム
13日前
株式会社バンダイ
模型部品及び模型玩具
9日前
株式会社バンダイナムコエンターテインメント
コンピュータシステム
9日前
株式会社バンダイナムコエンターテインメント
コンピュータシステム
13日前
株式会社バンダイ
模型部品及び模型玩具
10日前
株式会社バンダイ
模型玩具、及び模型部品
9日前
株式会社バンダイ
プログラム及び通信端末
1か月前
株式会社バンダイ
模型玩具、及び模型部品
13日前
株式会社バンダイ
模型玩具、及び模型部品
10日前
株式会社バンダイナムコエクスペリエンス
ゲーム装置および操作具
3日前
株式会社バンダイ
プログラム及びゲーム装置
1か月前
株式会社バンダイ
模型部品、および模型玩具
9日前
株式会社バンダイ
プログラム及びゲーム装置
1か月前
株式会社バンダイ
プログラム及びゲーム装置
1か月前
株式会社バンダイ
ゲーム装置及びプログラム
2日前
株式会社バンダイ
ゲーム装置及びプログラム
2日前
株式会社バンダイ
プログラム及びゲーム装置
2日前
株式会社バンダイ
プログラム及びゲーム装置
1か月前
株式会社バンダイ
模型素体及びその製造方法
17日前
株式会社バンダイ
プログラム及びゲーム装置
2日前
株式会社バンダイ
プログラム、及びゲーム装置
9日前
続きを見る
他の特許を見る