TOP
|
特許
|
意匠
|
商標
特許ウォッチ
Twitter
他の特許を見る
10個以上の画像は省略されています。
公開番号
2025149915
公報種別
公開特許公報(A)
公開日
2025-10-08
出願番号
2025033063
出願日
2025-03-03
発明の名称
太陽光発電モジュール
出願人
学校法人早稲田大学
,
国立大学法人東京科学大学
代理人
個人
,
個人
,
個人
,
個人
,
個人
主分類
H10F
19/80 20250101AFI20251001BHJP()
要約
【課題】軽量でかつ易分解性を有する太陽光発電モジュールを提供することである。
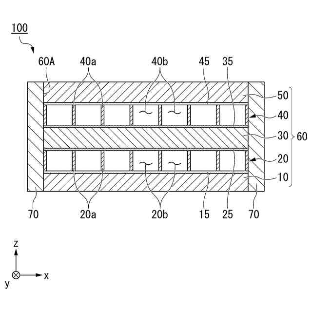
【解決手段】太陽光発電モジュール100は、基板10と、基板10上に配置する、骨格20aと空隙20bとからなる第1リブ構造層20と、第1リブ構造層20上に配置する、1個又は複数個の太陽電池セルを含む発電層30と、発電層30上に配置する、骨格40aと空隙40bとからなる第2リブ構造層40と、第2リブ構造層40上に配置する透明基板50と、が順に積層された積層体60と、積層体60の側面60Aに配置して積層体60の側面60Aを封止する封止材料からなる外枠70と、を備え、少なくとも第1リブ構造層20と発電層30との間、および、第2リブ構造層40と発電層30との間にそれらを接着する接着材料が用いられており、加熱された際に、第1リブ構造層20および第2リブ構造層40の空隙を充満する気体を発生する発泡剤を備える。
【選択図】図1
特許請求の範囲
【請求項1】
基板と、
前記基板の上に配置する、骨格と空隙とからなる第1リブ構造層と、
前記第1リブ構造層の上に配置する、1個又は複数個の太陽電池セルを含む発電層と、
前記発電層の上に配置する、骨格と空隙とからなる第2リブ構造層と、
前記第2リブ構造層の上に配置する透明基板と、が順に積層された積層体と、
前記積層体の側面に配置して前記積層体の側面を封止する封止材料からなる外枠と、を備え、
少なくとも前記第1リブ構造層と前記発電層との間、および、前記第2リブ構造層と前記発電層との間にそれらを接着する接着材料が用いられており、
加熱された際に、前記第1リブ構造層および前記第2リブ構造層の空隙を充満する気体を発生する発泡剤を備える、太陽光発電モジュール。
続きを表示(約 1,000 文字)
【請求項2】
基板と、
前記基板の上に配置する、骨格と空隙とからなる第1リブ構造層と、
前記第1リブ構造層の上に配置する、1個又は複数個の太陽電池セルを含む発電層と、
前記発電層の上に配置する、骨格と空隙とからなる第2リブ構造層と、
前記第2リブ構造層の上に配置する透明基板と、が順に積層された積層体と、
前記積層体の側面に配置して前記積層体の側面を封止する封止材料からなる外枠と、を備え、
少なくとも前記第1リブ構造層と前記発電層との間、および、前記第2リブ構造層と前記発電層との間にそれらを接着する接着材料が用いられており、
加熱された際に、前記発電層内に気体を発生する発泡剤を備える、太陽光発電モジュール。
【請求項3】
前記発泡剤は、融解温度が異なる2種類以上の封止材料の複層で封止した状態で備えられる、請求項1に記載の太陽光発電モジュール。
【請求項4】
前記第1リブ構造層および前記第2リブ構造層は、紙、プラスチック、セルロース系材料、金属、及び、セラミックスフィルムからなる群から選択された材料からなる、請求項1に記載の太陽光発電モジュール。
【請求項5】
前記発泡剤は、発泡温度が160℃以上の材料である、請求項1に記載の太陽光発電モジュール。
【請求項6】
前記発泡剤が前記接着材料に混ぜ込まれている、請求項1に記載の太陽光発電モジュール。
【請求項7】
前記発泡剤が前記第1リブ構造層および前記第2リブ構造層の骨格の一部に塗られたグリスに混ぜ込まれている、請求項1に記載の太陽光発電モジュール。
【請求項8】
前記発泡剤が前記第1リブ構造層および前記第2リブ構造層の骨格の一部に塗られた塗料に混ぜ込まれている、請求項1に記載の太陽光発電モジュール。
【請求項9】
前記発泡剤は、融解温度が異なる2種類以上の封止材料の複層で封止した状態で備えられる、請求項2に記載の太陽光発電モジュール。
【請求項10】
前記第1リブ構造層および前記第2リブ構造層は、紙、プラスチック、セルロース系材料、金属、及び、セラミックスフィルムからなる群から選択された材料からなる、請求項2に記載の太陽光発電モジュール。
(【請求項11】以降は省略されています)
発明の詳細な説明
【技術分野】
【0001】
本発明は、太陽光発電モジュールに関する。
続きを表示(約 1,400 文字)
【背景技術】
【0002】
現在使用している太陽光発電モジュールの多くは、ガラス/封止材/太陽電池セル/封止材/ガラスのサンドイッチ構造であり、十分な強度を確保するためにはサンドイッチ構造の側部にアルミニウムフレームが備えられている。
【先行技術文献】
【特許文献】
【0003】
特開昭61-292971号公報
特開昭58-37975号公報
特開昭59-231878号公報
【発明の概要】
【発明が解決しようとする課題】
【0004】
上記サンドイッチ構造の現行の太陽光発電モジュールにおいて、アルミニウムフレームを用いる場合(主に大型のもの)、高価になるという問題があり、また、アルミニウムフレームを用いない場合(主に小型のもの)でも、強度を確保するために厚板ガラスを用いると重量が重くなるという問題がある。
【0005】
また、封止材が簡便に剥離できないため、ガラスを再利用するのが困難であり、また、通常、太陽電池セルを破棄しているという問題がある。
【0006】
本発明は、上記事情に鑑みてなされたものであり、軽量で廉価にすることが可能であり、かつ易分解性を有する太陽光発電モジュールを提供することを目的とする。
【課題を解決するための手段】
【0007】
本発明は、上記課題を解決するために、以下の手段を提供する。
【0008】
本発明の態様1は、基板と、前記基板上に配置する、骨格と空隙とからなる第1リブ構造層と、前記第1リブ構造層上に配置する、1個又は複数個の太陽電池セルを含む発電層と、前記発電層上に配置する、骨格と空隙とからなる第2リブ構造層と、前記第2リブ構造層上に配置する透明基板と、が順に積層された積層体と、前記積層体の側面に配置して前記積層体の側面を封止する封止材料からなる外枠と、を備え、少なくとも前記第1リブ構造層と前記発電層との間、および、前記第2リブ構造層と前記発電層との間にそれらを接着する接着材料が用いられており、加熱された際に、前記第1リブ構造層および前記第2リブ構造層の空隙を充満する気体を発生する発泡剤を備える、太陽光発電モジュールである。
【0009】
本発明の態様2は、基板と、前記基板の上に配置する、骨格と空隙とからなる第1リブ構造層と、前記第1リブ構造層の上に配置する、1個又は複数個の太陽電池セルを含む発電層と、前記発電層の上に配置する、骨格と空隙とからなる第2リブ構造層と、前記第2リブ構造層の上に配置する透明基板と、が順に積層された積層体と、前記積層体の側面に配置して前記積層体の側面を封止する封止材料からなる外枠と、を備え、少なくとも前記第1リブ構造層と前記発電層との間、および、前記第2リブ構造層と前記発電層との間にそれらを接着する接着材料が用いられており、加熱された際に、前記発電層内に気体を発生する発泡剤を備える、太陽光発電モジュールである。
【0010】
本発明の態様3は、態様1又は態様2の太陽光発電モジュールにおいて、前記発泡剤は、融解温度が異なる2種類以上の封止材料の複層で封止した状態で備えられる。
(【0011】以降は省略されています)
この特許をJ-PlatPat(特許庁公式サイト)で参照する
関連特許
個人
半導体装置
9日前
エイブリック株式会社
半導体装置
15日前
東レ株式会社
太陽電池モジュール
9日前
富士電機株式会社
半導体装置
18日前
エイブリック株式会社
縦型ホール素子
3日前
エイブリック株式会社
縦型ホール素子
3日前
ローム株式会社
半導体装置
10日前
富士通株式会社
半導体装置
8日前
三菱電機株式会社
半導体装置
8日前
株式会社半導体エネルギー研究所
表示装置
3日前
日亜化学工業株式会社
発光素子
16日前
TDK株式会社
圧電素子
8日前
日亜化学工業株式会社
発光素子
8日前
日亜化学工業株式会社
発光装置
7日前
ミツミ電機株式会社
半導体装置
15日前
ローム株式会社
窒化物半導体装置
3日前
TDK株式会社
光検知装置
15日前
デクセリアルズ株式会社
受光装置
14日前
サンケン電気株式会社
半導体装置
14日前
ローム株式会社
TVSダイオード
16日前
ローム株式会社
半導体装置
16日前
富士電機株式会社
半導体装置の製造方法
2日前
ローム株式会社
TVSダイオード
16日前
株式会社東芝
熱電変換装置
16日前
キオクシア株式会社
記憶装置
14日前
内山工業株式会社
太陽電池
14日前
沖電気工業株式会社
発光装置及び表示装置
9日前
株式会社カネカ
太陽電池モジュール
7日前
株式会社カネカ
太陽電池モジュール
16日前
サンケン電気株式会社
発光装置
7日前
日本電気株式会社
超伝導量子回路装置
8日前
株式会社MARUWA
発光装置及び照明器具
7日前
ローム株式会社
光センサ
1日前
東芝ライテック株式会社
発光モジュール
18日前
一般財団法人電力中央研究所
熱化学電池
9日前
ローム株式会社
RAM
7日前
続きを見る
他の特許を見る