TOP
|
特許
|
意匠
|
商標
特許ウォッチ
Twitter
他の特許を見る
10個以上の画像は省略されています。
公開番号
2025142578
公報種別
公開特許公報(A)
公開日
2025-10-01
出願番号
2024042024
出願日
2024-03-18
発明の名称
熱電変換装置
出願人
株式会社東芝
代理人
個人
,
個人
,
個人
主分類
H10N
10/17 20230101AFI20250924BHJP()
要約
【課題】高効率な熱電変換装置を提供する。
【解決手段】熱電変換装置100は、基板1と、基板上にユニレグ型の第1熱電変換素子10Aと、基板上にユニレグ型の第2熱電変換素子10Bと、第1熱電変換素子と第2熱電変換素子を接続する第1接続部5Aと、第1接続部を被覆する被覆部6と、を有する。第1接続部は、熱電変換材料を含む。被覆部の熱伝導率は、第1接続部の熱伝導率よりも低い。
【選択図】図1
特許請求の範囲
【請求項1】
基板と、
前記基板上にユニレグ型の第1熱電変換素子と、
前記基板上にユニレグ型の第2熱電変換素子と、
前記第1熱電変換素子と前記第2熱電変換素子を接続する第1接続部と、
前記第1接続部を被覆する被覆部と、を有し、
前記第1接続部は、熱電変換材料を含み、
前記被覆部の熱伝導率は、前記第1接続部の熱伝導率よりも低い熱電変換装置。
続きを表示(約 1,000 文字)
【請求項2】
前記第1接続部の熱伝導率は、前記被覆部の熱伝導率の1倍より高く200倍以下である請求項1に記載の熱電変換装置。
【請求項3】
前記第1熱電変換素子は、前記基板上に設けられた第1電極及び前記第1電極上に設けられた第1熱電変換層を有し、
前記第2熱電変換素子は、第2熱電変換層を有し、
前記第1接続部は、前記第1電極と前記第2熱電変換層を電気的に接続する請求項1又は2に記載の熱電変換装置。
【請求項4】
前記第2熱電変換素子は、前記第2熱電変換層の前記基板側とは反対側の面に第2電極を有し、
前記第1接続部は、前記第2熱電変換層及び/又は前記第2電極と直接的に接する請求項3に記載の熱電変換装置。
【請求項5】
前記第1接続部の体積は、前記第1熱電変換層の体積の0.01倍以上25倍以下であり、
前記第1接続部の体積は、前記第2熱電変換層の体積の0.01倍以上25倍以下である請求項3に記載の熱電変換装置。
【請求項6】
前記第1接続部は、前記第1電極と直接的に接し、
前記第1電極と前記第1熱電変換層が直接的に接する面積は、前記第1電極と前記第1接続部が直接的に接する面積の1000倍以上50000倍以下である請求項3に記載の熱電変換装置。
【請求項7】
前記基板から前記第1熱電変換層の前記基板側とは反対側に向かう方向を第1方向とし、
前記第1接続部の前記第1方向の長さは、前記第1方向における前記第1熱電変換層の前記基板側の面から前記第2熱電変換層の前記基板側とは反対側の面までの距離以上である請求項3に記載の熱電変換装置。
【請求項8】
前記第1電極の熱伝導率は、前記第1接続部の熱伝導率の50倍以上4500以下であり、
前記第1電極の熱伝導率は、前記第1熱電変換層の熱伝導率の50倍以上4500倍以下であり、
前記第1接続部の熱伝導率は、前記被覆部の熱伝導率の1倍より高く200倍以下であり、
前記第1電極の熱伝導率は、前記被覆部の熱伝導率の66倍以上45000以下である請求項3に記載の熱電変換装置。
【請求項9】
前記第1接続部は、前記熱電変換材料からなる請求項1又は2に記載の熱電変換装置。
【請求項10】
前記第1熱電変換層及び前記第2熱電変換層は、前記熱電変換材料を含む請求項3に記載の熱電変換装置。
(【請求項11】以降は省略されています)
発明の詳細な説明
【技術分野】
【0001】
本発明の実施形態は、熱電変換装置に関する。
続きを表示(約 1,500 文字)
【背景技術】
【0002】
環境中に存在する大量の未利用熱エネルギーを電気エネルギーに変換して発電する熱電変換素子は、互いに温度の異なる2つの熱源の温度差を利用して起電力を生じさせる熱電変換層を備える。両端に温度差を与えることで熱電変換層は、起電力を生じさせる。熱電変換層のこのような作用効果は、ゼーベック効果と呼ばれる。
【先行技術文献】
【特許文献】
【0003】
特開2021-27061号公報
特開2017-152691号公報
特開2017-135278号公報
【発明の概要】
【発明が解決しようとする課題】
【0004】
本発明の実施形態は、高効率な熱電変換装置を提供する。
【課題を解決するための手段】
【0005】
実施形態の熱電変換装置は、基板と、基板上にユニレグ型の第1熱電変換素子と、基板上にユニレグ型の第2熱電変換素子と、第1熱電変換素子と第2熱電変換素子を接続する第1接続部と、第1接続部を被覆する被覆部と、を有する。第1接続部は、熱電変換材料を含む。被覆部の熱伝導率は、第1接続部の熱伝導率よりも低い。
を有する。
【図面の簡単な説明】
【0006】
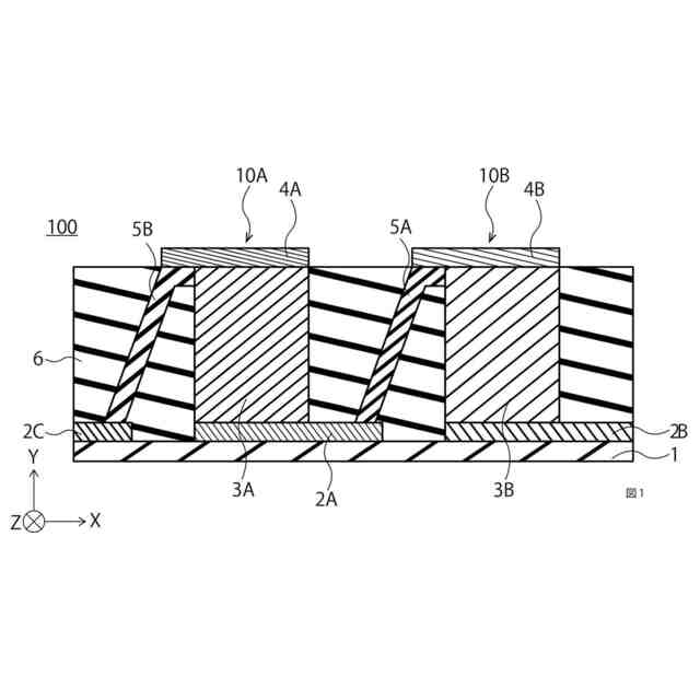
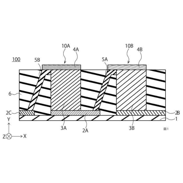
実施形態の熱電変換装置の模式断面図。
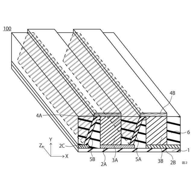
実施形態の熱電変換装置の斜視模式図。
実施形態の熱電変換装置の模式断面図。
実施形態の熱電変換装置の模式断面図。
実施形態の熱電変換装置の模式断面図。
実施形態の熱電変換装置の模式断面図。
実施形態の熱電変換装置の模式断面図。
実施形態の熱電変換装置の製造方法のフローチャート。
実施形態の熱電変換装置の工程模式図。
実施形態の熱電変換装置の工程模式図。
実施形態の熱電変換装置の工程模式図。
実施形態の熱電変換装置の工程模式図。
【発明を実施するための形態】
【0007】
以下、図面を参照して、本発明の実施形態について詳細に説明する。
なお、以下の説明では、同一部材等には同一の符号を付し、一度説明した部材等については適宜その説明を省略する。
【0008】
明細書中の物性値は、温度が25[℃]で、圧力が1[atom]における値である。各部材の厚さ及び組成比は、積層方向の距離の平均値である。
【0009】
(第1実施形態)
第1実施形態は、熱電変換装置に関する。第1実施形態の熱電変換装置100の模式断面図を図1に示す。図1に示した熱電変換装置100は、基板1と、基板1上にユニレグ型の第1熱電変換素子10Aと、基板1上にユニレグ型の第2熱電変換素子10Bと、第1熱電変換素子10Aと第2熱電変換素子10Bを接続する第1接続部5Aと、第1接続部5Aを被覆する被覆部6と、を有する。熱電変換装置100は、さらに、電極(第5電極2C)と第2接続部5Bを有する。第1実施形態の熱電変換装置100の斜視模式図を図2に示す。斜視模式図を図2において、内部の第1接続部5A及び第2接続部5Bを破線で囲み、さらに薄いグレーのハッチングを施して示している。
【0010】
第1実施形態において、熱電変換装置100に含まれる熱電変換素子の数は、説明を簡略化するために2つを例示している。第1実施形態の変形例として、3つ以上の熱電変換素子を含む熱電変換装置も含まれる。3つ以上の熱電変換素子を含む熱電変換装置の場合、第1熱電変換素子10Aと第2熱電変換素子10B間の接続形態を複数繰り返すことが好ましい。
(【0011】以降は省略されています)
この特許をJ-PlatPat(特許庁公式サイト)で参照する
関連特許
株式会社東芝
センサ
6日前
株式会社東芝
センサ
4か月前
株式会社東芝
固定子
1か月前
株式会社東芝
モータ
1日前
株式会社東芝
センサ
1か月前
株式会社東芝
センサ
1か月前
株式会社東芝
センサ
6日前
株式会社東芝
制御装置
4か月前
株式会社東芝
吸音装置
1日前
株式会社東芝
回転電機
3か月前
株式会社東芝
燃料電池
2か月前
株式会社東芝
金型構造
6日前
株式会社東芝
判定装置
3か月前
株式会社東芝
立て看板
3か月前
株式会社東芝
電子機器
3か月前
株式会社東芝
ドア構造
1か月前
株式会社東芝
搬送装置
3か月前
株式会社東芝
配線治具
2か月前
株式会社東芝
電子装置
今日
株式会社東芝
遮断装置
3か月前
株式会社東芝
回路素子
1か月前
株式会社東芝
半導体装置
13日前
株式会社東芝
半導体装置
4か月前
株式会社東芝
主幹制御器
2か月前
株式会社東芝
半導体装置
4か月前
株式会社東芝
電動送風機
1か月前
株式会社東芝
半導体装置
3日前
株式会社東芝
半導体装置
3か月前
株式会社東芝
半導体装置
2か月前
株式会社東芝
半導体装置
3か月前
株式会社東芝
電磁流量計
2か月前
株式会社東芝
半導体装置
3日前
株式会社東芝
半導体装置
3日前
株式会社東芝
半導体装置
3日前
株式会社東芝
半導体装置
4か月前
株式会社東芝
半導体装置
3日前
続きを見る
他の特許を見る