TOP
|
特許
|
意匠
|
商標
特許ウォッチ
Twitter
他の特許を見る
10個以上の画像は省略されています。
公開番号
2025149989
公報種別
公開特許公報(A)
公開日
2025-10-09
出願番号
2024050608
出願日
2024-03-27
発明の名称
電解水生成設備および原水タンク浄化方法
出願人
株式会社クボタ
代理人
弁理士法人森本国際特許事務所
主分類
C02F
1/461 20230101AFI20251002BHJP(水,廃水,下水または汚泥の処理)
要約
【課題】原水タンクに残った原水の腐敗の防止、原水タンク自体の除菌を行える電解水生成設備および原水タンク浄化方法を提供する。
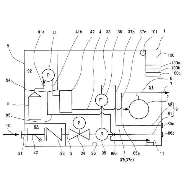
【解決手段】原水を貯留する原水タンク201と電解水生成装置1と水源から原水タンク201に原水を汲み上げる原水ポンプ203と原水タンク201の原水を電解水生成装置1に供給する給水ポンプ204を備え、電解水生成装置1の電解水供給系6は、電解水を系外へ吐出する系外供給系205と、電解水を系内の原水タンク201に供給する系内供給系206と、系外供給系205と系内供給系206の流路の開閉を制御する三方弁207を有し、原水タンク201は、タンク内の貯水量を計測する水位計208を有し、電解水生成装置1は、原水タンク201に供給する電解水の供給量を計測する流量計36を有する。
【選択図】図1
特許請求の範囲
【請求項1】
原水を貯留する原水タンクと電解水生成装置と水源から原水タンクに原水を汲み上げる原水ポンプと原水タンクの原水を電解水生成装置に供給する給水ポンプを備え、
電解水生成装置は、電解液の電気分解により塩素ガスを生成し、給水中に混気して電解水を生成する電解槽と、給水ポンプで供給する原水を電解槽に給水する給水系と、電解液を電解槽へ供給する電解液供給系と、電解槽で生成した電解水を送り出す電解水供給系を備え、
電解水供給系は、電解水を系外へ吐出する系外供給系と、電解水を系内の原水タンクに供給する系内供給系と、系外供給系と系内供給系の流路の開閉を制御する流路制御装置を有し、
原水タンクは、タンク内の貯水量を計測する貯水量計測装置を有し、
電解水生成装置は、原水タンクに供給する電解水の供給量を計測する電解水量計測装置を有することを特徴とする電解水生成設備。
続きを表示(約 950 文字)
【請求項2】
さらに、原水タンク内に設定塩素濃度の溶液を生成するための濃度調整装置を備え、 濃度調整装置は、貯水量計測装置で計測する原水タンク内の現原水量を、生成する設定溶液量とし、設定溶液量に見合う溶質量として必要な設定電解水量を算出し、
電解水生成装置から系内供給系を通して設定電解水量に見合う電解水を原水タンクに電解水量計測装置で計測しつつ供給することを特徴とする請求項1に記載の電解水生成設備。
【請求項3】
さらに、原水タンク内に設定塩素濃度の溶液を生成するための濃度調整装置を備え、 濃度調整装置は、設定溶液量に見合う溶質量として必要な設定電解水量を算出し、
電解水生成装置から系内供給系を通して設定電解水量に見合う電解水を原水タンクに電解水量計測装置で計測しつつ供給し、
貯水量計測装置で計測する原水タンク内の現原水量に基づいて設定溶液量に対して不足する不足原水量を求め、原水ポンプにより不足原水量に見合う原水を原水タンクに供給することを特徴とする請求項1に記載の電解水生成設備。
【請求項4】
請求項1記載の電解水生成設備において、原水タンク内に設定塩素濃度の溶液を生成するために、貯水量計測装置で計測する原水タンク内の現原水量を、生成する設定溶液量とし、設定溶液量に見合う溶質量として必要な設定電解水量を算出し、
電解水生成装置から系内供給系を通して設定電解水量に見合う電解水を原水タンクに電解水量計測装置で計測しつつ供給することを特徴とする電解水生成設備の原水タンク浄化方法。
【請求項5】
請求項1記載の電解水生成設備において、原水タンク内に設定塩素濃度の溶液を生成するために、設定溶液量に見合う溶質量として必要な設定電解水量を算出し、
電解水生成装置から系内供給系を通して設定電解水量に見合う電解水を原水タンクに電解水量計測装置で計測しつつ供給し、
供給貯水量計測装置で計測する原水タンク内の現原水量に基づいて設定溶液量に対して不足する不足原水量を求め、原水ポンプにより不足原水量に見合う原水を原水タンクに供給することを特徴とする電解水生成設備の原水タンク浄化方法。
発明の詳細な説明
【技術分野】
【0001】
本発明は、電解水生成設備に関し、電解により次亜塩素酸水を生成する技術に貢献するものである。
続きを表示(約 1,300 文字)
【背景技術】
【0002】
従来、電解水生成装置で生成した電解次亜塩素酸水を利用する分野として、農畜産業分野、食料分野、加湿空気清浄機など機内で水を扱う家電や設備の分野や、空調機、上下水インフラ、人が集まる学校や病院や商業施設等々における閉鎖空間、半閉鎖空間での除菌、衛生管理、感染症対策、BCP(事業継続計画)がある。
【0003】
また、農畜産業分野においては、酸性電解水(電解次亜塩素酸水)が農産物に使用する特定農薬(特定防除資材)として使用可能となり、活用が促進されている。
【0004】
電解水生成装置は、電解槽で原料薬液を電気分解して塩素ガスを発生させ、塩素ガスを給水系から供給する給水中に混気し、電解水を生成している。
【0005】
特許文献1に記載する浄化装置を備えた貯水槽は、水の除菌と不純物の除去を行うものである。浄化装置は、浄化する水を貯留する浄化タンク、貯水槽の水を浄化タンクに供給するか否かを制御する循環バルブ、浄化タンク内に配設されて、電圧が印可されることにより浄化タンク内の水を除菌すると共にその中に含まれる不純物を集める電極部、浄化タンクで浄化した水を貯水槽の上部に戻す循環ポンプ、浄化タンクに接続されて、電極部で水を浄化した際に生じる不純物濃度の濃い水を排水する排水バルブ、循環バルブ及び排水バルブの開閉制御を行うと共に、循環ポンプの運転停止制御を行い、かつ、電極部への通電制御を行う制御部を備えている。
【先行技術文献】
【特許文献】
【0006】
特開2004-121928
【発明の概要】
【発明が解決しようとする課題】
【0007】
従来、電解水生成装置には種々のものがあり、例えば電解型次亜塩素酸水生成装置は、薬液(塩酸)を薬液ポンプにより無隔膜電解槽に移送し、無隔膜電解槽で薬液を電気分解して塩素ガス生成し、塩素ガスを原水と混合して次亜塩素酸水を生成し、外部に吐水する。
【0008】
電解型次亜塩素酸水生成装置において、井戸水や農業用水など、水道水以外の水を原水として使用する場合、水圧一定化のために原水を一旦タンクに貯水してからポンプで電解型次亜塩素酸水生成装置に送る使用方法が多い。
【0009】
この水道水以外の原水は、塩素消毒しておらず、あるいは塩素濃度管理が厳密でないことが多く、そのため水道水以外の原水には雑菌が存在することがある。また、貯水目的で水道水をタンクに溜めて使用する場合もある
これらの使用方法において、次亜塩素酸水生成後に、原水タンクに残った原水を次回の使用時まで滞留させていると、消毒剤の無い原水が腐敗することがある。また、原水タンク自体も原水の雑菌により汚染されるリスクがある。
【0010】
本発明は上記の課題を解決するものであり、原水タンクに残った原水の腐敗の防止、原水タンク自体の除菌を行える電解水生成設備および原水タンク浄化方法を提供することを目的とする。
【課題を解決するための手段】
(【0011】以降は省略されています)
この特許をJ-PlatPat(特許庁公式サイト)で参照する
関連特許
株式会社クボタ
田植機
1か月前
株式会社クボタ
作業車
1か月前
株式会社クボタ
田植機
1か月前
株式会社クボタ
作業車
11日前
株式会社クボタ
作業車
11日前
株式会社クボタ
田植機
1か月前
株式会社クボタ
作業車
18日前
株式会社クボタ
作業車
10日前
株式会社クボタ
作業車
10日前
株式会社クボタ
作業車
10日前
株式会社クボタ
作業車
18日前
株式会社クボタ
作業機
1か月前
株式会社クボタ
作業車
3日前
株式会社クボタ
移植機
3日前
株式会社クボタ
作業車
1か月前
株式会社クボタ
作業車
3日前
株式会社クボタ
作業車
2日前
株式会社クボタ
作業機
1か月前
株式会社クボタ
作業車
2日前
株式会社クボタ
作業車
1か月前
株式会社クボタ
作業車
20日前
株式会社クボタ
移植機
3日前
株式会社クボタ
作業車両
20日前
株式会社クボタ
作業車両
10日前
株式会社クボタ
作業車両
10日前
株式会社クボタ
作業車両
20日前
株式会社クボタ
作業車両
20日前
株式会社クボタ
作業車両
20日前
株式会社クボタ
作業車両
20日前
株式会社クボタ
作業車両
20日前
株式会社クボタ
作業車両
20日前
株式会社クボタ
作業車両
20日前
株式会社クボタ
作業車両
20日前
株式会社クボタ
多目的車両
11日前
株式会社クボタ
圃場作業車
1か月前
株式会社クボタ
圃場作業車
1か月前
続きを見る
他の特許を見る