TOP
|
特許
|
意匠
|
商標
特許ウォッチ
Twitter
他の特許を見る
10個以上の画像は省略されています。
公開番号
2025150514
公報種別
公開特許公報(A)
公開日
2025-10-09
出願番号
2024051422
出願日
2024-03-27
発明の名称
作業車
出願人
株式会社クボタ
代理人
弁理士法人R&C
主分類
B62D
25/04 20060101AFI20251002BHJP(鉄道以外の路面車両)
要約
【課題】製造コストの増大を回避できると共に、後座席に座る搭乗者にとっての利便性が良好な作業車を提供する。
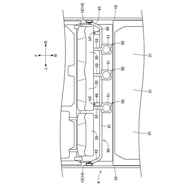
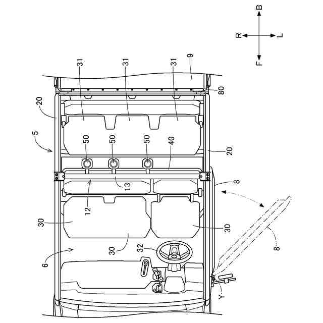
【解決手段】搭乗者が搭乗可能な搭乗空間6と、搭乗空間6を跨ぐように設けられた門型フレームと、を備え、門型フレームは、車体左右方向に沿って延びる横フレーム部と、横フレーム部の左端部から下側へ延びる左縦フレーム部15と、横フレーム部の右端部から下側へ延びる右縦フレーム部16と、を有しており、後座席31に座る搭乗者が利用可能な手すり40を備え、手すり40は、車体左右方向に沿って延びる第1部位41と、第1部位41の左端部から前側へ延びる第2部位42と、第1部位41の右端部から前側へ延びる第3部位43と、を有しており、第2部位42は左縦フレーム部15に連結されており、第3部位43は右縦フレーム部16に連結されている。
【選択図】図5
特許請求の範囲
【請求項1】
搭乗者が搭乗可能な搭乗空間と、
前記搭乗空間を跨ぐように設けられた門型フレームと、を備え、
前記搭乗空間に、前座席と、前記前座席よりも車体後側に位置する後座席と、が設けられており、
前記門型フレームは、車体左右方向に沿って延びる横フレーム部と、前記横フレーム部の左端部から下側へ延びる左縦フレーム部と、前記横フレーム部の右端部から下側へ延びる右縦フレーム部と、を有しており、
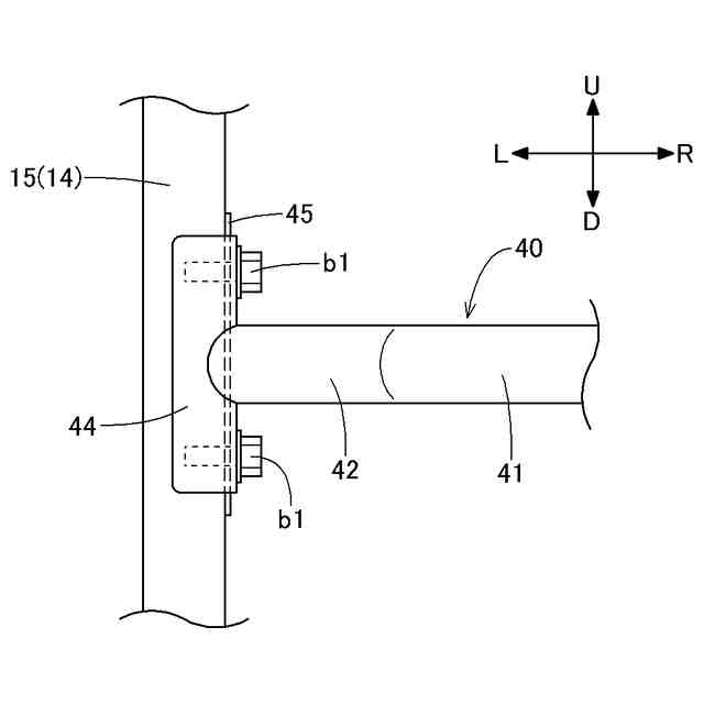
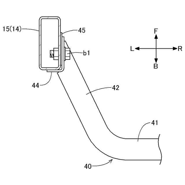
前記後座席に座る搭乗者が利用可能な手すりを備え、
前記手すりは、車体左右方向に沿って延びる第1部位と、前記第1部位の左端部から前側へ延びる第2部位と、前記第1部位の右端部から前側へ延びる第3部位と、を有しており、
前記第2部位は前記左縦フレーム部に連結されており、
前記第3部位は前記右縦フレーム部に連結されている作業車。
続きを表示(約 240 文字)
【請求項2】
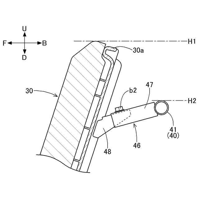
前記前座席と前記手すりとに亘る連結部を備え、
前記手すりは、前記連結部を介して前記前座席に連結されている請求項1に記載の作業車。
【請求項3】
前記第1部位の上端位置は、前記前座席の上端位置よりも低い請求項1または2に記載の作業車。
【請求項4】
前記手すりは金属製である請求項1または2に記載の作業車。
【請求項5】
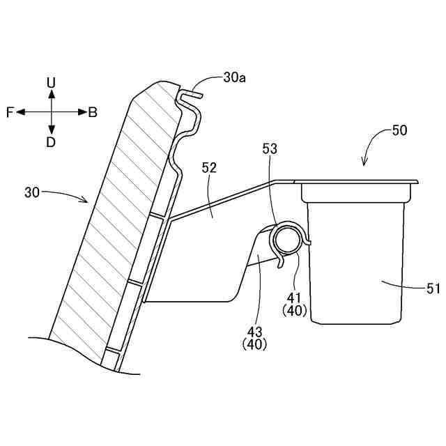
前記第1部位にドリンクホルダーが取り付けられている請求項1または2に記載の作業車。
発明の詳細な説明
【技術分野】
【0001】
本発明は、作業車に関する。
続きを表示(約 1,200 文字)
【背景技術】
【0002】
作業車として、例えば、特許文献1に記載のものが既に知られている。この作業車においては、搭乗者が搭乗可能な搭乗空間が備えられている。当該搭乗空間には、前座席(特許文献1では「前部座席」)と、当該前座席よりも車体後側に位置する後座席(特許文献1では「後部座席」)と、が設けられている。
【0003】
また、この作業車は、搭乗者を保護するためのロプスを備えている。
【先行技術文献】
【特許文献】
【0004】
特開2021-134770号公報
【発明の概要】
【発明が解決しようとする課題】
【0005】
特許文献1に記載の作業車において、後座席に座る搭乗者が利用可能な手すりを設けることが考えられる。この場合、手すりによって、後座席に座る搭乗者にとっての利便性が向上する。
【0006】
また、特許文献1には、ロプスの構成については詳述されていない。ここで、当該ロプスが、搭乗空間を跨ぐように設けられた門型フレームを有すると共に、当該門型フレームが、車体左右方向に沿って延びる横フレーム部と、横フレーム部の左端部から下側へ延びる左縦フレーム部と、横フレーム部の右端部から下側へ延びる右縦フレーム部と、を有する構成が考えられる。
【0007】
当該構成において、横フレーム部よりも下側に、左縦フレーム部と右縦フレーム部とを繋ぐ補強フレームを設けると共に、当該補強フレームに、上記の手すりを取り付けることが考えられる。この場合、補強フレームによって門型フレームの強度を確保できる。
【0008】
しかしながら、この場合、部品点数が増大しがちである。その結果、作業車の製造コストが増大しがちである。
【0009】
本発明の目的は、製造コストの増大を回避できると共に、後座席に座る搭乗者にとっての利便性が良好な作業車を提供することである。
【課題を解決するための手段】
【0010】
本発明の特徴は、搭乗者が搭乗可能な搭乗空間と、前記搭乗空間を跨ぐように設けられた門型フレームと、を備え、前記搭乗空間に、前座席と、前記前座席よりも車体後側に位置する後座席と、が設けられており、前記門型フレームは、車体左右方向に沿って延びる横フレーム部と、前記横フレーム部の左端部から下側へ延びる左縦フレーム部と、前記横フレーム部の右端部から下側へ延びる右縦フレーム部と、を有しており、前記後座席に座る搭乗者が利用可能な手すりを備え、前記手すりは、車体左右方向に沿って延びる第1部位と、前記第1部位の左端部から前側へ延びる第2部位と、前記第1部位の右端部から前側へ延びる第3部位と、を有しており、前記第2部位は前記左縦フレーム部に連結されており、前記第3部位は前記右縦フレーム部に連結されていることにある。
(【0011】以降は省略されています)
この特許をJ-PlatPat(特許庁公式サイト)で参照する
関連特許
株式会社クボタ
作業車
8日前
株式会社クボタ
作業車
7日前
株式会社クボタ
移植機
今日
株式会社クボタ
作業車
今日
株式会社クボタ
作業車
今日
株式会社クボタ
作業車
1か月前
株式会社クボタ
作業車
8日前
株式会社クボタ
作業機
27日前
株式会社クボタ
作業車
17日前
株式会社クボタ
作業車
15日前
株式会社クボタ
作業車
15日前
株式会社クボタ
作業車
7日前
株式会社クボタ
作業車
7日前
株式会社クボタ
移植機
今日
株式会社クボタ
作業車両
17日前
株式会社クボタ
作業車両
17日前
株式会社クボタ
作業車両
17日前
株式会社クボタ
作業車両
7日前
株式会社クボタ
作業車両
7日前
株式会社クボタ
作業車両
17日前
株式会社クボタ
作業車両
17日前
株式会社クボタ
作業車両
17日前
株式会社クボタ
作業車両
17日前
株式会社クボタ
作業車両
17日前
株式会社クボタ
作業車両
17日前
株式会社クボタ
圃場作業車
8日前
株式会社クボタ
コンバイン
8日前
株式会社クボタ
ガスケット
今日
株式会社クボタ
コンバイン
8日前
株式会社クボタ
圃場作業車
1か月前
株式会社クボタ
多目的車両
8日前
株式会社クボタ
多目的車両
8日前
株式会社クボタ
多目的車両
8日前
株式会社クボタ
多目的車両
8日前
株式会社クボタ
豆類選別機
2日前
株式会社クボタ
豆類選別機
2日前
続きを見る
他の特許を見る