TOP
|
特許
|
意匠
|
商標
特許ウォッチ
Twitter
他の特許を見る
10個以上の画像は省略されています。
公開番号
2025150614
公報種別
公開特許公報(A)
公開日
2025-10-09
出願番号
2024051606
出願日
2024-03-27
発明の名称
開水路の底部補強構造、および開水路の底部補強構造の施工方法
出願人
日本製鉄株式会社
代理人
弁理士法人樹之下知的財産事務所
主分類
E02B
3/04 20060101AFI20251002BHJP(水工;基礎;土砂の移送)
要約
【課題】壁体を打設して底部を掘り下げる施工がされた開水路において底部地盤の強度を向上させるにあたり、施工性を向上させるとともにCO
2
削減にも寄与する。
【解決手段】開水路の両側で地中に打設される第1および第2の壁体と、上記第1および第2の壁体の間で上記開水路の底部地盤に打設される丸太とを備える開水路の底部補強構造が提供される。
【選択図】図1
特許請求の範囲
【請求項1】
開水路の両側で地中に打設される第1および第2の壁体と、
前記第1および第2の壁体の間で前記開水路の底部地盤に打設される丸太と
を備える開水路の底部補強構造。
続きを表示(約 900 文字)
【請求項2】
前記丸太の少なくとも一部は、平面配置において前記第1または第2の壁体が形成する凹部に打設される、請求項1に記載の開水路の底部補強構造。
【請求項3】
前記第1および第2の壁体、または前記丸太の少なくとも一部の少なくともいずれかが、前記底部地盤の支持層まで打設される、請求項1に記載の開水路の底部補強構造。
【請求項4】
前記丸太の少なくとも一部は、前記第1の壁体の下端から前記第2の壁体側に引かれた前記底部地盤の受働崩壊線よりも深く打設される、請求項1に記載の開水路の底部補強構造。
【請求項5】
前記丸太は、前記第1の壁体の下端から前記第2の壁体側に引かれた前記底部地盤の第1の受働崩壊線と、前記第2の壁体の下端から前記第1の壁体側に引かれた前記底部地盤の第2の受働崩壊線との関係において、前記第1の壁体から前記第1の受働崩壊線と前記第2の受働崩壊線との交点までの間で前記第1の受働崩壊線よりも深く打設される第1の丸太と、前記交点から前記第2の壁体までの間で前記第2の受働崩壊線よりも深く打設される第2の丸太とを含む、請求項1に記載の開水路の底部補強構造。
【請求項6】
前記第1または第2の壁体の頭部と前記丸太の少なくとも一部とを連結する横架材をさらに備える、請求項1に記載の開水路の底部補強構造。
【請求項7】
前記開水路の延長方向の単位長さあたりで、前記丸太の炭素貯蔵量が前記第1および第2の壁体の打設時の重機による炭素排出量以上である、請求項1に記載の開水路の底部補強構造。
【請求項8】
請求項1から請求項7のいずれか1項に記載の開水路の底部補強構造の施工方法であって、
前記第1および第2の壁体の間で前記開水路の底部を掘り下げる工程と、
掘り下げられた前記開水路の底部に前記丸太を打設する工程と
を含む、開水路の底部補強構造の施工方法。
【請求項9】
前記丸太を水中で打設する、請求項8に記載の開水路の底部補強構造の施工方法。
発明の詳細な説明
【技術分野】
【0001】
本発明は、開水路の底部補強構造、および開水路の底部補強構造の施工方法に関する。
続きを表示(約 3,000 文字)
【背景技術】
【0002】
近年、豪雨災害が頻発しており、河川などの堤防では越流水による洪水や堤体の洗掘による破堤、決壊などが懸念される。このような災害への対策として、例えば特許文献1では、河川などの開水路の底部地盤を掘削して掘り下げ、掘削土を築堤部材として再利用する技術が提案されている。この技術によれば、開水路の底部地盤を掘り下げることによって堤防内の最大保水量を増大させ、増水時における越流の発生を抑制することができる。
【先行技術文献】
【特許文献】
【0003】
特開2007-9481号公報
【発明の概要】
【発明が解決しようとする課題】
【0004】
上記のような開水路の底部地盤の掘削にあたっては、両側に鋼矢板壁などの壁体を打設して安定させた上で、壁体の間を掘削して掘り下げることが行われている。この場合、壁体は掘削後の開水路の底部地盤から十分な受働土圧を受けられる深さまで打設する必要があるため、打設深さが深くなり、必要な材料が増加する傾向があった。また、例えば河川などの場合、掘り下げた後の開水路の底部地盤は延長方向について一定の勾配を維持していることが治水上好ましいが、水流による浸食や地震などによって底部地盤の形状が変化し、それによって勾配が一定でなくなってしまう場合があった。例えばセメントを用いた地盤改良工法を用いれば底部地盤の強度を向上させることができるが、地盤改良工法は水中での施工が困難であるため水流を迂回させるなどして底部地盤を空気中に露出させるドライアップが必要になり、またセメントプラントや打設重機のための広い施工ヤードも必要とされるため施工は容易ではない。また、地球温暖化対策としてのCO
2
削減は建設業においても重要な課題であり、大型重機の燃料消費によって多量のCO
2
を排出する地盤改良工法では特に改善の余地が大きい。
【0005】
そこで、本発明は、壁体を打設して底部を掘り下げる施工がされた開水路において底部地盤の強度を向上させるにあたり、施工性を向上させるとともにCO
2
削減にも寄与することが可能な、開水路の底部補強構造、および開水路の底部補強構造の施工方法を提供することを目的とする。
【課題を解決するための手段】
【0006】
[1]開水路の両側で地中に打設される第1および第2の壁体と、上記第1および第2の壁体の間で上記開水路の底部地盤に打設される丸太とを備える開水路の底部補強構造。
[2]上記丸太の少なくとも一部は、平面配置において上記第1または第2の壁体が形成する凹部に打設される、[1]に記載の開水路の底部補強構造。
[3]上記第1および第2の壁体、または上記丸太の少なくとも一部の少なくともいずれかが、上記底部地盤の支持層まで打設される、[1]に記載の開水路の底部補強構造。
[4]上記丸太の少なくとも一部は、上記第1の壁体の下端から上記第2の壁体側に引かれた上記底部地盤の受働崩壊線よりも深く打設される、[1]に記載の開水路の底部補強構造。
[5]上記丸太は、上記第1の壁体の下端から上記第2の壁体側に引かれた上記底部地盤の第1の受働崩壊線と、上記第2の壁体の下端から上記第1の壁体側に引かれた上記底部地盤の第2の受働崩壊線との関係において、上記第1の壁体から上記第1の受働崩壊線と上記第2の受働崩壊線との交点までの間で上記第1の受働崩壊線よりも深く打設される第1の丸太と、上記交点から上記第2の壁体までの間で上記第2の受働崩壊線よりも深く打設される第2の丸太とを含む、[1]に記載の開水路の底部補強構造。
[6]上記第1または第2の壁体の頭部と上記丸太の少なくとも一部とを連結する横架材をさらに備える、[1]に記載の開水路の底部補強構造。
[7]上記開水路の延長方向の単位長さあたりで、上記丸太の炭素貯蔵量が上記第1および第2の壁体の打設時の重機による炭素排出量以上である、[1]に記載の開水路の底部補強構造。
[8][1]から[7]のいずれか1項に記載の開水路の底部補強構造の施工方法であって、上記第1および第2の壁体の間で上記開水路の底部を掘り下げる工程と、掘り下げられた上記開水路の底部に上記丸太を打設する工程とを含む、開水路の底部補強構造の施工方法。
[9]上記丸太を水中で打設する、[8]に記載の開水路の底部補強構造の施工方法。
【発明の効果】
【0007】
上記の構成によれば、開水路の底部地盤に丸太が打設されることによって、水流による浸食を抑えることができる。また、底部地盤と第1および第2の壁体とによって構成される構造体の滑動やせん断に対する抵抗力が高められるため、地震などによる底部地盤の形状の変化も抑制できる。丸太を用いる工法は水中での施工も容易であるため、例えばセメントを用いた地盤改良工法で必要とされるドライアップが不要であり、また施工スペースを縮減し施工期間を短縮できるため施工性が高い。また、木材である丸太の炭素貯蔵量によってCO
2
削減にも寄与することができる。
【図面の簡単な説明】
【0008】
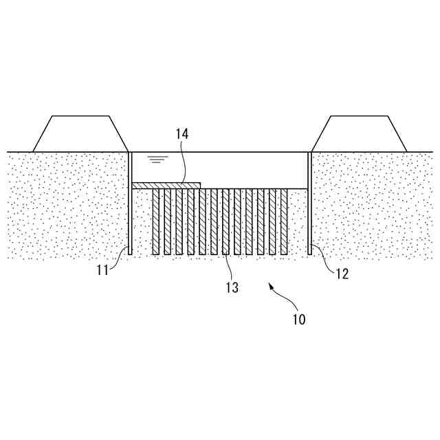
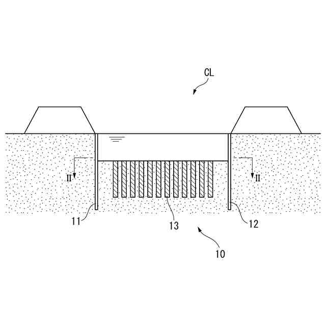
本発明の一実施形態に係る開水路の底部補強構造を示す概略的な断面図である。
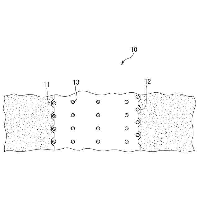
図1の開水路の底部補強構造を示す概略的な平面図である。
本発明の実施形態における丸太の打設深さと開水路の底部地盤の受働崩壊線との関係の例を示す図である。
本発明の実施形態における丸太の打設深さと開水路の底部地盤の受働崩壊線との関係の例を示す図である。
本発明の実施形態におけるさらなる補強構造の例を示す図である。
本発明の実施形態におけるさらなる補強構造の例を示す図である。
本発明の実施形態におけるさらなる補強構造の例を示す図である。
改良率の定義について説明するための図である。
【発明を実施するための形態】
【0009】
以下に添付図面を参照しながら、本発明の好適な実施形態について詳細に説明する。なお、本明細書および図面において、実質的に同一の機能構成を有する構成要素については、同一の符号を付することにより重複した説明を省略する。
【0010】
図1は本発明の一実施形態に係る開水路の底部補強構造を示す概略的な断面図であり、図2は図1のII-II線に沿った矢視図、すなわち開水路の底部補強構造を示す概略的な平面図である。本実施形態において、底部補強構造10は、開水路CLの両側で地中に打設される鋼矢板壁11,12と、鋼矢板壁11,12の間で開水路CLの底部に打設される丸太13とを含む。鋼矢板壁11,12は、第1および第2の壁体の例であり、他の実施形態ではコンクリート壁などであってもよい。丸太13は、木片を釘や接着によりつなぎ合わせて加工したものであってもよい。
(【0011】以降は省略されています)
この特許をJ-PlatPat(特許庁公式サイト)で参照する
関連特許
日本製鉄株式会社
線材
4日前
日本製鉄株式会社
床構造
19日前
日本製鉄株式会社
鋼部品
10日前
日本製鉄株式会社
鋼部品
10日前
日本製鉄株式会社
床構造
19日前
日本製鉄株式会社
橋脚構造
8日前
日本製鉄株式会社
溶接継手
2日前
日本製鉄株式会社
鍛鋼ロール
9日前
日本製鉄株式会社
腐食センサ
8日前
日本製鉄株式会社
鍛鋼ロール
9日前
日本製鉄株式会社
学習システム
11日前
日本製鉄株式会社
管理システム
8日前
日本製鉄株式会社
高Ni合金鋼
8日前
日本製鉄株式会社
高Ni合金鋼
8日前
日本製鉄株式会社
原油油槽用鋼材
4日前
日本製鉄株式会社
高炉の操業方法
10日前
日本製鉄株式会社
溶鉄の製造方法
10日前
日本製鉄株式会社
スラグの処理方法
9日前
日本製鉄株式会社
金属材の製造方法
15日前
日本製鉄株式会社
鋼矢板の製造方法
9日前
日本製鉄株式会社
鋼の連続鋳造方法
9日前
日本製鉄株式会社
焼結鉱の製造方法
9日前
日本製鉄株式会社
鉄道車両用の台車
11日前
日本製鉄株式会社
鋼の連続鋳造方法
15日前
日本製鉄株式会社
金属材の製造方法
10日前
日本製鉄株式会社
モールドパウダー
9日前
日本製鉄株式会社
鉄鉱石の選別方法
1日前
日本製鉄株式会社
鉄道車両用の車軸
2日前
日本製鉄株式会社
鉄鉱石の選別方法
8日前
日本製鉄株式会社
溶鋼の脱窒処理方法
8日前
日本製鉄株式会社
鉄道車両用の台車枠
3日前
日本製鉄株式会社
金属部品の製造方法
8日前
日本製鉄株式会社
計測装置及び計測方法
16日前
日本製鉄株式会社
スプリング圧接式温度計
15日前
日本製鉄株式会社
鋼板およびその製造方法
17日前
日本製鉄株式会社
溶接継手および筒状構造物
15日前
続きを見る
他の特許を見る