TOP
|
特許
|
意匠
|
商標
特許ウォッチ
Twitter
他の特許を見る
公開番号
2025150658
公報種別
公開特許公報(A)
公開日
2025-10-09
出願番号
2024051664
出願日
2024-03-27
発明の名称
吸収体製造装置
出願人
株式会社瑞光
代理人
個人
主分類
A61F
13/15 20060101AFI20251002BHJP(医学または獣医学;衛生学)
要約
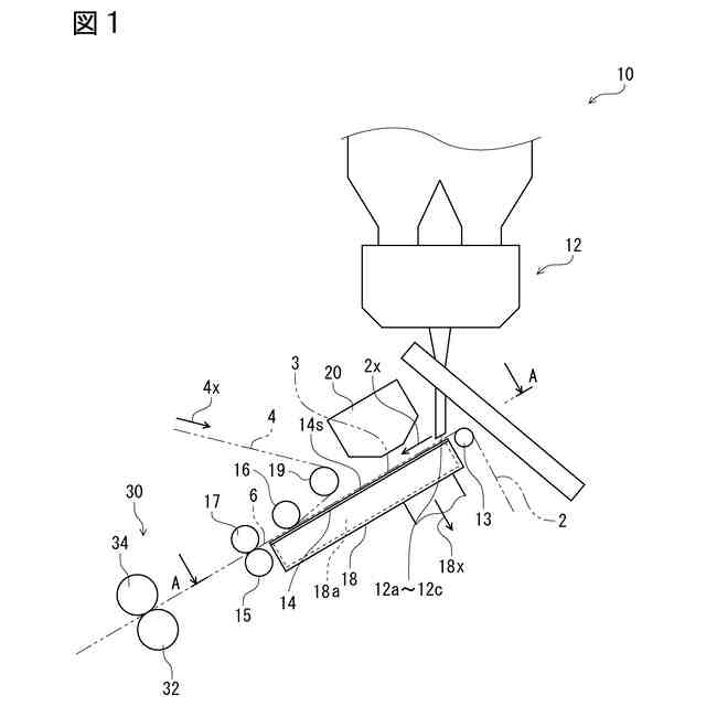
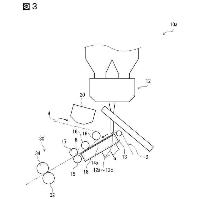
【課題】製造ラインの停止時間を短縮でき、吸収性物質を含む粉粒体をより精度良く所望形状に散布できる吸収体製造装置を提供する。
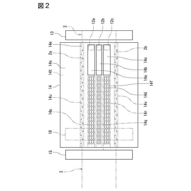
【解決手段】第1ローラ13と第2ローラ15との間の搬送経路3に沿って搬送中の第1シート2の一方主面に、粉粒体供給装置12の散布口12a~12cから、吸収性物質を含む粉粒体を散布する。第1シート2の他方主面に接して第1シート2を支持する支持面14sを有するシート支持部材14に、散布口12a~12cに対向するように支持面14sに開口する第1吸引孔14a~14cが形成され、第1吸引孔14a~14cは負圧源18aに接続され第1シート2を吸引する。接着剤塗布装置20が第1シート2の一方主面及び/又は第2シート4の一方主面に接着剤を塗布し、案内ローラ16が第1シート2の一方主面に第2シート4の一方主面が重なるように第2シート4を案内する。
【選択図】図1
特許請求の範囲
【請求項1】
第1シートの搬送経路を規定する第1ローラ及び第2ローラと、
前記第1ローラと前記第2ローラとの間の前記搬送経路に対向するように配置された散布口を有し、前記散布口から、前記搬送経路に沿って搬送されている前記第1シートの一方主面に、吸収性物質を含む粉粒体を散布する粉粒体供給装置と、
前記粉粒体供給装置の前記散布口よりも前記第2ローラ側に配置され、前記搬送経路に沿って搬送され前記粉粒体が散布された前記第1シートの前記一方主面に第2シートの一方主面が重なるように、前記第2シートを案内する案内ローラと、
前記第1ローラと前記案内ローラとの間の前記搬送経路に沿って搬送されている前記第1シートの他方主面に接して前記第1シートを支持する支持面を有し、前記粉粒体供給装置の前記散布口に対向するように前記支持面に開口する第1吸引孔が形成され、前記第1吸引孔は負圧源に接続され前記第1シートを吸引する、シート支持部材と、
前記第1シートの前記一方主面に前記第2シートの前記一方主面が重なる前に、前記第1シートの前記一方主面と前記第2シートの前記一方主面とのいずれか一方又は両方に接着剤を塗布する接着剤塗布装置と、
を備える、吸収体製造装置。
続きを表示(約 470 文字)
【請求項2】
前記シート支持部材の前記支持面のうち、前記第1吸引孔よりも前記第2ローラ側の第1領域に開口する第2吸引孔が形成され、前記第2吸引孔は負圧源に接続され前記第1シートを吸引する、請求項1に記載の吸収体製造装置。
【請求項3】
前記シート支持部材の前記支持面のうち、前記支持面に支持される前記第1シートの側縁に重なり又は隣接する第2領域に開口する第3吸引孔が形成され、前記第3吸引孔は負圧源に接続され前記第1シートの前記側縁近傍部分を吸引する、請求項1に記載の吸収体製造装置。
【請求項4】
前記接着剤塗布装置は、前記供給装置の前記散布口と前記案内ローラとの間に配置され、第1シートの前記一方主面に前記接着剤を塗布する、請求項1ないし3のいずれか一つに記載の吸収体製造装置。
【請求項5】
前記接着剤塗布装置は、前記供給装置の前記散布口と前記案内ローラとの間から離れて配置され、前記第2シートの前記一方主面に前記接着剤を塗布する、請求項1ないし3のいずれか一つに記載の吸収体製造装置。
発明の詳細な説明
【技術分野】
【0001】
本発明は、吸収体製造装置に関し、詳しくは、吸収性物品に用いる吸収体を製造する技術に関する。
続きを表示(約 1,300 文字)
【背景技術】
【0002】
使い捨ておむつ、使い捨てパンツ、生理用ナプキン、失禁パッド等の吸収性物品に、液体を吸収し保持することが可能な粉粒状の吸収性物質を含む吸収体が用いられている。
【0003】
例えば、図4は、このような吸収体を製造するために用いる吸収体製造装置101の概略構成を示す略図であり、図5は吸収体製造装置101の要部拡大図である。図4及び図5に示すように、吸収体製造装置101は、搬送装置が第1シート201を斜め下方に搬送し、第1シート201の一方主面に、吸収性物質を含む粉粒体を、粉粒体供給装置40の散布口48cから散布した後、第2シート202を第1シート201に重ねる。第2シート202は、第1シート201に重ねる前に、接着剤塗布装置82によって接着が塗布される。第1シート201と第2シート202とが接着され、第1シート201と第2シート202との間に粉粒体が挟まれた吸収体を、圧接装置70の一対のローラ72,72の間を通過して厚み方向に圧縮される。
【0004】
搬送装置は、通気性を有するコンベアベルト118aが循環し、コンベアベルト118aを介して第1シート201を吸引するように構成されている。すなわち、粉粒体供給装置40の散布口48cに、コンベアベルト118aを介して対向するように、吸引装置50の吸引口51aが配置され、吸引ポンプ52の駆動によって吸引口51aの周囲の空気が吸引される。これによって、第1シート201及び粉粒体が吸引される。
【0005】
粉粒体供給装置40は、ホッパー42に貯蔵された粉粒体が調整装置44を通り、散布口48cに向かって連続的に落下し、粉粒体が散布口48cまで落下する落下経路を開閉部材122cが横断して散布口48cを塞ぐことによって、散布口48cからの粉粒体の供給を、間欠的に停止するように構成されている。
【先行技術文献】
【特許文献】
【0006】
国際公開第2017/131025号
【発明の概要】
【発明が解決しようとする課題】
【0007】
このような吸収体製造装置を用いて吸収体を製造する間に、第1シートに散布された粉粒体の一部が第1シートを通り抜けてコンベアベルトに付着して蓄積するため、製造ラインを停止してコンベアベルトを清掃する必要がある。コンベアベルトは複数の部品を組み合わせた複雑な構成であり、清掃に長時間を要するため、製造ラインの停止時間が長くなり、生産効が低下する。
【0008】
また、粉粒体を第1シートの一方主面に、より精度良く所望形状に散布することが望まれているものの、実現が難しい。
【0009】
かかる実情に鑑み、本発明が解決しようとする課題は、製造ラインの停止時間を短縮でき、吸収性物質を含む粉粒体をより精度良く所望形状に散布できる吸収体製造装置を提供することである。
【課題を解決するための手段】
【0010】
本発明は、上記課題を解決するために、以下のように構成した吸収体製造装置を提供する。
(【0011】以降は省略されています)
この特許をJ-PlatPat(特許庁公式サイト)で参照する
関連特許
株式会社瑞光
物品集積装置
24日前
株式会社瑞光
吸収体製造装置
4日前
株式会社瑞光
吸収性物品の製造方法
3か月前
株式会社瑞光
ウェブ接ぎ装置及びウェブ接ぎ方法
14日前
株式会社瑞光
積層連続体の製造装置及び製造方法
2か月前
個人
短下肢装具
2か月前
個人
前腕誘導装置
2か月前
個人
嚥下鍛錬装置
3か月前
個人
洗井間専家。
6か月前
個人
白内障治療法
7か月前
個人
アイマスク装置
1か月前
個人
汚れ防止シート
14日前
個人
ホバーアイロン
6か月前
個人
胸骨圧迫補助具
1か月前
個人
バッグ式オムツ
3か月前
個人
矯正椅子
4か月前
個人
歯の修復用材料
3か月前
個人
陣痛緩和具
3か月前
個人
歯の保護用シール
4か月前
個人
車椅子持ち上げ器
7か月前
個人
哺乳瓶冷まし容器
2か月前
三生医薬株式会社
錠剤
7か月前
個人
湿布連続貼り機。
1か月前
個人
シャンプー
5か月前
株式会社結心
手袋
7か月前
株式会社八光
剥離吸引管
4か月前
個人
エア誘導コルセット
1か月前
個人
性行為補助具
2か月前
個人
服薬支援装置
6か月前
個人
治療用酸化防御装置
1か月前
株式会社大野
骨壷
3か月前
株式会社ニデック
眼科装置
26日前
株式会社ニデック
眼科装置
26日前
株式会社ニデック
眼科装置
3日前
個人
精力増強キット
18日前
株式会社ダリヤ
皮膚化粧料
7か月前
続きを見る
他の特許を見る