TOP
|
特許
|
意匠
|
商標
特許ウォッチ
Twitter
他の特許を見る
公開番号
2025154101
公報種別
公開特許公報(A)
公開日
2025-10-10
出願番号
2024056913
出願日
2024-03-29
発明の名称
眼科装置
出願人
株式会社ニデック
代理人
主分類
A61B
3/00 20060101AFI20251002BHJP(医学または獣医学;衛生学)
要約
【課題】 検者による操作部の操作性を向上させることができる眼科装置を提供する。
【解決手段】 検者によって操作される二次元方向へスライド可能な操作部と、被検眼を検査するための検眼ユニットと、被検眼に対する検眼ユニットの相対位置を操作部の操作方向に応じて移動させる制御部と、を備え、操作部は、検者に検眼ユニットを移動させる方向を感触的に認識させるための感触部を有する。例えば、操作部の感触部は、検者が、検者と検眼ユニットの位置関係を把握するための基準方向であって、検眼ユニットを移動可能な方向のうちの少なくともいずれかの基準方向に設けられる。
【選択図】図3
特許請求の範囲
【請求項1】
検者によって操作される二次元方向へスライド可能な操作部と、
被検眼を検査するための検眼ユニットと、
前記被検眼に対する前記検眼ユニットの相対位置を前記操作部の操作方向に応じて移動させる制御部と、
を備え、
前記操作部は、前記検者に前記検眼ユニットを移動させる方向を感触的に認識させるための感触部を有する
ことを特徴とする眼科装置。
続きを表示(約 710 文字)
【請求項2】
請求項1の眼科装置において、
前記操作部の前記感触部は、前記検者が、前記検者と前記検眼ユニットの位置関係を把握するための基準方向であって、前記検眼ユニットを移動可能な方向のうちの少なくともいずれかの基準方向に設けられることを特徴とする眼科装置。
【請求項3】
請求項1または2の眼科装置において、
前記操作部の前記感触部は、凹形状または凸形状の少なくともいずれかにより構成されることを特徴とする眼科装置。
【請求項4】
請求項1~3のいずれかの眼科装置において、
前記操作部の前記感触部と、前記感触部とは異なる部分と、は材質の異なる部材によって構成されることを特徴とする眼科装置。
【請求項5】
請求項1~4のいずれかの眼科装置において、
前記操作部の前記感触部は、前記被検眼に対して前記検眼ユニットを近付ける前方向を含む、少なくとも1箇所に設けられることを特徴とする眼科装置。
【請求項6】
請求項5の眼科装置において、
前記操作部の前記感触部は、前記前方向、および、左右方向と後方向を含む、少なくとも4箇所に設けられることを特徴とする眼科装置。
【請求項7】
請求項1~6のいずれかの眼科装置において、
前記操作部は、
任意の方向へ傾倒可能に支持される操作桿と、
前記操作桿の外周を取り囲んで配置され前記二次元方向へスライド可能に支持される環状部材と、
を有し、
前記操作部の前記感触部は、前記環状部材に設けられることを特徴とする眼科装置。
発明の詳細な説明
【技術分野】
【0001】
本開示は、被検眼を検査するための眼科装置に関する。
続きを表示(約 2,000 文字)
【背景技術】
【0002】
被検眼を検査するための種々の眼科装置(例えば、眼屈折力測定装置、角膜曲率測定装置、眼圧測定装置、眼底カメラ、OCT装置、レーザ走査型検眼装置(SLO)等)が知られている。多くの眼科装置による被検眼の検査は、被検眼と検眼ユニットの間の相対位置が適正位置に調整された状態で実行される必要がある。
【先行技術文献】
【特許文献】
【0003】
特開2006-130227号公報
【発明の概要】
【発明が解決しようとする課題】
【0004】
しかしながら、従来の眼科装置では、検者による操作部の操作性が十分とは言えなかった。例えば、検者が被検眼を検査する際、検者は被検眼の前眼部観察画像が表示されたモニタや、被検者と眼科装置の間の距離を直接的に見ながら、手元の操作部を操作してアライメントすることが多い。また、例えば、眼科装置を暗室や準暗室で使用する際には、操作部を目視することが難しい。また、例えば、眼科装置を設置する検査室等において、眼科装置の側面が壁に沿って配置されていると、検者は眼科装置の正面に座りづらい等の理由により、眼科装置を側方から操作する場合も有り得る。例えば、これらのような状況においては、検者が操作部を操作しづらく、眼科装置を意図しない方向へ移動させてしまう可能性があった。
【0005】
本開示は、従来の問題点に鑑み、検者による操作部の操作性を向上させることができる眼科装置を提供することを技術課題とする。
【課題を解決するための手段】
【0006】
本開示における典型的な実施形態が提供する眼科装置は、検者によって操作される二次元方向へスライド可能な操作部と、被検眼を検査するための検眼ユニットと、前記被検眼に対する前記検眼ユニットの相対位置を前記操作部の操作方向に応じて移動させる制御部と、を備え、前記操作部は、前記検者に前記検眼ユニットを移動させる方向を感触的に認識させるための感触部を有することを特徴とする。
【図面の簡単な説明】
【0007】
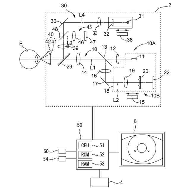
眼科装置1の外観を示す右側面図である。
眼科装置1の光学系および制御系を示す図である。
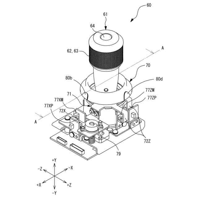
操作ユニット60を右斜め後方から見た斜視図である。
図3におけるA-A線矢視方向断面図である。
第1操作部61を、図4に示す状態から+X方向に傾倒させた状態を示す図である。
第2操作部70における感触部80および非感触部81の一例である。
第2操作部70における感触部80を凹形状とする一例である。
第2操作部70における感触部80を凹凸形状とする一例である。
【発明を実施するための形態】
【0008】
<概要>
本開示で例示する技術は、被検眼の検査(例えば、被検眼の撮影、被検眼の眼特性の測定、被検眼の観察(手術または治療のための観察等を含む)等)を実行するための種々の眼科装置に適用できる。例えば、被検眼の撮影を行う眼科装置として、OCT装置、レーザ走査型検眼装置(SLO)、眼底カメラ、隅角撮影装置、および、角膜内皮細胞撮影装置(CEM)等が挙げられる。被検眼の眼特性の測定を行う眼科装置として、眼屈折力測定装置、角膜形状測定装置、眼軸長測定装置、および、眼圧測定装置等が挙げられる。また、被検眼を観察しながら被検眼の組織の手術または治療を行うための光凝固装置、ヤグレーザ手術装置、スリットランプ等の眼科装置に、本開示で例示する技術を採用してもよい。
【0009】
本開示で例示する眼科装置は、検眼ユニット、駆動部、操作部、操作検出ユニット、制御部、等を備える。検眼ユニット(例えば、検眼ユニット2)は、被検眼を検査するために用いられる。駆動部(例えば、駆動部4)は、被検眼に対する検眼ユニットの相対位置を移動させる。操作部(例えば、操作ユニット60)は、検者によって操作される。操作検出ユニットは、操作部の操作を検出する。制御部は、検眼ユニットの微動と粗動を実行する。なお、前述のように、微動とは、被検眼と検眼ユニットの間の相対位置を細かく調整するために、検眼ユニットを粗動時よりも小さく(またはゆっくり)移動させることである。粗動とは、被検眼と検眼ユニットの間の相対位置をおおまかに調整するために、検眼ユニットを微動時よりも大きく(または速く)移動させることである。
【0010】
操作部は、検者によって操作される二次元方向へスライド可能な操作部である。操作部は、検眼ユニットを微動させるための第1操作部(例えば、第1操作部61)と、検眼ユニットを粗動させるための第2操作部(例えば、第2操作部70)と、を有してもよい。
(【0011】以降は省略されています)
この特許をJ-PlatPat(特許庁公式サイト)で参照する
関連特許
株式会社ニデック
眼科装置
26日前
株式会社ニデック
眼科装置
3日前
株式会社ニデック
眼科装置
26日前
株式会社ニデック
非接触眼圧測定装置
3日前
株式会社ニデック
眼検査システムおよび眼検査プログラム
3日前
株式会社ニデック
眼科画像処理プログラムおよび眼科画像処理装置
3日前
株式会社ニデック
眼鏡レンズ測定装置および眼鏡レンズ測定プログラム
3日前
株式会社ニデック
OCT画像処理プログラムおよびOCT画像処理装置
3日前
株式会社ニデック
非接触眼圧測定装置、アライメント方法およびプログラム
10日前
株式会社ニデック
眼鏡レンズ加工装置及び眼鏡レンズ加工装置の制御プログラム
3日前
個人
短下肢装具
2か月前
個人
前腕誘導装置
2か月前
個人
嚥下鍛錬装置
3か月前
個人
胸骨圧迫補助具
1か月前
個人
アイマスク装置
1か月前
個人
ホバーアイロン
6か月前
個人
歯の修復用材料
3か月前
個人
バッグ式オムツ
3か月前
個人
矯正椅子
4か月前
個人
汚れ防止シート
14日前
個人
哺乳瓶冷まし容器
2か月前
個人
歯の保護用シール
4か月前
個人
陣痛緩和具
3か月前
個人
湿布連続貼り機。
1か月前
個人
シャンプー
5か月前
個人
性行為補助具
2か月前
個人
エア誘導コルセット
1か月前
個人
治療用酸化防御装置
1か月前
株式会社大野
骨壷
3か月前
株式会社八光
剥離吸引管
4か月前
個人
精力増強キット
18日前
株式会社ニデック
眼科装置
3日前
個人
形見の製造方法
3か月前
株式会社松風
口腔用組成物
3か月前
株式会社ニデック
眼科装置
26日前
株式会社ニデック
検眼装置
3か月前
続きを見る
他の特許を見る