TOP
|
特許
|
意匠
|
商標
特許ウォッチ
Twitter
他の特許を見る
公開番号
2025150833
公報種別
公開特許公報(A)
公開日
2025-10-09
出願番号
2024051960
出願日
2024-03-27
発明の名称
双極型蓄電池用バイプレート、双極型蓄電池
出願人
古河電池株式会社
代理人
個人
,
個人
,
個人
主分類
H01M
10/18 20060101AFI20251002BHJP(基本的電気素子)
要約
【課題】基板の貫通孔に配置された導通体の両端面を、基板の両面に配置された正極集電板および負極集電板と接触させて、抵抗溶接などの方法で結合することにより作製される双極型蓄電池用バイプレートとして、より簡単な構造で、基板の貫通孔を介した液絡を防止することができるものを提供する。
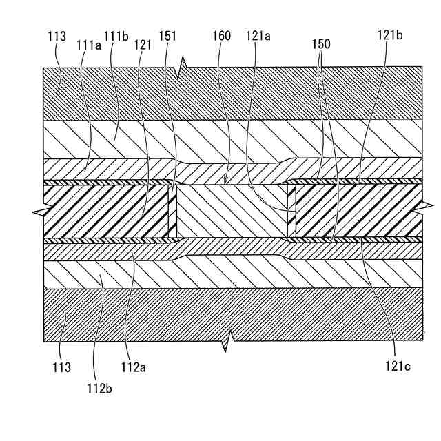
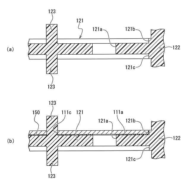
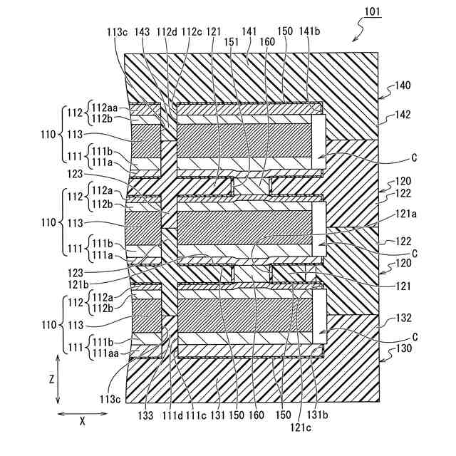
【解決手段】基板121の一面に一方のセル部材110を構成する正極集電板111aが配置され、他面に他方のセル部材110を構成する負極集電板112aが配置され、基板121は、厚さ方向に延びる柱状の貫通孔121aを有し、貫通孔121aに柱状の導通体160が配置され、導通体160は、導通体160の外周面と貫通孔121aの内周面との間に全周に亘って配置された接着剤151により、貫通孔121aに固定され、導通体160の両端面が、それぞれ正極集電板111aおよび負極集電板112aと接合されている。
【選択図】図2
特許請求の範囲
【請求項1】
双極型蓄電池を構成する、隣り合う二つのセル部材の一方と他方との間に配置される基板を有し、
前記基板の一面に、一方の前記セル部材を構成する正極集電板が接着剤により固定され、前記基板の他面に、他方の前記セル部材を構成する負極集電板が接着剤により固定され、
前記基板は、厚さ方向に延びる柱状の貫通孔を有し、
前記貫通孔に柱状の導通体が配置され、
前記導通体は、当該導通体の外周面と前記貫通孔の内周面との間に全周に亘って配置された接着剤により、前記貫通孔に固定され、
前記導通体の両端面が、それぞれ前記正極集電板および前記負極集電板と接合されている双極型蓄電池用バイプレート。
続きを表示(約 110 文字)
【請求項2】
前記正極集電板または前記負極集電板が鉛または鉛合金である請求項1記載の双極型蓄電池用バイプレート。
【請求項3】
請求項1または2に記載の双極型蓄電池用バイプレートを有する双極型蓄電池。
発明の詳細な説明
【技術分野】
【0001】
本発明は、双極型蓄電池用バイプレート、双極型蓄電池に関する。
続きを表示(約 2,000 文字)
【背景技術】
【0002】
近年、太陽光や風力等の自然エネルギを利用した発電設備が増えている。このような発電設備においては、発電量を制御することができないことから、蓄電池を利用して電力負荷の平準化を図るようにしている。すなわち、発電量が消費量よりも多いときには差分を蓄電池に充電する一方、発電量が消費量よりも小さいときには差分を蓄電池から放電するようにしている。上述した蓄電池としては、経済性や安全性等の観点から、鉛蓄電池が多用されている。このような従来の鉛蓄電池としては、例えば、下記特許文献1に記載された双極型鉛蓄電池が知られている。
【0003】
この双極型鉛蓄電池は、額縁形で樹脂製のフレームの内側に、樹脂製の基板が取り付けられている。基板の両面には鉛層が配置されている。基板の一面の鉛層には、正極活物質層が隣接し、他面の鉛層には、負極活物質層が隣接している。また、額縁形で樹脂製のスペーサを有し、その内側には、電解液を含浸させたガラスマットが配設されている。そして、フレームとスペーサとを交互に複数積層し、フレームとスペーサとの間が接着剤等で接着されている。また、基板に設けた貫通孔を介して、基板の両面の鉛層が接続されている。
【0004】
すなわち、特許文献1に記載された双極型鉛蓄電池は、正極用集電板と正極活物質層を有する正極、負極用集電板と負極活物質層を有する負極、および正極と負極との間に存在するセパレータ(ガラスマット)を備え、間隔を開けて積層配置された、複数のセル部材と、複数のセル部材を個別に収容する複数の空間を形成する、複数の空間形成部材と、を有している。
【0005】
また、空間形成部材は、セル部材の正極側および負極側の少なくとも一方を覆う基板と、セル部材の側面を囲う枠体(二極式プレートおよび端部プレートの枠部とスペーサ)と、を含んでいる。さらに、セル部材と空間形成部材の基板とが交互に積層状態で配置され、貫通孔を介して基板両面の鉛層同士が接合されることにより、セル部材同士が直列に電気的に接続され、隣接する枠体の対向面同士が接合されて、双極型鉛蓄電池の本体が形成されている。
【0006】
一方、特許文献2には、一方のセル部材の正極用鉛層と他方のセル部材の負極用鉛層とを、基板の貫通孔内に配置した柱状の導通体を介して導通する構造が記載されている。また、特許文献2には、正極と負極との間の導通を確保しつつ、基板の貫通孔を介して正極側から負極側へと電解液が移動して液絡が生ずることを低減するために、導通体をコアとコアを圧入する貫通孔を備えた導通チップとで構成し、導通チップの外面を基板の貫通孔の内面に密着させることが記載されている。
【先行技術文献】
【特許文献】
【0007】
特許第6124894号公報
特開2023-71050号公報
【発明の概要】
【発明が解決しようとする課題】
【0008】
本発明の課題は、基板の貫通孔に配置された導通体の両端面を、基板の両面に配置された正極集電板および負極集電板と接触させて、抵抗溶接などの方法で結合することにより作製される双極型蓄電池用バイプレートとして、より簡単な構造で、双極型蓄電池とした際に基板の貫通孔を介した液絡を防止することができるものを提供することである。
【課題を解決するための手段】
【0009】
上記課題を解決するための本発明の第一態様は、以下の構成(1)~(4)を有する双極型蓄電池用バイプレートである。
(1)隣り合う二つのセル部材の一方と他方との間に配置される基板を有する。
(2)前記基板の一面に、一方の前記セル部材を構成する正極集電板が接着剤により固定され、前記基板の他面に、他方の前記セル部材を構成する負極集電板が接着剤により固定されている。
(3)前記基板は、厚さ方向に延びる柱状の貫通孔を有し、前記貫通孔に柱状の導通体が配置されている。前記導通体は、当該導通体の外周面と前記貫通孔の内周面との間に全周に亘って配置された接着剤により、前記貫通孔に固定されている。
(4)前記導通体の両端面が、それぞれ前記正極集電板および前記負極集電板と接合されている。
【発明の効果】
【0010】
本発明の双極型蓄電池用バイプレートによれば、双極型蓄電池とした際に、基板の貫通孔を介した液絡を抑制することができる。
よって、本発明によれば、耐久性に優れた双極型蓄電池を提供することが期待できる。
【図面の簡単な説明】
(【0011】以降は省略されています)
この特許をJ-PlatPat(特許庁公式サイト)で参照する
関連特許
古河電池株式会社
双極型蓄電池
8日前
古河電池株式会社
双極型蓄電池
29日前
古河電池株式会社
双極型鉛蓄電池
8日前
古河電池株式会社
双極型蓄電池及び双極型蓄電池の製造方法
29日前
古河電池株式会社
双極型蓄電池用バイプレート、双極型蓄電池
29日前
APB株式会社
蓄電セル
14日前
東ソー株式会社
絶縁電線
16日前
株式会社東芝
端子台
8日前
日新イオン機器株式会社
イオン源
24日前
ローム株式会社
半導体装置
15日前
マクセル株式会社
電源装置
8日前
株式会社GSユアサ
蓄電装置
9日前
株式会社GSユアサ
蓄電装置
1日前
株式会社ホロン
冷陰極電子源
22日前
株式会社GSユアサ
蓄電装置
9日前
トヨタ自動車株式会社
冷却構造
16日前
トヨタ自動車株式会社
蓄電装置
9日前
トヨタ自動車株式会社
バッテリ
14日前
日本特殊陶業株式会社
保持装置
今日
北道電設株式会社
配電具カバー
14日前
日新イオン機器株式会社
基板処理装置
11日前
日本特殊陶業株式会社
保持装置
17日前
トヨタ自動車株式会社
電池パック
21日前
住友電装株式会社
コネクタ
16日前
株式会社トクヤマ
シリコンエッチング液
22日前
トヨタ自動車株式会社
電池パック
21日前
株式会社デンソー
電子装置
11日前
日亜化学工業株式会社
半導体レーザ素子
11日前
トヨタ自動車株式会社
密閉型電池
10日前
ローム株式会社
半導体装置
16日前
甲神電機株式会社
変流器及び零相変流器
2日前
日本無線株式会社
レーダアンテナ
2日前
株式会社トクヤマ
シリコンエッチング液
22日前
日本航空電子工業株式会社
コネクタ
今日
株式会社村田製作所
二次電池
22日前
三協立山株式会社
バッテリーケース
15日前
続きを見る
他の特許を見る