TOP
|
特許
|
意匠
|
商標
特許ウォッチ
Twitter
他の特許を見る
公開番号
2025164589
公報種別
公開特許公報(A)
公開日
2025-10-30
出願番号
2024068655
出願日
2024-04-19
発明の名称
電源装置
出願人
マクセル株式会社
代理人
個人
主分類
H01M
50/244 20210101AFI20251023BHJP(基本的電気素子)
要約
【課題】基板にシート状電池を容易に着脱可能であり、前記基板と前記シート状電池との接続状態が変化しにくい構成を提供する。
【解決手段】基板2にシート状電池4を着脱可能に固定する固定部5は、基板2に接続された固定部本体6と、固定部本体6に設けられて、正極端子露出部412a及び負極端子露出部422aが導電経路3の接続部31に対向するように、基板2に対してシート状電池4を位置決めする位置決め部と、前記位置決め部によって基板2に対してシート状電池4が位置決めされた状態で、シート状電池4の正極端子露出部412a及び負極端子露出部422aが導電経路3の接続部31に接触するように、シート状電池4の外装体44のうち、正極端子露出部412a及び負極端子露出部422aとはシート状電池4の厚み方向の反対側に位置する部分を基板2に向かって押圧可能に、固定部本体6に設けられた押圧部7と、を有する。
【選択図】図2
特許請求の範囲
【請求項1】
基板と、
前記基板の厚み方向の一側の面上に形成された導電経路と、
前記基板の厚み方向の一側に、厚み方向に重なった状態で固定されるシート状電池と、
前記シート状電池を前記基板の前記厚み方向の一側に着脱可能に固定する固定部と、
を備えた電源装置であって、
前記シート状電池は、
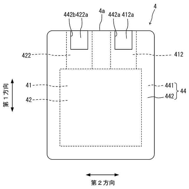
正極端子を有する正極と、
負極端子を有する負極と、
前記正極及び前記負極のそれぞれ一部を収容する外装体と、
を有し、
前記正極端子は、
前記シート状電池における厚み方向の一側及び他側のうち、前記基板と対向する側に、前記外装体から露出している正極端子露出部を有し、
前記負極端子は、
前記シート状電池における厚み方向の一側及び他側のうち、前記基板と対向する側に、前記外装体から露出している負極端子露出部を有し、
前記固定部は、
前記基板に接続された固定部本体と、
前記固定部本体に設けられて、前記正極端子露出部及び前記負極端子露出部が前記導電経路に対向するように、前記基板に対して前記シート状電池を位置決めする位置決め部と、
前記位置決め部によって前記基板に対して前記シート状電池が位置決めされた状態で、前記シート状電池の前記正極端子露出部及び前記負極端子露出部が前記導電経路に接触するように、前記シート状電池の前記外装体のうち、前記正極端子露出部及び前記負極端子露出部とは前記シート状電池の厚み方向の反対側に位置する部分を前記基板に向かって押圧可能に、前記固定部本体に設けられた押圧部と、
を有する、電源装置。
続きを表示(約 730 文字)
【請求項2】
請求項1に記載の電源装置において、
前記位置決め部は、
前記外装体の外縁の一部に接触する接触部を有する、
電源装置。
【請求項3】
請求項2に記載の電源装置において、
前記シート状電池は、
矩形状であり、
前記接触部は、
前記シート状電池の一つの辺に沿って延びていて、前記一つの辺と接触し、
前記接触部の延伸方向の長さは、
前記シート状電池の前記一つの辺の長さと同じである、
電源装置。
【請求項4】
請求項1から3のいずれか一つに記載の電源装置において、
前記押圧部は、
前記固定部本体に対して、前記外装体のうち、前記反対側に位置する部分を前記基板に向かって押圧する押圧位置と、前記外装体から離れた非押圧位置とに移動可能なように設けられている、
電源装置。
【請求項5】
請求項4に記載の電源装置において、
前記固定部は、
前記押圧部を、前記固定部本体に対して前記押圧位置と前記非押圧位置とに移動させる操作部を有する、
電源装置。
【請求項6】
請求項5に記載の電源装置において、
前記操作部は、
前記基板と平行な回転軸を中心として前記固定部本体に対して回転可能で、且つ、前記回転軸の軸方向に見て前記回転軸の径方向に延び、
前記基板に近づく方向に回転することにより、前記押圧部を前記押圧位置に向かって移動させ、前記基板から離れる方向に回転することにより、前記押圧部を前記非押圧位置に向かって移動させる、
電源装置。
発明の詳細な説明
【技術分野】
【0001】
本発明は、電力供給源としてのシート状電池を有する電源装置に関する。
続きを表示(約 2,100 文字)
【背景技術】
【0002】
電力供給源としてのシート状電池を有する電源装置において、前記電源装置の本体部に対して前記シート状電池を固定する方法が知られている。例えば、特許文献1には、基板上に設けられた下側当接部と、前記下側当接部に対向するように設けられた上側当接部と、を有する電池の電極端子の固定機構が開示されている。前記上側当接部は、回転体に取り付けられていて、操作部を操作することによって、前記下側当接部に向かって押し下げることができる。前記上側当接部と前記下側当接部の少なくとも一方には、前記電極端子と電気的に接続される接続部が設けられている。
【0003】
前記固定機構では、電池を基板上に載置し、電池の電極端子を上側当接部と下側当接部との隙間に挿入し、操作部を操作して回転体を回転させ、上側当接部を下側当接部に向かって押し下げることにより、前記電池の前記電極端子を、前記上側当接部と前記下側当接部とによって挟持する。これにより、前記電極端子が前記上側当接部および下側当接部によって挟持されるとともに前記接続部と電気的に接続される。
【先行技術文献】
【特許文献】
【0004】
特開2018-186097号公報
【発明の概要】
【発明が解決しようとする課題】
【0005】
前記特許文献1に開示される固定機構によって、電源装置の基板に対してシート状電池を固定し、且つ、前記基板に形成された導電経路に前記シート状電池の電極を電気的に接続することができる。したがって、前記固定機構を用いることによって、基板に対してシート状電池を容易に取り付けることができる。
【0006】
しかしながら、前記特許文献1の固定機構では、上側当接部及び下側当接部が、電極端子を直接挟持する。したがって、前記固定機構を用いてシート状電池を基板に固定した場合、前記シート状電池に外部からの力が加わった際に、前記基板と前記シート状電池との接続状態が変化する可能性がある。
【0007】
そこで、基板に対してシート状電池を容易に取り付け可能であり、前記シート状電池を取り付けた状態で、前記基板と前記シート状電池との接続状態が変化しにくい構成が求められている。
【0008】
本発明の目的は、基板に対してシート状電池を容易に取り付け可能であり、前記シート状電池を取り付けた状態で、前記基板と前記シート状電池との接続状態が変化しにくい構成を提供することである。
【課題を解決するための手段】
【0009】
本発明の一実施形態に係る電源装置は、基板と、前記基板の厚み方向の一側の面上に形成された導電経路と、前記基板の厚み方向の一側に、厚み方向に重なった状態で固定されるシート状電池と、前記シート状電池を前記基板の前記厚み方向の一側に着脱可能に固定する固定部と、を備えた電源装置である。前記シート状電池は、正極端子を有する正極と、負極端子を有する負極と、前記正極及び前記負極のそれぞれ一部を収容する外装体と、を有する。前記正極端子は、前記シート状電池における厚み方向の一側及び他側のうち、前記基板と対向する側に、前記外装体から露出している正極端子露出部を有する。前記負極端子は、前記シート状電池における厚み方向の一側及び他側のうち、前記基板と対向する側に、前記外装体から露出している負極端子露出部を有する。前記固定部は、前記基板に接続された固定部本体と、前記固定部本体に設けられて、前記正極端子露出部及び前記負極端子露出部が前記導電経路に対向するように、前記基板に対して前記シート状電池を位置決めする位置決め部と、前記位置決め部によって前記基板に対して前記シート状電池が位置決めされた状態で、前記シート状電池の前記正極端子露出部及び前記負極端子露出部が前記導電経路に接触するように、前記シート状電池の前記外装体のうち、前記正極端子露出部及び前記負極端子露出部とは前記シート状電池の厚み方向の反対側に位置する部分を前記基板に向かって押圧可能に、前記固定部本体に設けられた押圧部と、を有する(第1の構成)。
【0010】
これにより、押圧部によって、外装体のうち、正極端子露出部及び負極端子露出部とは前記シート状電池の厚み方向の反対側に位置する部分を、導電経路に向かって押圧することができる。よって、前記シート状電池の前記正極端子露出部及び前記負極端子露出部を、前記導電経路に接触させることができる。したがって、前記導電経路に対して前記シート状電池を電気的に接続することができる。また、前記押圧部の押圧によって、前記基板に対して前記シート状電池を固定することができる。よって、押圧部の動作により、前記基板に前記シート状電池を固定可能で、且つ、前記基板に形成された導電経路と前記シート状電池とを電気的に接続可能な構成を実現できる。
(【0011】以降は省略されています)
この特許をJ-PlatPat(特許庁公式サイト)で参照する
関連特許
マクセル株式会社
電源装置
7日前
マクセル株式会社
扁平形電池
14日前
マクセル株式会社
粘着テープ
2日前
マクセル株式会社
放送信号の処理方法
21日前
マクセル株式会社
空中浮遊映像表示装置
1日前
マクセル株式会社
空中浮遊映像表示システム
10日前
マクセル株式会社
応答出力装置およびシステム
8日前
マクセル株式会社
郵便ポストと郵便物取集システム
27日前
マクセル株式会社
応答出力装置および応答出力システム
2日前
マクセル株式会社
扁平形非水電解液電池およびその製造方法
28日前
マクセル株式会社
樹脂発泡糸の製造方法及びラム押出成形機
1日前
マクセル株式会社
放送システム、放送受信装置、放送局装置および放送方法
13日前
マクセル株式会社
表示制御方法
23日前
マクセル株式会社
表示制御方法
20日前
マクセル株式会社
情報処理装置
20日前
マクセル株式会社
伝送波の処理方法
22日前
マクセル株式会社
ヘッドライト装置
23日前
マクセル株式会社
印刷用メタルマスク
13日前
マクセル株式会社
画像読み上げシステム、装置、および方法、ならびに応答出力システム
23日前
マクセル株式会社
空間浮遊映像表示装置
23日前
マクセル株式会社
コンテンツ保護処理方法
23日前
マクセル株式会社
コンテンツ保護処理方法
23日前
マクセル株式会社
アプリケーション起動方法
1か月前
マクセル株式会社
アプリケーション起動方法
15日前
マクセル株式会社
空間浮遊映像表示システム
1か月前
マクセル株式会社
デジタル放送変調波の処理方法
23日前
マクセル株式会社
情報表示装置およびその表示方法
23日前
マクセル株式会社
ヘッドマウントディスプレイ装置
23日前
マクセル株式会社
軽度認知障害スクリーニング方法、該方法を伴うコンピュータプログラム及びスクリーニング装置
27日前
マクセル株式会社
ICモジュール、並びに、このICモジュールを備えるインレット、非接触ICカード、RFIDタグ
1か月前
マクセル株式会社
近赤外用結像レンズ系、カメラモジュール、車載システム、移動体
20日前
マクセル株式会社
連携通報システム、携帯型通信装置、及び携帯型通信装置における連携通報方法
15日前
マクセル株式会社
電磁ノイズ抑制シート及びその製造方法、並びに電磁ノイズ抑制シートを用いたケーブル
13日前
APB株式会社
蓄電セル
13日前
東ソー株式会社
絶縁電線
15日前
個人
フレキシブル電気化学素子
27日前
続きを見る
他の特許を見る